Главная Юзердоски Каталог Трекер NSFW Настройки

Конец света

Ответить в тред Ответить в тред
Check this out!
<<
Назад | Вниз | Каталог | Обновить | Автообновление | 385 92 199
Самопальных капсюлей тред. Аноним 23/12/14 Втр 20:01:25 134256 1
2754Кб, 2592x1944
2592x1944
Ни для кого не секрет, что при большом пиздеце самой ценной вещью будут не крупы, не консервы, не бензин, не винты с аниме, но огнестрелы, при помощи которых можно будет отжимать у других все перечисленное ранее. Собрать хуйню со стволом и примитивным УСМом на один-два выстрела не столь сложно, коль руки не из жопы выросли, а вот с патронами намного труднее. Идею из Метро-2033 о патронах в качестве валюты можно считать вполне состоятельной.

Можно отлить из попавшего под руку свинца пулю -- не вопрос, так делали солдаты и два века назад, причём даже на поле боя. Выдолбить гильзу -- допустим. Порох из селитры на говне и угля -- очень с натяжкой, но можно, допустим.

С капсюлем все намного хуже. Мало того, что само устройство капсюля, если судить по схемам широко распространенных, достаточно сложно, так стоит вопрос и об изготовление высокоактивных веществ вроде гремучей ртути.

Никаких "простогениальных" идей у господ с выживача нет по этой теме? Неужели можно только покупать заранее уже готовые капсюли и ждать того черного дня, когда их запас иссякнет?
Аноним 23/12/14 Втр 20:48:29 134257 2
31Кб, 640x248
640x248
16Кб, 443x332
443x332
49Кб, 543x419
543x419
125Кб, 747x720
747x720
Аноним 23/12/14 Втр 20:57:20 134258 3
Можно сделать из чиркашей со спичечных коробков два кружка и между ними поместить порошок из спичечных головок, смешанный с фосфором с тех же чиркашей. Получится примитивный пистон-капсюль.

В условиях пост-апокалипсиса сойдет, может быть.
Аноним 23/12/14 Втр 21:31:59 134261 4
гугли гремучую ртуть
Аноним 23/12/14 Втр 23:05:04 134269 5
>>134261

Лол, а не слишком ли хардкор для полевых условий? Ртуть хуй знает, где искать, а уж для проведения с ней каких-либо работ вообще лаба нужна и эквип.
Аноним 23/12/14 Втр 23:07:49 134271 6
Аноним 25/12/14 Чтв 04:26:20 134312 7
>>134256
>Ни для кого не секрет, что при большом пиздеце самой ценной вещью будут не крупы, не консервы, не бензин, не винты с аниме, но огнестрелы, при помощи которых можно будет отжимать у других все перечисленное ранее.

>Ни для кого не секрет
Для меня - секрет. Всегда думал что важнее всего знания-умения и яйца.

>С капсюлем все намного хуже.
Я же говорю: знания-умения.
Открываем ютуб и смотрим:
http://www.youtube.com/watch?v=8gYPdNAp9Q0
Всё уже придумано.

Аноним 25/12/14 Чтв 04:27:16 134313 8
>>134256
>Неужели можно только покупать заранее уже готовые капсюли и ждать того черного дня, когда их запас иссякнет?
Спички спасут отца русской оружейной мысли.
Аноним 25/12/14 Чтв 04:30:45 134314 9
>>134258
Да.
Об этом я и писалтред не читал -сразу отвечал >>134312
Причем, американский анон пишет:
Primer reliability was not great. I found that it often worked but sometimes failed to ignite.
Вроде бы не оче, но с другой стороны у всяких там кремнёвых замков тоже высокий процент осечек.
И далее он продолжает:
Other people have used the ‘strike anywere’ tips from matches as priming compound but my goal here was a ‘matchbook only’ round. Perhaps scraping the red-phosphorous from the strips would improve reliability.
http://www.ammochannel.com/matchbook-38-special/
То есть достаточно добавить в смсь с головки спички порошок с чиркаша и процент осечек снизится.
Аноним 25/12/14 Чтв 13:27:02 134341 10
>>134256
>гремучей ртути
Гремучая спичка, завернутая в жесть от тактической пивной банки.
А вот гильзу хуй сделаешь, поэтому только многоразовые латунные и беречь.
Аноним 25/12/14 Чтв 13:28:29 134342 11
>>134341
>Гремучая спичка
Алсо, ну и само собой только чп использовать, бездымный от спички может не завестись нормально.
Аноним 25/12/14 Чтв 13:32:35 134343 12
>>134256
>при большом пиздеце самой ценной вещью будут
В зависимости от БП эти вещи будут разными.
Зомбиапокалипсис - 98% людей вымерло, ресурсов овердохуя, никакого дефицита не будет.
Применение ОМП - 20-50% людей вымерло, ресурсы разъебаны или заражены, все будет в дефиците.
Итд.
Аноним 25/12/14 Чтв 16:33:09 134355 13
>>134342
>ну и само собой только чп использовать, бездымный от спички может не завестись нормально.
Почему?
Температура воспламенения бездымных порохов равна 180-200(C
http://www.hunter.ru/bullet/bull3.html

В спичке температура пламени 750—850 °C вики

>и само собой только чп использовать, бездымный
Бездымного просто не будет, а на кухне его сварить не получится.

>>134343
>ресурсов овердохуя, никакого дефицита не будет.
Ну это смотря чего именно.
Жрат закончится через несколько лет - даже консервы придут в негодность - влажность, перепады температур и жесть начинает ржаветь.
Всякие сушеные макароны-мука тожебудет сожраат крысами или плесенью. Снова режим хранения - влажность и температура.

На всякие подземные -мерзлотные хранилища Росрезерва расчитывать не стоит, если не имеешь информации где что находится.
А на обычных складах. оптовых базах после того как отключится электричество и тепло - морозильники нагреются(летом) мясо сгниет, просто холодильники летом нагреются, зимой остынут, летом нагреются-зимо оснынут и все сотни консервов через пару циклов заморозки-оттаивания и сотню циклов выпадения росы тоже придут в негодность
Аноним 25/12/14 Чтв 20:04:49 134364 14
>>134355
>Почему?
Потому, что я не диванный кукаретик и теориев не знаю. Но для бездымного используют мощные каплюли жевело которые фактически подрывают бездымный порох, а не зажигают как центробой. Центробой бездымный уже хуево заводит - в центробой досыпают чутка чп от которого уже и загорается бездымный.
Аноним 25/12/14 Чтв 20:13:48 134366 15
>>134355
>ресурсов овердохуя, никакого дефицита не будет.
>Ну это смотря чего именно.
Ничего. При вымирании 98% населения, оставшегося запаса всего - жратвы, одежды, оружия, итд хватит на всю жизнь оставшихся 2%.
Тушняк с макаронами можно схоронить пару камазов, да и заняться с/х.

А вот при ядерном БП будет голодная больная орда бывших менеджеров, жрущих все как саранча. А ядерная зима не даст заняться с/х лет хуй знает сколько - от 1 до бесконечности.
Аноним 25/12/14 Чтв 21:12:53 134370 16
>>134366
>А вот при ядерном БП будет голодная больная орда бывших менеджеров
Лол, откуда?
Аноним 25/12/14 Чтв 21:42:19 134373 17
Итак,мы все же решили что капсюль будет заменять селитра из спичечных головок закрученная в бумажечку,так?
Аноним 25/12/14 Чтв 22:08:51 134375 18
Нет, не так.
Как насчёт электрозапала с пьезой от зажигалки вместо "классического" усм. Вроде должно быть охуенно!
Если не взлетит, можно батарейкой и нитью накаливания поджигать капсюли с алюминиевым порохом, которые, в свою очередь, будут полноценно поджигать дымный порох.

Видел годную статью про электрозапал на йоба- винтовке, да не сохранил.
Аноним 25/12/14 Чтв 22:27:54 134376 19
>>134370
>Лол, откуда?
Из офисов.
Аноним 25/12/14 Чтв 22:34:16 134377 20
>>134376
Офисы у нас уже защищены от ударной волны, проникающей радиации и радиоактивного заражения?
Аноним 25/12/14 Чтв 22:35:35 134378 21
>>134375
У тебя часто пъезоэлементы доживали до конца газа в зажигалке? У меня они обычно ломались прежде.
Во-вторых охуенно не будет, погугли проблемы осоводов связанные с тамошним электрозапалом.
Аноним 26/12/14 Птн 00:40:23 134384 22
>>134377
Не, не защищены. Но выживших будет дохуя, т.к. бомбить будут не офисы и спальные районы, а инфраструктуру, заводы, ГЭС, военные части, склады резерва, итд. Где ничего такого нет бомбить не будут, ибо сами передохнут.
Не ну от ДС конечно только поле шлака останется, но вот мухосрански имеют все шансы сохранить 50%+ жителей, а где нет заводов и вояк то все 100%.
Аноним 26/12/14 Птн 03:56:28 134386 23
>>134364
>в центробой досыпают чутка чп от которого уже и загорается бездымный.
>я не диванный кукаретик
А "сера" от спичек это что? Это и есть сорт оф чп.
Как в капсюле(когда добавляешь) загорается чп и передает огонь на бездымный, так и в самопальном капсюле - порох на сонове бертолетовой соли подожжет бездымный.
Возьми и запили капсюль с "серой" от спичек, как показано на видео http://www.youtube.com/watch?v=8gYPdNAp9Q0

И потому уже утверждай что ты не кукаректик.

>>134366
>При вымирании 98% населения, оставшегося запаса всего - жратвы, одежды, оружия, итд хватит на всю жизнь оставшихся 2%.
На первые несколько лет - потмо тушенка проржавеет, макароны пожре плесень.

>А вот при ядерном БП будет голодная больная орда бывших менеджеров, жрущих все как саранча
Орда как в Ленинграде во время блокады - ну там голодные бунты и погромы? Было?
Или как в Индии в 19 веке ?
Или как на Поволжье в 30-е?
От голода орда не образуется - голод он вообще не способствует резким действиям. Попробуй пару дней не поесть - расскажешь про ощущения.

>ядерная зима не даст заняться с/х
Да не будет никакой ядерной зимы - это страшилка из 20 века .

>>134373
>заменять селитра из спичечных головок
В спичесных головках нет селитры. В спичечных головках бертолетова соль.

>закрученная в бумажечку
Не в бумажечку, а в чиркашь с боку коробка. И в порошок с головки нужно добавить порошка, нашкрябанного с чиркаша.

>>134375
>Как насчёт электрозапала с пьезой от зажигалки вместо "классического" усм. Вроде должно быть охуенно!
Никак. Не будет.

>>134377
>Офисы у нас уже защищены от ударной волны, проникающей радиации и радиоактивного заражения?
По офисам кто-то будет шмалять бомбами?

Аноним 26/12/14 Птн 03:58:19 134387 24
>>134378
>погугли проблемы осоводов связанные с тамошним электрозапалом
Я чиста диванно порассуждаю.
Первая проблема - на проводе(или как его там -кароч откуда искра бьет) осядет нагар после первого-второго выстрела.

Аноним 26/12/14 Птн 09:30:08 134395 25
>>134378
Погуглил. Часть проблем связана с плохим контактом, но большинство - низкое качество и анальная отгороженность самого патрона.

>оса не стреляет!
>ничто не сравнится с надежностью кустарно изготовленных патронов с капсюлями из гремучей ртути
Аноним 26/12/14 Птн 09:37:00 134396 26
Аноним 26/12/14 Птн 10:34:24 134405 27
>>134384>>134386
Далеко офисы от инфраструктуры находятся? Вот.
>но вот мухосрански имеют все шансы сохранить 50%+ жителей, а где нет заводов и вояк то все 100%.
Ты понимаешь что это попросту невозможная ситуация? Нет городов без военных частей или градообразующих предприятий. Это уже глухие деревни или максимум пгт с мизерным населением.
Аноним 26/12/14 Птн 14:52:23 134417 28
>>134405
Че вот. Радиус полного поражения 1км. Сильного 1-2,5 км. Среднего 2,5-5км. Слабого 5-15 км.
Т.е. за 2,5км и дальше от эпицентра будет довольно много выживших. За 5км очень много выживших. Заводы и прочая херня стоят как правило на окраинах или вообще на отшибе.
Аноним 26/12/14 Птн 14:54:55 134418 29
>>134386
>не кукаректик
>просмотр видосика с ютубика.
Ололо, я сваливаю. Охотник с 12 летним стажем.
Аноним 26/12/14 Птн 20:09:10 134425 30
>>134386
>А "сера" от спичек это что? Это и есть сорт оф чп.
>В спичесных головках нет селитры. В спичечных головках бертолетова соль.
ЧП это смесь калийной селитры, угля и серы. Энергетика гораздо выше чем у бертолетки, которая в потребных для заряжания патрона количествах еще и опасна. Для безопасности в спичечных головках бертолетка смешана с толчёным стеклом, что ещё понижает мощность. Короче, на спичках только пугач можно сделать.
>голод он вообще не способствует резким действиям. Попробуй пару дней не поесть - расскажешь про ощущения.
На третий день обостряются чувства, особенно на запах жратвы и женщин, лол. На седьмой день желание действовать начинает становиться сильнее сознания, так что ну его нафиг, я забил. А ещё жарко всё время.
Аноним 27/12/14 Суб 02:33:45 134435 31
>>134418
>>134418
>я сваливаю.
Давно бы так.

>Охотник с 12 летним стажем.
Тебя спрашивали про стаж? Ну и чего ты лезешь с ним? 12 лет, 13 лет - ты кукаретик.

%и не смей появляться в этом треде%
Аноним 27/12/14 Суб 02:42:11 134437 32
>>134425
>которая в потребных для заряжания патрона количествах еще и опасна.
Почему опасна?
Почему у него http://www.youtube.com/watch?v=8gYPdNAp9Q0 всё безопасно, а у тебя опасно?
Это раз.
И два: где я предлагал использовать "серу" для снаряжения патрона? Я писал про:
>>134386
>Как в капсюле(когда добавляешь) загорается чп и передает огонь на бездымный, так и в самопальном капсюле - порох на основе бертолетовой соли подожжет бездымный.

>На третий день обостряются чувства, особенно на запах жратвы и женщин, лол. На седьмой день желание действовать начинает становиться сильнее сознания, так что ну его нафиг, я забил. А ещё жарко всё время.
Сам придумал или прочитал где?


Аноним 27/12/14 Суб 02:52:13 134438 33
>>134405
>Нет городов без военных частей или градообразующих предприятий.
А ты тот еще столкирист.
Да кому нужны эти твои воинске части?
Ты понимаешь что у США этих зарядов всего 10к(или даже меньше) и если они начнут истреблять все воинские части - размером от роты и все заводы -то у них тупо не хватит бомб даже на Москву.

Как написал анон >>134417
>Радиус полного поражения 1км.
Грубо говоря 1 кв. км. , а площадь старой Москвы 1080 кв. км, площадь Питера 1439 кв.км
Аноним 27/12/14 Суб 02:55:14 134439 34
>>134438
>Грубо говоря 1 кв. км.
Упс, 4 кв. км, грубо, даже 3,1415926535 кв. км
Аноним 27/12/14 Суб 19:17:04 134488 35
>>134438

А что это за волшебный "радиус полного поражения", а? Пример Хиросимы со сраными 10 килотоннами какбэ намекает. А ещё есть радиоактивные осадки.
Аноним 27/12/14 Суб 19:28:27 134490 36
Аноним 27/12/14 Суб 21:26:30 134499 37
159Кб, 779x536
779x536
Опаскаем натуральный хлопок в азотную кислоту, просушиваем - ВУАЛЯ - Нитроцеллюлоза, самый что ни на есть отличный бездымный порох.


Разбираем детскую безопасную хлопушку с блестками, в ней идет толстая нитка, за которую дергают, продета сквозь картонный круг и залита несколькими каплями смеси на основе бертолетовой соли или серы с красным фосфором, в общем от резкого движения детонирует). Пистоны от пугача тоже подойдут, смесь одна и та же.

Капсюли:
винтовочный - выбиваем стреляный, на наковаленке с помощью тонкого штыря выравниваем вмятину, капаем внутрь спиртовой раствор вышеупомянутого состава и ждешь пока спирт испарится, стараясь не заляпать стенки, чтобы не БОМБАНУЛО, когда будешь ставить капсюль в гильзу. Ведь ты же не на столько тупой, что засыпал порох ДО капсюля?

Типа Жевело - выбиваем, развальцовываем, вытаскиваем наковаленку, вытаскиваем чашечку, выравниваем вмятину от бойка, вместо чашечки тупо кладем пистон (если не подходит, восстанавливаем по типу винтовочного), аккуратно собираем обратно.

Сука я разбогатею на этом во время большого пиздеца
Аноним 27/12/14 Суб 21:50:18 134501 38
190Кб, 936x897
936x897
Аноним 27/12/14 Суб 23:04:22 134510 39
>>134499
Ты уже на первой стоне заебёшься и попытаешься застрелиться.
Аноним 28/12/14 Вск 01:00:27 134526 40
>>134499
А вот хуй тебе, а не бездымный порох - ты с рецептом сильно объебался + там еще много тонкостей.

Где вы собрались гильзы и капсюли в нормальном состоянии брать, вышивальщики хуевы?
Аноним 28/12/14 Вск 06:21:01 134533 41
>>134526
В каком нахуй месте я объебался?
пропустил пункт промывки в воде, просто пост сожрала вакаба и перепечатывал.
Конечно в идеале смесь серной и азотной, но у нас вроде пиздец, поэтому хоть эту достать. Все. Бахать будут даже опилки после обработки, но все упирается в качество. Поэтому чистый натуральный хлопок будет идеалом.
Аноним 28/12/14 Вск 06:30:53 134534 42
>>134510
Я делал для пневмача разрывные патроны 4.5мм. Как на основе 0,68гр "шмелей", так и полностью с "0", из подходяшей по диаметру латунной трубки от антенны. От 30 минут на 1 пулю.
Аноним 29/12/14 Пнд 06:17:35 134595 43
>>134533
>В каком нахуй месте я объебался?
начиная отсюда :
>>134499
> Опаскаем натуральный хлопок в азотную кислоту, просушиваем - ВУАЛЯ - Нитроцеллюлоза, самый что ни на есть отличный бездымный порох.

Гугли кордит, баллистит и не считай себя умнее чем Менделеев или Дьюара или Абеля.
Ты так только нитроцеллюлозу получишь(да и то не факт), а не бездымный порох.

Аноны, вы кароч, этого >>134499
не слушайте - послушаете его без пальцев и глаз останетесь.
Аноним 29/12/14 Пнд 07:25:46 134597 44
Нитроцеллюлоза сгодится для изготовления мин-ловушек от мародеров. Она взрывается в 4 раза сильнее черного пороха. Даже снаряды морских орудий начала 20 века начинялись нитроцеллюлозой.
Аноним 29/12/14 Пнд 08:30:31 134600 45
>>134597
>Нитроцеллюлоза сгодится для изготовления мин-ловушек от мародеров.
Сгодится, только не эта >>134499
>Опаскаем натуральный хлопок в азотную кислоту,

Такая нитроцеллюлоза будет миной -ловушкой для анона.

Еще раз настоятельно советую почитать хотя-бы статьи из вики про баллистит, кордит и прочие бездымные.
И задать себе вопрос: "Почему Шёйнбейн открыл нитроцеллюлозу в 1846 году, а первые бездымные пороза появились: кордит - в 1889, французский порох в 1884 году?"
Что помешало мутить порох в 1846 году?
Аноним 29/12/14 Пнд 08:31:36 134601 46
>>134597
> Даже снаряды морских орудий начала 20 века начинялись нитроцеллюлозой.
Нет.
Они начинялись бездымным порохом на ОСНОВЕ нитроцеллюлозы. А это две большие разницы.
Аноним 29/12/14 Пнд 08:33:42 134602 47
Онаны, еще раз настоятельно рекомундую не поднимать эту тему - вы молодые, шутливые, у вас два глаза и десять пальцев на руках. Хотите славу Кутузова или Нельсона? А может слава Бориса Ельцина не дает покоя?
Если уж горит порох делать - делайте дымный - он хотя бы сам по себе не взрывается.
Аноним 29/12/14 Пнд 09:13:16 134604 48
>>134602
Да-да. Ты хочешь оставить анона без хорошего пороха чтобы потом спокойно смародерить у него все его добро.

Хороший порох важнее глаза и пяти пальцев.
Аноним 29/12/14 Пнд 09:28:35 134605 49
>>134256
>Неужели можно только покупать заранее уже готовые капсюли и ждать того черного дня, когда их запас иссякнет?

Именно так. Профану синтезировать инициирующие ВВ и поместить их в капсюли практически нереально. Скорее он себе руки оторвет в процесс этого дела.
Аноним 29/12/14 Пнд 10:09:06 134606 50
>>134604
>хорошего пороха
>Хороший порох
А причем тут этот >>134499 пост?

>>134605
>Именно так.
Скажешь тоже. Специально же дал ссылки в этих постах >>134312
>>134386
Капсюли можно и самому пилить из спичек.

>инициирующие ВВ
Они и не нужны.

Аноним 29/12/14 Пнд 16:05:42 134624 51
>>134606
То-то при бп спичечные заводы будут непереставая производить спички, особенно при повышенном расходе. Для всех тех хуёв, что до бп зажигали газ электричеством и для тех, кто будет хуярить капсули из спичек.
Аноним 30/12/14 Втр 10:54:23 134665 52
>>134600
>что помешало

Гугли временные промежутки от открытий до внедрения в массы. Чем дальше от нашего времени, тем дольше, вплоть до десятков (сотен) лет разницы.

Алсо
>Ты так только нитроцеллюлозу получишь(да и то не факт), а не бездымный порох.
Хлопок -> нитроцеллюлоза
Нитроцеллюлоза производится в больших количествах во многих странах мира и находит много различных применений - Бездымный порох
Бездымный порох - Бездымный порох состоит из нитроцеллюлозы (одноосновный). Далее идут двух и трехосновные ВАРИАНТЫ.

Делаем вывод: нитроцеллюлоза - Бездымный порох
Аноним 31/12/14 Срд 04:42:12 134706 53
>>134665
Ну чо ты такой диванный?
К чему эвот это:
>>134665
>временные промежутки от открытий до внедрения в массы.
Я про конкретную причину, а не по развитие общественных отношений и науки, которые там чего-то и кого-то.
А причина проста: нитроклетчатка это не порох. Неустойчива она.

>нитроцеллюлоза - Бездымный порох
Ага , а арбуз=вода.

>Бездымный порох состоит из нитроцеллюлозы (одноосновный)
Дальше что? Ты ящерица? У тебя пальцы-глаза регенирируют? А вот у остальных людей - нет, потому они 40 лет и изворачивались, выдумывая как сделать из нитроклетчатки порох.
Гугли производство пороха и сразу поймешь почему в домашних условиях оче сложно(=невозможно) создать бездымный порох. Нитроцеллюлозу можно сделать, при наличии азотной кислоты и серной кислоты, или при наличии серной кислоты и какого-нибудь нитрата.
Только вот при наличии всего этого безопасней замутить дымный порох .

Аноним 31/12/14 Срд 08:58:40 134712 54
1439Кб, 600x500
600x500
>>134706
>нитроклетчатка это не порох. Неустойчива она.

Ты слышал выражение "На безрыбье и рак - рыба"?

Так то у нас глобальный неебический ПИЗДЕЦ. А ты еще нос смеешь воротить? Может быть и крысятина тебе НЕ МЯСО, не вкусная она?

Создается из подручных материалов (разве что кислота, да) и без сложных технологический процессов - да.
Пригодна для применения в качестве взрывчатого вещества и заменителя пороха - да
Жри и не рыпайся.
Аноним 31/12/14 Срд 16:00:01 134725 55
>>134712
>Пригодна для применения в качестве взрывчатого вещества и заменителя пороха - да
Еще раз:
Начали строить заводы по производству нитроцеллюлозы, однако они очень быстро взрывались. Нитроцеллюлоза была слишком нетерпелива, чтобы дожидаться сражений, а потому в начале 1860-х годов от ее применения пришлось отказаться. Позднее, однако, придумали способ очистки нитроцеллюлозы от примесей, которые вызывали самопроизвольные взрывы, и нитроцеллюлоза стала безопасной в применении.
http://2yxa.ru/erudit/?num=559

Ты знаешь этот способ?
Инициирующие ВВ Аноним 31/12/14 Срд 16:15:30 134726 56
Вот тут кто-то пояснил за самопальные капсюли из спичек и спичечных коробков -- а в качестве детонатора потянет?
Аноним 01/01/15 Чтв 11:30:15 134751 57
В чистом виде нитроцеллюлоза представляет собой нитрованную вату с чрезвычайно высокой скоростью сгорания (благодаря огромной площади поверхности). Для использования в снарядах её слегка смачивали, чтобы она не БОМБАНУЛА от перегрузок при выстреле. Отчего мощность взрыва несколько уменьшалась. Хотя это строго говоря не взрыв (детонация) а просто очень быстрое поверхностное горение. Чем больше площадь поверхности - тем быстрее сгорает порох и тем больше скачок давления. Например, пистолетные пороха имеют размер маковых зерен. Орудийные же пороха изготавливаются в виде длинных толстых макаронин с более медленным и длительным горением.
Аноним 01/01/15 Чтв 13:14:50 134754 58
>>134751
Кстати вспомнился патрон .223ий в котором весь порох был макарониннами длинной во всю гильзу до пули, лол.
01/01/15 Чтв 18:45:27 134760 59
>>134725
еще раз
>Ты слышал выражение "На безрыбье и рак - рыба"?
Аноним 01/01/15 Чтв 20:26:26 134762 60
>>134760
>еще раз
Если у тебя есть способность к регенрации то можешь мутить хоть нитроглицерин.
Аноним 01/01/15 Чтв 20:47:19 134763 61
>>134762
>ох-ах, если у тебя желудок луженый, то в случае Большого Пиздеца можешь жрать тушенку и крыс! А я буду искать Агно де ле персиль и Фуа-гра
Неженка, нитроцеллюлоза ему видите ли не нравится.
Аноним 02/01/15 Птн 00:07:27 134772 62
бля я хуею двачеры собрались дома делать даже не патроны а ПОРОХ. Похуй где вы найдете азотку достаточной чистоты и концентрации похуй где вы достанете хлопок. Вы блядь как на вашей пиротехнической кухне собираетеь поддерживать условия реакции нитрирования. Это толко в вики и у Жулверна все легко хуйнул в азотную дымящуюся вату и ждещ результата. У вас выход будет ноль целых хуй десятых. Это бомбанет еще до того как вы снарядите патрон. Там дохулион тонкостей о которых вы нигде не прочтете кроме специализированной литературы которую вам ни в одной из библиотек не выдадут.
Ладно похуй проебав литр азотки и мешок ваты вы получили 100 грамм чего то что можно использовать в патронах вы забили это дерьмо в гилзу вставили в дедушкин гладкоствол нажали на курок и лишили пол ебла потому что даже близко не представляете сколько вашего говна туда надо было снаряжать. Даже после сотни экспериментов у вас не получится обеспечить одинаковый навес порхоа в каждом патроне. Порох у вас будет разного качества в зависимости от партии что ставит крест на идентичности баллистики. Для дробовика конечно похуй но при таком раскладе хороший лук будет точнее вашего дермоогнестрела.
А с капсулей из недобетофоса я вообще хуею. либо они у вас бомбонут от любова удара либо не бомбанут в принципе. Как вы будете править гильзы ведь они придут в негодность после пары сотен выстрелов вашим дермопорхом. про то что эти партоны будут отсасывать с причмоком по ВСЕМ ПАРАМЕТРАМ у любых даже не серийных а самодельных патронов из промышленных материалов я промолчу. Вы стол угробите через сотю выстрелов. вы как хотите а я в первые пару ней бп сделаю все чтобы раздобыть пару цинлков винтовочных патронов и хотя бы мосинку. А потом когда пижмет пойду искать уцелевшие патронные заводы и буду сдавать за боеприпасы амоний авкамулятроы провода батарейки и соль. (а кто не понял как из етого можно сделать патон сам виоват)
Аноним 02/01/15 Птн 14:27:56 134781 63
>>134772
нихуя как пацан правду матку жгет, я хочу от этого долбаеба детей.

Давай свой вариант предложи, долбоебик.

>не ну а чо, сяду и умру, неча и жить тада
Не принимается
Аноним 02/01/15 Птн 16:20:07 134784 64
>>134256
электроподжиг
прифигачиваешь электрошок, двойную гильзу с нитью накаливая и типо того
Аноним 02/01/15 Птн 16:22:30 134785 65
>>134772
селитра, уголь, сера ёпт
Аноним 02/01/15 Птн 16:27:04 134786 66
а вообще вполне реально комбинировать электроподжиг с ВВ в капсюле.
Аноним 02/01/15 Птн 22:46:27 134796 67
>>134781
я же там написал. В самом начале постараюсь достать столько чтобы на первое время хватило. а потом если будит сильно надо пойду на уцелевший завод и буду собирать материалы и сдавать их за патроны
Аноним 03/01/15 Суб 22:34:24 134847 68
>>134796
>добывать ресурсы, обменивать на изделия...
чтото мне ето напоминает
Аноним 05/01/15 Пнд 16:47:56 134923 69
>>134796
ты мне напомнил одного дурачка, который на полном серьезе собирался выживать по следующему плану:
-Ну вот кароч большой пиздец, ага? Ну вояки они же тупые, да, командование же уничтожено ударами, а они сидят на оружии, а жрать им нечего. Ну и ищо они же баяца будут что их поубивают, кароч будут сидеть на своих военных базах и чястях. Ну я такой ночью пойду в город, наберу там тушенки и пойду к воякам у них на оружие выменяю
-Что мешает воякам тупо пристрелить тебя на подходе и забрать тушняк. А затем пойти добывать что им нужно самим, у них оружие УЖЕ есть.
-Ну этож ваяки они трусливые, а я меняться пришел.


Он еще потом на полном серьезе, дибилушка, собирался рейдить города с пулеметом на перевес, как с самым эффективным оружием в БП.

Ну так и вот. Почитай для начала рассказ "Добро пожаловать в АД" ( http://zbroya.info/ru/blog/38260_dobro-pozhalovat-v-ad/ ) основанный на самых реальных событиях об реальном БП (реальный фоллач, только без радиации, зомби и хайтека) в условиях одного конкретного города.

Там пойти "меняться" в паре кварталов от дома, было ТАКИМ РИСКОМ, что проще было или терпеть или колхозить самому, чем нарваться на пулю снайпера или быть убитым за более целые ботинки.
Аноним 05/01/15 Пнд 21:20:38 134931 70
>>134923

>Там пойти "меняться" в паре кварталов от дома, было ТАКИМ РИСКОМ, что проще было или терпеть или колхозить самому, чем нарваться на пулю снайпера или быть убитым за более целые ботинки.

И поэтому автор пишет, что "купите коробку зажигалок и меняйтесь"? Жопой читаете, милсударь!
И уж про изготовление огнестрела из говна и палок там точно нет ни слова.
Аноним 06/01/15 Втр 04:25:22 134946 71
>>134923
кусок этого произведения случайно уже висит но это БП другой природы и там задачи будут поважнее самодельного БК. В случае БП возможны разные ситуации если повезет стволы и протоны из моб. запросов могут доже раздавать даром. Меняться не единственный способ достать то что тебе нужно. Но осатанелые способы еще более опасны. В случае БП особенно в первое время продукты питания длительного хранения последнее что я буду отдавать на обмен. Сигареты, алкоголь, карманные рации вполне можно запасти еще в мирное время. А потом без проблем обменять по курсу одна сигарета один патрон. Ящик сигарет вполне себе один цинк. А главное что если менять не оптом а пачку на магазин. это не вызовет вопросов даже у командиров. С водкой посложнее и это наверняка будет нелегально но желание русского человека выпить особенно в такой тяжелой ситуации пересилит все запреты. А рации можно менять вполне официально и сразу у командиров ибо на войне связь это главное. И естественно я не буду переть на кпп размахивая блоком сигарет в одной руке и бутылкой водки в другой. Как минимум все будет спрятано а я принесу толок попробовать. А потом элементарный обмен мне дают патроны а я даю координаты тайника. И это толко если я этим людям буду сильно доверять. Если не буду пишу покупателей получше. А если будет сильно надо придумаю более заковыристую схему. Например я прихожу на кпп и говорю что у меня есть 10 комплектов раций которые которые сейчас прячит мой друг ( пр него естественно говорить не буду ) есл меня схатят и попробуют выяснит где то окажется что я сам этого не знаю так как мы договаривались с другом он мне скажет это не познее 1 часа после того как я уйду на кпп. Правдо меня это вряд ли спасет но тогда хотя бы тем кто меня хватил лут не доставания. И еше раз говорю я буду занимания такой фигней максимум в первую неделю после БП пока люби еще не поняли что все писец и можно и даже нужно воровать и убивать. Потом лучше вообще не появятся рядом с очагами цивилизайии пару месяцев а лучше год
Аноним 06/01/15 Втр 16:45:47 134967 72
>>134931
жопой читаешь ты. Предлагал меняться он на месте. Возле дома или на своей улице со своими соседями, в общем со "СВОИМИ", которые патрулировали их улицу.
ИДТИ на место специализированного обмена на другой улице (я снова пишу эти слова, пиздоглазый ты мудак) было ОЧЕНЬ ОПАСНО из-за снайперов и грабителей и ходил он туда всего пару раз за очень редкими вещами 9лекарствами)

И там им прямо сказано "учитесь ремонтировать и ИЗГОТАВЛИВАТЬ всякое, мой сосед умел делать топливо для ламп и он не голодал."

Ебаный стыд, у аутистов обострение чтоли? Не могут мозгами шевелить и ищут там прямые строчки а потом возникают что "учитесь делать капсюли из спичек и порох из нитроцеллюлозы" ТАМ НЕ ГОВОРИЛОСЬ.
Аноним 06/01/15 Втр 19:48:21 134977 73
>>134967
КАК ДЕЛАТЬ ТОПЛИВО ДЛЯ ЛАМП? И КАКИХ ЛАМП? ЭЛЕКТРИЧЕСКИХ? ЕГО СОСЕД ДЕЛАЛ ТОПЛИВО ДЛЯ ЭЛЕКТРИЧЕСКИХ ЛАМП ПРИ ПОМОЩИ БЕНЗОГЕНЕРАТОРА?
Аноним 07/01/15 Срд 22:08:45 135024 74
>>134977
http://youtu.be/2QA66EzN6Pg
Переработка шин методом пиролиза
Готовой товарной продукцией предприятия является:

1.топливо печное бытовое пиролизное
2.углерод технический
3.металлокорд сдаётся на вторичную переработку.
Результат переработки автошин и отходов резины

Пиролизное топливо применяется в качестве жидкого топлива для бытовых и стационарных отопительных котлов, является сырьем для производства пластификаторов, нефраса и т.д..
Технический углерод, содержащий 92-99% чистого углерода, в технологическом процессе направляется на облагораживание, в результате чего получаются углерод-углеродные материалы для металлургии и/или электропроводный техуглерод. Диапазон потребления: углерод-углеродные материалы (УУМ) для металлургии, изготовление искусственных алмазов, канцтоваров, щёток для электродвигателей, химических источников тока, электропроводящих экранов шахтных кабелей, как наполнитель для изготовления резиносодержащих изделий и т.д.
Металлолом (металлокорд очищенный) - высоколегированная сталь. по своим показателям соответствует ГОСТ 1058-99 (М-40) массовая доля содержания серы- 0.6%

Аноним 08/01/15 Чтв 07:16:22 135037 75
>>134967

Все золото лично я поменял на боеприпасы. Иногда мы могли использовать деньги, чтобы купить некоторые вещи, но эти случаи были редки, а цены непомерны. Например, банка фасоли стоила $30-40. Местная валюта рухнула быстро, проще говоря, мы постоянно обменивались. У меня было много алкоголя, и я его обменивал без проблем. Потребление алкоголя выросло более чем в 10 раз, нежели обычно. Алкоголь, который может храниться долго - виски (марка не имеет значения), пусть самый дешевый, это очень хороший товар для обмена. Теперь, наверное, для бартера лучше запасаться сигаретами, зажигалками и батарейками, потому что они занимают меньше места.
Кроме боеприпасов, продовольствия, средств гигиены, аккумуляторов, батареек, обратите внимание на простые вещи для обмена - ножи, зажигалки, мыло, кремни. Хитрость заключается в том, чтобы хранить максимум возможного по занимаемой площади и по деньгам. Потом, вы разберетесь, что наиболее востребовано. Нужны вещи небольшие и неприметные, например, хорошо иметь генератор, но лучше иметь 1000 зажигалок BIC. Генератор при эксплуатации шумит и привлекает внимание, а 1000 зажигалок недороги, занимают мало места, и их всегда можно обменять на что-нибудь. Я никогда ничего не обменивал у себя дома и никогда в большом количестве.

Пока в школе каникулы, тебе домашнее задание. 1) Посчитай, сколько раз здесь упомянуто слово "меняться"; 2) Посчитай, сколько раз здесь сказано "не дома". Со сделанной домашкой приходи. Дальше учить тебя читать будем.
Аноним 09/01/15 Птн 21:23:08 135119 76
35Кб, 400x545
400x545
>>135024
нахуй ты отвечаешь идиоту?

>>135037
Ебаный. Ты. Аутист.
>Я никогда ничего не обменивал у себя дома и никогда в большом количестве. Только очень немногие люди (мои соседи) знали о том, как много у меня хранилось в доме.

НУ и по делу
> 3. Какие знания Вам пригодились в этот период?

>Вы должны себе представить, что это фактически был возврат в каменный век! Например, у меня был газовый баллон. Но для отопления и приготовления пищи я его не использовал, это было слишком дорого! Я приспособил его для заправки зажигалок - зажигалки были бесценны! Кто-нибудь приносил мне пустую зажигалку, я ее заряжал и брал за это банку консервов или свечи.

Сам я по профессии фельдшер и в этих условиях мои знания были моим капиталом. В такое время знания и навыки, например, умение чинить вещи, ценятся дороже золота. Вещи и запасы закончатся, это неизбежно, а ваши знания и навыки - это возможность заработать себе на пропитание.

Я хочу сказать - учись чинить вещи, обувь или людей. Мой сосед, например, умел делать керосин для ламп. Он - никогда не голодал.

Дибила кусок, представь что ситуация в которую ты попал продлится не год и не два. Рано или поздно ты потратишь все свои боеприпасы, которые купил за золото, а добра чтобы МЕНЯТЬСЯ может больше и не быть. Как внезапно и самих патронов (представим совсем уж влажный глобальный пиздец)
А так как ты строил из себя аутиста в интернете, детектировал школьников, упорно не желал понимать о чем тебе говорят, не обладал ни малейшими ЗНАНИЯМИ о которых говорил мужик в тексте и не в курсе с какой стороны подойти к верстаку и как к примеру развальцевать\завальцевать капсюль чтобы он не бомбанул у тебя в руках, ты сдохнешь. Туда тебе и дорога.
Аноним 10/01/15 Суб 09:52:08 135143 77
>>135119
ТЫ САМ ДЕБИЛ ПОНЯЛ ГАНДОНА КУСОК
ЕСЛИ БУДЕТ ТАКОЙ ПИЗДЕЦ НЕ ГОД И НЕ ДВА ТО ЭТО ЗНАЧИТ ВСЕМ ПИЗДЕЦ И НАВЫКИ УЖЕ НЕ ПОМОГУТ ТЫ ПРАВ ТОЛЬКО В ТОМ , ЧТО ТВОЯ МАТЬ ШЛЮХА ЕБАНАЯ НАВЫКИ НУЖНЫ И МОГУТ ПРИГОДИТЬСЯ НО КУДА КАК ЛУЧШЕ К ЭТИМ НАВЫКАМ ИМЕТЬ ЧЕМОДАН НАПИЛЬНИКОВ И МЕШОК ПАТРОНОВ ПОЙМИ ЭТО ФЕЛЬДШЕР МАМИН
>>135024
ИМЕННО ПОТОМУ ЧТО Я ЗНАЮ СПОСОБЫ ПОЛУЧЕНИЯ ЖИДКИХ ТОПЛИВ БЕЗ НЕФТИ Я ИНТЕРЕСУЮСЬ КАК ОН ЭТО ДЕЛАЛ ЭТИ ПРОЦЕССЫ ВСЕ ГРЯЗНЫЕ СЛОЖНЫЕ И ТРУДОЕМКИЕ НЕ ДЛЯ КВАРТИРЫ КРОМЕ, РАЗВЕ ЧТО, САМОГОНОВАРЕНИЯ
Аноним 10/01/15 Суб 15:26:26 135164 78
>Тред про капсюли и способы поджига ВВ в патроне
>Скатился в обсуждение двигателей постБП
>Нормальная тема но ленивые хуи не могут создать себе отдельный тред
Аноним 10/01/15 Суб 17:56:50 135172 79
>>135119
>ты сдохнешь

Не поверишь, но ты тоже сдохнешь. Только у меня, когда я сдохну, будут все пальцы на руках.
Аноним 10/01/15 Суб 18:01:34 135173 80
>>135119
>Рано или поздно ты потратишь все свои боеприпасы, которые купил за золото

А, воен планирует выживать не год и не два, ежедневно стреляя?
Аноним 10/01/15 Суб 18:03:30 135174 81
>>135164
>нормальная тема, но ленивые хуи не могут создать себе отдельную
>В соседнем треде тема о полезных умениях, обсуждение той же пасты, и основной вопрос- как намутить топливо после БП
не ленивые, просто тупые.
Аноним 10/01/15 Суб 20:20:56 135180 82
>>135174
Ну и как делать топливо, умник? Над этим умные дяди думают, а тут двачевский петушок все решил.
Аноним 10/01/15 Суб 20:59:54 135185 83
>>135180
>топливо
>сложный технологический процесс с кучей агрегатов
>тред про капсюли
>наструганные ножиком спичечные головки
Ну может про головки я и утрирую,но это уже другая тема.
ПАЛЕХЧИ обиженный техник.В этом треде любители кузмичения а не нефтяники.
Аноним 11/01/15 Вск 12:58:22 135212 84
>>135185
Давай ЖМВ поутрируем? Охуенная ведь тема.
Аноним 12/01/15 Пнд 15:43:07 135310 85
>>134256
А что если в качестве метательного вещества использовать газовоздушную смесь: напукал в трубу, закрыл, поджег - выстрелил. в качестве источника газа - биореактор, генераторный газ, и, такой-то стимпанк, - электролизер. А зажигать можно пьезой.
Аноним 12/01/15 Пнд 15:44:51 135311 86
Аноним 12/01/15 Пнд 15:46:02 135312 87
>>135311
Ну или картофельная пушка,если по русски.Гугли,а также пили переходники на мелкий калибр.И не забудь о вентиляции камеры сгорания.Это тоже важный момент.
Аноним 12/01/15 Пнд 15:57:55 135313 88
>>135311
>>135312
Ребят, я знаю, что это и как это. Я вынес это как один из вариантов ПУЛЯЛА при ограниченных ресурсах. Такая штука из пластмассовой трубки может расхуярить картошиной голову - это показалось мне достойным аргументом и я посмел потратить Ваше время и донести сей интересный факт до уважаемой общественности.
Аноним 12/01/15 Пнд 18:36:14 135322 89
>>135313
Голову расхуярить картошиной можно и просто рукой бросив. На грамм бензина надо 15 граммов воздуха, а это 12 литров объём камеры. Но проблема даже не в этом - скорость горения газовоздушной смеси всего несколько десятков метров в секунду, разве что картошку и пулять.
Аноним 13/01/15 Втр 15:16:29 135370 90
Аноним 13/01/15 Втр 22:05:06 135384 91
>>135322

Расхуярь себе голову картошиной и сними на камеру. Это будет серьёзный аргумент в твою пользу.
Аноним 14/01/15 Срд 13:58:01 135403 92
>>135180
Вопрос стоит в том, что там об этом говорят целенаправленно, а не мешают в кучу все что есть. Тема тренда- капсули, же. Нет блядь, давайте выживач-чатик устраивать, и пиздеть обо всем и сразу во всех тредах.
Аноним 14/01/15 Срд 15:59:33 135407 93
>>135403
>Капсюли
Очевидносамопочин
Аноним 14/01/15 Срд 16:52:03 135410 94
>>135407
Как нам их выгнать из треда,а?
Аноним 14/01/15 Срд 19:27:58 135415 95
>>135410
Мож пойдем к ним насрем?
Аноним 14/01/15 Срд 20:43:52 135420 96
Аноним 25/01/15 Вск 19:21:40 136004 97
На нулевой говно, ну смотрите, терпилы, что я вам принес:
http://www.youtube.com/watch?v=4sFsM43dLdA
Выше по треду какой-то вафел обсирал мою идею, вот реализация, чего еще надо, блять? Хуяришь дротиками с кураре и заебца.
Аноним 26/01/15 Пнд 01:02:14 136017 98

Я хуею с вас, долбоёбы криворукие. Вы или предлагаете ничего не делать или предлагаете полную хуйню. Очевидно, что скачав и распечатав книжку и дождавшись БП прочитав её, вы нихуя не сможете. Вот какие у вас увлечения кроме Столкира? Ну, там может кто-то радиотехникой занимается или пиротехникой, а может кто-то на врача учится? Понимаете, любое действие, это ремесло, которому учатся всю жизнь. Буду говорить за себя. Я начал своё путь в пиротехнике очень давно. Первые неудачные попытки, первые удачи. Достать реактивы было большой проблемой. Однако, я всё это делал, имея теоретическую базу школьного курса химии. Я много читал и много спрашивал, буквально каждую мелочь я спрашивал у опытных людей на специализированных форумах. Калийку было достать невозможно. Пришлось прибегнуть к реакции синтеза. Начнём с того, что аммиачной селитры десятки тонн на любом складе удобрений, который есть у каждого колхоза. И я не думаю, что кто-то пойдёт мародёрить на склад удобрений. Второй ингредиент это или хлористый калий, которого так же завались на любом складе и любом цветочном магазине. На основе процесса описанного в интернете, я придумал свой собственный, с очень хорошим выходом калийной селитры. Сера, так же очень распространённый химикат. Но, порох можно сделать и без неё, есть заменители. Она там нужна, для стабильности горения. Из всего этого я сделал порох. Но качество было плохим. Я стал думать, в чём же дело. И пришёл к выводу, что процесс который не описывают в большинстве рецептов или указывают как необязательный, на самом деле является обязательным. Грануляция, обязательна. Полученную смесь порошков (кстати, а вы знаете что есть по крайней мере семь каноничных составов пороха для разных целей?) смачивал водой и перетирал до состояния чёрной каши, потом сушил, потом измельчал. Данный порох получался практически заводского качества. Трубки сделанные из него, сгорали с разницей в 0,5 секунды. Потом я освоил технологию изготовления запальных шнуров. Опять же прочитал кучу статей и заебал всех на пиротеке. Первые попытки, первые результаты. На основе данной технологии я разработал свою. Шнуры великолепного качества, которые горят под водой. Прострелов не бывало, горели стабильно. И так далее. Тоже самое с бертолетовой солью. Прочёл много статей, спрашивал опытных товарищей, потом взялся попробовать, сперва немного, потом освоив технологию, сделал сколько надо. Так вот, к чему я эту простыню написал. А к тому, что ПОСЛЕ, надо делать то что умеешь, а учиться надо ДО.
Аноним 26/01/15 Пнд 01:04:45 136018 99
>>135370
Из гильз высыпал порох. Лопаткой колол тротил.
Аноним 26/01/15 Пнд 08:30:12 136030 100
>>136004
Ты дурак? Это игрушка для пиндоских детей. потому что русские сделали бы аналог из чугуневых труб с казенным заряжанием. Уж лучше лук или арбалет из рессоры и то эффективнее будет. Все на что это хуйна годится это на запуск разрывных снарядов (и то ф1 не вытолкнет из за большой массы и не соответствия калибра ) Из нее реально разве что ВОГам 30 мм стрелять от АГС если сам АГС проебал а ленты еще нет. Про самодельные заряды я молчу ну разве что напалм В в картонной оболочке и с воспламенителем из ампулы с серкой и марганцовкой (белый фосфор и рпзного рода пиротехнические говнозапалы не предлагать)
Аноним 26/01/15 Пнд 08:44:20 136031 101
>>136017
Ну как дети малые ей богу. Черный порох он гранулированный сделал. Из самодельной калиевой селитры. И бертолетову соль получил. (Как получал кстати? Из хлора (который разложения хлорида аммиак которого у тебя дохуя образовалось ) и непогашенной извести? А потом серной заливал чтобы из бертоливой в бертолетову переделать? НУ а как же еще откуда у тебя платиновые электроды возмутится) Лучше что нибудь полезное сделал. Например аммонал с детонатором из пероксида ацетона или азотную кислоту из той же калийки и выпарной серной кислоты.(Кстати толуола много в растворителях и его моно выделить от туда при помощи воды.Точную технологию не помню но это можно выяснить на форумах токсикоманов. Собственно толуол и есть прушее вещество.) (надеюсь после этого сообщения меня для разговора товарищ полковник не выдавит )
Аноним 26/01/15 Пнд 09:38:04 136034 102
>>136018
Что за желтый порох, это вообще не опасно делать - то, что он делал? Если, например, я, во сне, найду снаряд может и фугасный и захочу извлечь из него порох и тротил - с какой вероятностью мне что-нибудь оторвет, если я буду действовать так же?
>>136017
Двачую, братишка, только про грануляцию везде расписано, это не ново. Я научился дрочить без картинок, обеими руками, и могу между пяток хуем тыкать - тож кончаю. В БП без интернета дрочить могу теперь.
>>136030
Ну што ты бугуртишь? :3 Знаешь духовые трубки? В определенных кругах проскакивала тема дядька пневмостреломет сделал. Пластиковая труба для этого пригодна. А про русских ты не прав, давно не видел годноты и чтобы это описывали русские. Все больше шокеры из пьзозажигалок. Поколение сменилось, те, кто могут, уже повзрослели.
Аноним 26/01/15 Пнд 11:34:12 136054 103
>>136034
Про грануляцию пишут отдельно, очень часто пишут что достаточно просто смешать порошки и готово. Но такой порох горит очень плохо.
Кончено опасно, то что они делают. Хотя, тротил слабо чувствителен к ударам, за десятки лет любая херня могла произойти. Порох думаю просто от времени такой цвет приобрёл. Нитропорох вообще такой грязно-зелёно-серого цвета. Если вдург приснится снаряд, то лучше не трогай. Там может оказаться гексоген. А вот эта штука очень взрывоопасна, а при лежание в земле - особенно. Учитывая что во время войны, всё штамповали лишь бы взорвалось, то иногда в один и тот же тип снарядов, могли класть как гексоген, так и тротил, и хер их разберёшь что там, не вскрывая корпус. Доходило до того, что в лимонки иногда вместо нормальной взрывчатки засыпали дымный порох. А были партии, в которые заряжали вообще непонятно что, после взрыва сильно пахло аммиаком. Возможно аммонал или какая-то другая смесь на основе аммиачной селитры. Так что, тут русская рулетка. Повезёт или нет. Если опыта нету, то лучше вообще даже из земли не доставать.
>>136031
Делал самым прозаичным методом из отбеливателя и хлористого калия. Всё делал на улице естественно. Получилось ничего так. Я из неё делал зажигательно-разрывные патроны для мурки. Да, толуола в 646м по моему более 50%.
Аноним 21/02/15 Суб 22:25:44 137123 104
42Кб, 807x605
807x605
53Кб, 807x605
807x605
56Кб, 807x605
807x605
22Кб, 807x403
807x403
Аноны, я вам проверенный рецепт принес.
Аккуратно извлеченный стреляный капсюль разбирается. Это достаточно просто сделать, подобрав стальную выколотку(1 на рис, я использовал затупленное шило), подходящую по диаметру к отверстию в капсюле и, оперев широкой частью на что либо твердое (2 на рис, я использовал раздвинутые на нужное расстояние губы плоскогубцев мультитула), аккуратно выбиваем чашечку и наковаленку (изображены синим и зеленым). Необходимо сделать это, не изменив геометрию капсюля, иначе он просто не войдет в гильзу.

На чашечке для состава необходимо заровнять выбоину от бойка. Сделать это можно, осторожно простучав выколоткой чашечку на мягкой древесине.

Теперь изготовление ударного состава. Я выбрал наш довоенный состав - бертолетовой соли — 55,41%, антимония — 34,30% и серы—10,29%, количество на 1 капсюль—28 мг.
Получение бертолетовой соли гуглится менее, чем за минуту, скажу лишь, что получить ее можно даже из отбеливателя. Проще всего - из спичек. Залить кипятком, дать постоять часок, потом слить, добавить чуток ацетона для растворения клея - на глаз, жидкость должна чуток побелеть. И выпаривать, доставая образующиеся кристаллы. С одного блока из 10 коробков можно получить около 10 гр бертолетовой соли. Это немного, да. Но она нужна для ударного состава, а потому - нам хватит.

Антимоний - он же сурьма. Искать практически на любом производстве - металлургия, вулканизация резины и тп. Можете попробовать достать ее из соединений. Тоже ничего сложного.

О сере и говорить нечего - производства, фермы, магазины для огородников - ее везде достаточно.

Измельчить серу и сурьму. Смешать с бертолетовой солью во влажном состоянии. Заправить в колпачок. Вставить наковаленку обратно и вернуть колпачок с составом на место. Высушить(!) и герметизировать капелькой лака или воска на отверстие в капсюле. Следите, чтобы герметик не попал на ударный состав. Капсюль готов. Он менее чувствителен, чем капсюля с гремучей ртутью, но не менее рабочий.

Вещал ОП тредов про огород и жизнь в лесу.
Аноним 21/02/15 Суб 22:30:07 137124 105
>>137123
анон, ты охуенен.Но скажи, не будет ли такой капсюль сверх-чуствительный.От любой тряски-терки ,бертолетка ебашит только в путь.Или таки сурьма играет роль стабилизатора?
Аноним 21/02/15 Суб 22:35:40 137125 106
>>137124
таки сурьма и сера - стабилизаторы, да.
Аноним 22/02/15 Вск 04:18:07 137130 107
>>137123
>Вещал ОП тредов про огород и жизнь в лесу.
Анончик, а ты молодчик, болтаешь мало - делаешь много.
А рецептк сам изобрел или подглядел в ссылке http://www.youtube.com/watch?v=8gYPdNAp9Q0 ?
Правда в ссылке состав гораздо проще - обычная порошок из спичечной головки между двумя обрывками терки. На своем сайте он пишет, что для большей надежности можно добавить в порошок с головки покрытие с терка.
Perhaps scraping the red-phosphorous from the strips would improve reliability.
http://www.ammochannel.com/matchbook-38-special/

Тем более в состав спичечной головки входит эта самая бертолетова соль - до 50 процентов и сера(до 4 проц.), а вот срьмы нету.
Аноним 23/02/15 Пнд 09:41:35 137188 108
>>137139
Анончик, ты попробуй соорудить капсюль из спичек, как на видео. У тебя же ружие есть.
Проверь чо -каво.
если надумаешь, то советую не снаряжать патрон - один лишь капсюль, а в гильзу насовать бамаги, чоб стекло и прочие газы от сгоревшего спичечного состава в ствол не попали - оче стволы от этого страдают.
Аноним 23/02/15 Пнд 18:54:59 137201 109
Аноним 23/02/15 Пнд 19:42:06 137203 110
>>137188
хорошо, попробую - результат выложу.
Аноним 11/10/15 Вск 22:52:50 143531 111
>>134378
>У тебя часто пъезоэлементы доживали до конца газа в зажигалке?
Всегда. Не покупай дешевое дерьмо. Пользуюсь одной зажигалкой уже 3 года заправляя её.
Аноним 13/10/15 Втр 09:07:13 143539 112
Большие ПП(П90, например) или мелкие штурмовые винтовки(SIG SG 552, например) - лучшее оружие для БП в городе
Аноним 03/11/15 Втр 01:11:57 143988 113
Аноним 28/11/15 Суб 00:51:03 145068 114
>>143531
Двачую этого, кстати. Пьеза в горелке заливалась супом/глинтвейном/чаем/любой хуитой 100500 раз за 4 года использования и жива до сих пор. А еще есть такая ахуенная штука, как пьезозажигалки для газовых плит, надежные образцы тоже годами живут.
Аноним 01/12/15 Втр 14:31:56 145149 115
25Кб, 422x256
422x256
>>135024
Лол, и как ты себе представляешь видеорелейтед, собранный одиноким кулибиным, в квартире, посреди города, охваченного войной?

Должна быть уменьшенная версия этой хуйни.
http://msd.com.ua/pererabotka-otxodov-proizvodstva/termicheskie-metody-utilizacii-rezinovyx-otxodov/
Вот, в принципе, на пикче общая схема. При том, что ее можно еще и упростить. Измельчительную машину- нахуй, сложное загрузочное устройство- нахуй, компрессор- нахуй, просто трубу в обратку кинуть можно, один хуй в условиях пиздеца нерентабельно будет запускать генератор, что бы питать компрессор, который будет качать газ.

То есть получается, что это герметичный бак, от которого идет охлаждаемая труба в примитивную колонку, сродни тем, что в Чечне и Дагестоне до недавнего времени, чуть не в каждом дворе стояли.

Только у меня вопрос возникает: а почему, если в реакторе создается разряжение, он не подсасывает воздух из трубы, по которой идет газотопливная смесь?
Ну и что такое "циклон" на схеме, и каково его устройство?
маузер 01/12/15 Втр 19:39:48 145151 116
наворочали тему=) сейчас все продается,сходите поищите свои химикаты,посмотрим много ли наковыряете.а при большом П и вовсе обкакаетесь.
Сейчас в свободной продаже разные строительные патроны.холостые и пр кр.запасайтесь.
Аноним 01/12/15 Втр 19:52:11 145152 117
26Кб, 280x328
280x328
>>134256 (OP)
Не вижу ничего сложного. Сделать набор матриц и штамповать из жести консервной.
Только тут руки прямые нужны. А судя по треду, у вас они у вас дефиците.
Аноним 01/12/15 Втр 20:00:45 145154 118
>>134763
Ты нарочно строишь из себя идиота? Ты понимаешь что это нестабильная взрывчатка? Я гарантирую, ты не сможешь остановить себе кровь, если тебе разворотит кисть руки. Китайцы дали ему чёрный порох, пользуйся порохом, не хочу хочу говно жрать. ЧП, гораздо менее технологичен в изготовлении и прощает многие ошибки.
Аноним 01/12/15 Втр 20:03:16 145155 119
>>134754
>весь порох был макарониннами длинной во всю гильзу

Это кордит
Аноним 01/12/15 Втр 20:27:39 145157 120
>>134256 (OP)
кису предлагали ужэ?,
алсо пульки нинужны
Аноним 01/12/15 Втр 20:55:43 145158 121
>>145151
Зачем, когда можно закупить десять коробок капсюлей разных- на всю жизнь хватит. Ну и заодно полтишок гильз латунных.

Алсо, мне вообще не понятно- с чего все решили, что БП может быть таким, что никакого промышленного, даже кустарного производства не сохранится?
Аноним 01/12/15 Втр 21:19:39 145160 122
>>137188
Выбьет бумагу, ты чо. Мы с братом так в детстве баловались, когда к деду понаезжали. В капюлированную гильзу просто пыжей наталкиваешь, и стреляешь. Ставили солдатиков на пень, и по ним стреляли. Метров пять они пролетали точно.
Да хуйня- стволы-то почистить можно. Или, лучше просто потом из каждого по патрону с чернышом отстрелять. Черный порох капсюльное говно нейтрализует.
Аноним 02/12/15 Срд 03:03:40 145163 123
>>134923
>Почитай для начала рассказ "Добро пожаловать в АД"
Обсосан много раз, лол.
Алсо, меня вот всегда интересовало:
>В моем случае нашелся человек, которому был нужен автомобильный аккумулятор для его радио, а у него было оружие, и я поменял аккумулятор на два ружья.
Не знаю как там в Боснии, но в Россиюшке на 1000 человек 300 автомобилей и всего 30 стволов. Да и в магазинах аккумуляторов как-то поболее, нежели ружей. На порядки. Да и сам этот мужик пишет, что автомобилей брошенных до черта было.
Так какой же дурень будет менять два (два!) ружья на аккумулятор, который можно просто пойти и сдернуть с какой-нибудь машины? Тем более, что без оружия сдохнуть намного проще, чем без радио.
Аноним 02/12/15 Срд 03:45:38 145164 124
>>145160
> капюлированную гильзу
Капсюли заводские или самопальные - из спичечной "серы"?
Заводские, а написано:
>>137188
> попробуй соорудить капсюль из спичек
А в капсюль влезет едва ли спичечная головка .
Аноним 02/12/15 Срд 05:24:55 145165 125
Аноним 02/12/15 Срд 11:09:49 145172 126
31Кб, 600x530
600x530
>>145165
лол
вот за ето выживач лучшая доска эвар
Аноним 04/12/16 Вск 11:17:27 155004 127
Аноним 30/12/16 Птн 01:35:57 155499 128
Аноним 01/01/17 Вск 11:21:39 155529 129
>>155499
Без глаз можно остаться, да и воняет он дымом - всю дичь распугаешь.
Базарю, лучше запилить капсюлей - благо алюминьевой фольги на сто лет припасено, ади спичек тоже
Аноним 01/01/17 Вск 22:12:26 155539 130
>>155529
да я так поъебнул, просто попалось. А так да баночно пивной вариант мне очень даже понравился - просто дешево сердито
Аноним 02/01/17 Пнд 07:10:14 155548 131
>>155539
>да я так поъебнул,
А я сразу смекнул. ;)

Не, на мой взгляд - ни фитильное , ни кремневое оружие это не выход. Надо мутить капсюли, на худой конец дульнозарядку, но капсюльную. Но лучше казнозарядное оружие.
И обязательно под унитарный патрон - вот чего чего, а пустых гильз сейчас на земле на сто лет припасено. А основа казнощарядного оружия именно гильзовый патрон, а не устройство затвора.
Ибо затворы с казеной части изобрели чуть ли в тот же год, в который огнестрельное оружие.
Но так как не имели гильз, то не могли решить проблемы с обтюрацией газов и сноп пламени бил почти в лицо стрелку.
А в нае время пустые гильзы есть везде стоит только внимательно пошукать.
А имея гильзы можно пилить оружие хоть из дерева. Но лучше нормальное - из металла.

Кстати, что подумал, а ведь акоиды можно переоборудовать в помповые ружия, евли/когда закончится бездымный порох и придется пользовать дымный(который быстро засерет автоматику).
Аноним 02/01/17 Пнд 21:05:59 155556 132
>>134256 (OP)
>Идею из Метро-2033 о патронах в качестве валюты можно считать вполне состоятельной
И снова поинтересуюсь - такое когда-нибудь было?
По-моему, никогда. Обменную ценность при ЧС имело всё, включая питьевую воду. Но вот именно валюта? разве что спирт и курево подобием валюты были.
А патроны - да кому они нужны? у нормального человека лежит полсотни патронов на чёрный день, и больше не надо, быстрее или ЧС закончится, или сам пользователь. Если по банкам не херачить, ясен пень. Ужо купить сотню капсюлей - и вопрос решён.
Аноним 02/01/17 Пнд 21:32:30 155557 133
1445583381-0bc7[...].jpeg 124Кб, 724x768
724x768
>>155556
В осадённом Сараево что в ходу было? Алкашка и курево?
Аноним 02/01/17 Пнд 22:52:29 155559 134
>>155557
ХЗ, но прозреваю, что то же, что и у нас в Гражданскую.
Всё и в первую очередь харчи как обменная ценность и куришка-бухашка как квазивалюта.
Хотя вот ещё сало... наверное, тоже сошло бы за квазивалюту.
Аноним 03/01/17 Втр 04:04:29 155561 135

>>155556
>>Идею из Метро-2033
Это идея не из Метро 33, а из фильма Блокпост - там солдаты платили проститутке патронами, но перед тем долго варили их в кастрюльке - дескать "чтоб не струляли".
Епта, в каком году вы родились, если не смотрели этот фильм?

https://www.youtube.com/watch?v=uMAPBXjUKXA
с 23:19 и по
23:39 - нее, лучше патронами
Аноним 03/01/17 Втр 10:43:34 155565 136
>>155561
>варили их в кастрюльке
Такое и про Афган слышать доводилось.
Это, к слову, ещё один довод против патронов как валюты - валюта должна иметь понятные свойства, а патроны, несколько рук прошедшие - да хер их знает, какими они обладают свойствами. Может, сварили их, может, гексогена вместо пороха нахерачили, может, порох высыпали.
Аноним 03/01/17 Втр 18:51:11 155569 137
>>155565
Прост патроны начинают делится на ДОВОЕННЫЕ и САМОДЕЛЬНЫЕ
Аноним 03/01/17 Втр 19:02:19 155570 138
>>155569
И чем они будут отличаться? вот принесли тебе сотню патриков россыпью "мамой клянусь, довоенные" - и что? каковы твои действия?
Аноним 03/01/17 Втр 20:18:54 155571 139
>>134314
> процент осечек снизится.
А процент ложных выстрелов увеличиться.


>>155570
> каковы твои действия?
В рулетку русскую сыграю.

Арбалет.

/тред
Аноним 03/01/17 Втр 20:42:00 155572 140
>>155571
>В рулетку русскую сыграю.
Начинай сейчас.
Аноним 04/01/17 Срд 04:35:27 155574 141
>>155565
> ещё один довод против патронов как валюты
Верно.
Плюс, заметь что общего между ситуацией "патроны-валюта" в Чечне и Агане и чем эти ситуации отичаются от постБП.
Верно: и в Чечне и в Афгане - патровно:
1) Море, просто океанище бездонный
2) Патроны халявные -государство их раздает направо и налево.
А в постБП что?

>>155571
>В рулетку русскую сыграю.
Ты странные - начнешь проверять каждый десятый - у тебя останутся 90 из 100. То етсь ты притащишь олений окорок на рынок поставишь цену "100 патронов", а выручишь всего 90.

>>155571
>Арбалет.
Говно твой арбалет. К нему нужны нормальные стрелы-болты, а без них ты даже в слоан не попадешь. И да, изготовить нормальные стерлы-болты сложнее, чем переснарядить патроны.

>>155571
>ложных выстрелов
Это еще что?
Аноним 04/01/17 Срд 10:32:59 155579 142
>>155574
>что общего между ситуацией "патроны-валюта" в Чечне и Агане и чем эти ситуации отичаются от постБП
В обоих случаях патроны не валюта, а просто обменная ценность, к которой у вояк практически неограниченный и неконтролируемый доступ.
Точно так же можно объявить валютой водку и сигареты, которые солдатам тащили в обмен на патроны.
А вот интересно, что было реальной валютой у афганцев? у нас в Гражданскую на валюту боль-мень походили бумажные деньги и царские золотые монеты, т.е. вещи с определёнными стандартными характеристиками.
Аноним 04/01/17 Срд 15:19:32 155581 143
3185283.jpg 378Кб, 1041x1570
1041x1570
4803811m.jpg 11Кб, 300x225
300x225
>>155569
Что ты, не сможешь отличить новый патрон без следов экстракции, с неповрежденным лаком от трижды реложенной удроченной гильзы с отстреляной пулей?
Аноним 04/01/17 Срд 15:21:38 155582 144
>134312
>134258
Ага, патронные заводы при бп йокнутся, а Череповецкая фабрика ФЭСКО будет рабоать...
Аноним 04/01/17 Срд 22:29:20 155586 145
>>155581
Я, например, вряд ли отличу новый нестреляный патрон от нового нестрелянного снаряженного гексогеном патрона. А таких патронов в Чечне богато снарядили да к бородатым заслали - и нет оснований полагать, что в будущем эту практику забудут.
Аноним 05/01/17 Чтв 03:23:16 155589 146
>>155581
>трижды реложенной
Будет время когда все патроны будут трижды реложеные. Как будешь определять который из них наполнен черным порохом, а который песком?
Смекаешь?
Поддельную монету из золота можно опреелить по весу, по твержости.
Поддельную купюру - по внешнему виду.
Причем в обоих случаях нет нужды безвозвратно повреждать подозритеьный предмет - в случае когда установится что монета-купюра настоящие они не потеряют своей ценности ни на грамм.
А вот с патронами парадокс - настоящие патроны после проверки придут в негодность.
Аноним 05/01/17 Чтв 12:21:39 155592 147
>>155586
Ты между правой картинкой и левой не видишь никакой разницы? У тебя личинусы есть? Позови их и задай вопрос "найди 10 отличий на этих картинках"
>>155589
>Будет время когда все патроны будут трижды реложеные. Как будешь определять который из них наполнен черным порохом, а который песком?
Тогда нахуй иди со своим самокрутом, сами крутить умеем.
Зато вот гильзы в зависимости от повреждений обменять был бы смысл.
>А вот с патронами парадокс - настоящие патроны после проверки придут в негодность.
Возможны варианты. Но патрон однозначно перестанет быть "фабричным нетронутым"

А вообще нас же чисто символическая функция денег интересует? Так двайте сразу же переходить на крышки от кока-колы как фоллаче!
Аноним 05/01/17 Чтв 12:34:30 155594 148
>>155592
>между правой картинкой и левой не видишь никакой разницы?
Ты ебалан? патроны нестреляные, внешний вид и вес одинаковые.
Аноним 05/01/17 Чтв 13:22:12 155595 149
>>155594
>патроны одинаковые по весу
>росея
Аноним 05/01/17 Чтв 13:50:11 155596 150
>>155594
Вам, батенька, к окулисту надо бы.
Аноним 05/01/17 Чтв 14:51:04 155599 151
zbgsasbg.jpg 66Кб, 650x473
650x473
>>155596
Чтобы отличить задроченный переходом из рук в руки нестреляный патрон от задроченного переходом из рук в руки нестреляного?
Аноним 06/01/17 Птн 05:37:06 155625 152
>>155592
>гильзы в зависимости от повреждений обменять был бы смысл.
Кило гильз за буханку хлеба, например.
Аноним 08/01/17 Вск 23:40:16 155745 153
>>155599
Напомнил. Аноны, дайте ссылку на видео, где баба дрочит снарядом от зенитки.
Аноним 09/01/17 Пнд 09:56:07 155753 154
>>155745
однако. подписался.
Аноним 09/01/17 Пнд 16:01:32 155758 155
>>155589
>настоящие патроны после проверки придут в негодность.
Я смотрю понятия квантовой механики применимы и к описанию теории товарообмена в условиях глобальных катастроф. Вот это поворот.
Аноним 09/01/17 Пнд 18:25:42 155763 156
>>155745
в конце, надеюсь, выстреливает?
Аноним 09/01/17 Пнд 19:01:53 155769 157
Кончает сквиртом.
Аноним 11/01/17 Срд 10:32:05 155829 158
>>155758
Решил поумничать?

Аноним 12/01/17 Чтв 23:34:55 155877 159
Ну, он прав. Квантовая механика на макрообъекты распространять не стоит. Не обижай его.
Аноним 13/01/17 Птн 11:47:26 155891 160
Аноны, а фиг ли только капсули? Давайте расширим тему. Обсудим, как дорнировать стволы, как сверлить стволы, чтобы было не совсем криво. Как релоадить патроны в случае бп. Как крафтить пороха.
Аноним 14/01/17 Суб 04:47:51 155913 161
Аноним 14/01/17 Суб 05:44:18 155918 162
>>155891
>. Обсудим, как дорнировать стволы
В лесу, живя в хижине из коры?
А никак.

>>155891
> Как крафтить пороха
Вот это возможно. Кучу-селитряницу можно запилить и в лесу, ссать в нее, кидать кишки от рыбы и всяких мышей, кстати. Известняк тоже не особо редкий минерал(не на Русской равнине, правда, но какое мне дело до Русской равнины?), ну а поташ можно из золы.
Кстати, из-золы же можно и известняк добываать, емнип, в дубовой золе половина массы это карбонат кальция. То есть выщелачиванием отделять поташ, откладать его до времени, а взвесь карбоната кальция лить в селитряницу.

А вот еще такой лайфхак пришел на ум - селитряницу можно сделать в отапливаемом сарае, чтоб процесс селитрения шел круглый год , а не только в теплый сезон.
Правда вонять в этом сарае будет так, что все окрестные медведи сбегутся и будут ломиться.
Аноним 03/04/17 Пнд 11:33:30 158572 163
>>134269
>Ртуть хуй знает, где искать
В аптеке.
>для проведения с ней каких-либо работ вообще лаба нужна и эквип
Нарики мутят винт, делая ртутную амальгамму на собственной кухне без вообще какого-либо эквипа. Но это нарики, а ты можешь подойти к вопросу чуток посерьёзнее и выполнять работу на улице, повязав кусок ткани на еблинский.

А потом я посмотрел на дату поста и охуел
Аноним 03/04/17 Пнд 15:52:45 158577 164
>>155582
Ага, после БП выяснится, что патроны в каждом доме валяются, а вот спички - в одном доме из сотни, ведь это удел избранных, на спички ведь нужна тонна разрешений, надо получить мед справку что ты допушен к пользованию спичками, пройти обучение по безопасному обращению со спичками, купить сейф в котором спички будут храниться и так далее.
продолжаю некропостить
Аноним 05/04/17 Срд 15:34:35 158643 165
>>158572
> А потом я посмотрел на дату поста и охуел

ОП-хуй в треде. Я просто собираюсь лето прожить на улице в силу временной нехватки денежных знаков на жильё в Москве - вот и решил вернуться в раздел, чтобы совет по теме найти.

А гляжу, мой тред, созданный 2,5 года назад всё ещё жив, надо же, лол.
Аноним 08/04/17 Суб 10:51:41 158730 166
>>158577
>а вот спички - в одном доме из сотни
Именно так. Потому что плиту зажешь - есть пъезозажигалка у самой последний бабки, курильщики все зажигалками бутановыми пользуются, а та единственная коробочка, что была припасена чтобы СВЕЧКУ В СЛУЧАЕ ЧАГО зажечь давно отсырела.
Аноним 11/04/17 Втр 12:45:29 158776 167
>>158730
>есть пъезозажигалка у самой последний бабки
Не верю.
Зажигалки только у курильщиков. Видал одного аутиста который обычной зажигалкой для сигарет плиту разжигал. Хвалёные кококо-обосраться-крутые пьезозажигалки для плит на практике ломаются через неделю пользования.
Плит с автоподжигом не особо много, более половины плит по прежнему без него, алсо на случай отключения света один хуй у всех спички припасены.

Мои наблюдения актуальны для мухосранска 500 тыс. населения, в москве там может быть в 2017 на летающих машинах перемещаются, не знаю.
Аноним 11/04/17 Втр 12:46:44 158777 168
>>158730
А вообще иди-ка ты нахуй, зря я написал пост выше, надо было стереть и нахуй послать тебя за траленк и попросить пруфов того что спички встречаются реже ружей.
Аноним 11/04/17 Втр 21:40:29 158780 169
>>158776
Братюнь, ты с поди через dial-up с нами?
Сам плиты разжигал зажигалкой когда были старые плиты без поджига. Только идиот использует вонючие спички, требующие две руки для поджига вместо зажигалки, которая позволяет ставить сковородку одной рукой, а другой крутить газ и зажигать огонь.
Аноним 11/04/17 Втр 21:56:47 158781 170
>>158776
>Плит с автоподжигом не особо много, более половины плит по прежнему без него
У нас (небогатая семья в мухосрани) плита с пъезоподжигом была еще 20 лет назад, какой-то рашкофирмы даже, сменилась на "новую" тоже с пъезоподжигом.
На каких развалах ты находишь плиты без - я не понимаю.
>алсо на случай отключения света один хуй у всех спички припасены.
Чтобы организовывать сценарий сказки "девочка со спичками" что ли?
>>158777
>А вообще иди-ка ты нахуй, зря я написал пост выше, надо было стереть и нахуй послать тебя за траленк и попросить пруфов того что спички встречаются реже ружей.
Начал прикидывать недвижимость, в которой я бываю и наличие ружей/спичек в них... Что-то счет не в пользу спичек.
>>158780
Ты прост не умеешь одной рукой их зажигать.
А запах...
А уж какие они на вкус...

Аноним 12/04/17 Срд 01:17:25 158782 171
>>158781
>А уж какие они на вкус...
ссука проиграл
но вообще да, может статься и так что счет не в пользу спичек в среднем по больнице
Хочу периодически коробок купить, все забываю постоянно.

третьий анон
Аноним 12/04/17 Срд 15:25:44 158791 172
Аноним 12/04/17 Срд 18:35:41 158795 173
Пользуюсь спичками, проблем не имею. если нет спичек развожу огонь пердаком анона
Аноним 12/04/17 Срд 19:27:11 158798 174
>>158781
>>158780
Масквичи/питерцы, полегче. Я же внятно сказал что живу в городе 500 тыс. И счёт явно не в пользу ружей. На остальное в
>>158781 посте отвечать не буду, каждый останется при своём мнении в любом случае.
> Только идиот использует вонючие спички, требующие две руки для поджига вместо зажигалки, которая позволяет ставить сковородку одной рукой, а другой крутить газ и зажигать огонь.
Чёблядь? Ну давай по частям:
1. Ставить кастрюлю - одна рука
2. Держать зажигалку - вторая
3. Крутить газ - третья
Всё, ничего не забыл?
>Только идиот использует вонючие спички
Вечно орал с друга, который зажигал плиту зажигалкой и смешно отдёргивал руку. А он наверное потирая обожжённый палец, считал меня идиотом, использующим вонючие спички.
>>158782
> не в пользу спичек
Только не забывай, что мы сравниваем не спички с зажигалками, а спички с РУЖЬЯМИ, тему треда вспомни.
>>158791
Ещё один не по теме треда. Ещё раз

Речи о способах добычи огня не шло
Срача зажигалки версус спички не шло
Вопрос по теме треда - что легче найти в городе - новые капсюли или спички для перезарядки старых?
Аноним 12/04/17 Срд 19:42:14 158799 175
>>158798
>Вопрос по теме треда - что легче найти в городе - новые капсюли или спички для перезарядки старых?
спички для перезарядки - CHEK. Везде. Факт. Истина. Очевидность.
Аноним 12/04/17 Срд 19:52:41 158800 176
>>158798
>Только не забывай, что мы сравниваем не спички с зажигалками, а спички с СТВОЛЫ, тему треда вспомни.

Я не забыл.
Аноним 12/04/17 Срд 19:56:43 158801 177
>>158800
> с СТВОЛЫ
Ну ты же понимаешь, что вплетая в разговор ментовки и ормаги, ты автоматически вплетаешь туда и хозмаги и склады с хозтоварами?
>>158799
Что такое СНЕК? Чек? Только картинку с закусками чур не постить.
Аноним 12/04/17 Срд 20:00:00 158802 178
>>158798
Я живу в городе где даже не 50к человек.
>Чёблядь? Ну давай по частям:
>1. Ставить кастрюлю - одна рука
>2. Держать зажигалку - вторая
>3. Крутить газ - третья
>Всё, ничего не забыл?
Ну вы даете.
-поставил чайник
-зажег спичку джвумя руками
-взял коробок глубоко в левую, левой начал открывать газ
-поднес пламя к струе газа правой рукой
Правой рукой считать ведущую, левой - ведомую.
Аноним 12/04/17 Срд 20:03:32 158804 179
>>158802
Ты как сука под чайник коротенькой спичкой так глубоко подлезаешь чтобы не бахало? А на копоть на кастрюлях от спичек как смотришь?
Аноним 12/04/17 Срд 20:09:04 158805 180
>>158801
>Что такое СНЕК?
Скорее он опечатался: check. В значении: слово законченности решения/процесса/утверждения, ненадлежащее дальнейшему сомнению. Распространено у музыкантов, технарей, в инетах.
Аноним 12/04/17 Срд 20:14:59 158806 181
>>158804
Всегда подлезал почему-то.
И под чайник и под большой бидон с бражкой.
Аноним 12/04/17 Срд 20:15:57 158807 182
>>158799
Хоть один рабочий капсуль сделал своими руками?
Аноним 12/04/17 Срд 20:32:27 158809 183
>>158807
Видел чувака на ютубе который сделал.
Аноним 12/04/17 Срд 21:17:51 158811 184
>>158809
А на других сайтах чуваки себе автофелляцию делают, посмотришь - сразу же научишься?
Аноним 12/04/17 Срд 23:17:27 158812 185
>>158804
просто сдвигаешь свой охуенно большой чайник слегка или просто газ на полную и подождать слегка секунду другую и тогда тыкать спичкой.

Абсолютно никаких проблем зажечь спичкой.
А можно сначала зажечь и потом уже ставить чайник. Так или так проблем нет.

> А на копоть на кастрюлях от спичек как смотришь?
и тут я прихуел с сегодняшенго эректората ибаного, Копоть блять от спички на его ибанои эмалированном чайнике с цветочками, вместо того чтобы по православному въебать электрочайничек и не пиздеть тут.
Аноним 12/04/17 Срд 23:30:32 158813 186
>>158811
> посмотришь - сразу же научишься?
Не передёргивай. Для аутофелляции требуется физическая подготовка, для того чтобы запихать говна в капсюль требуется только пара рук и айкью выше семидесяти.
13/04/17 Чтв 18:02:33 158818 187
зачем было создавать тред? разве не очевидно что самому делать капсюли очень сложно, намного проще закупить запас патронов и все. делать самому патроны - манямир и нереально.
тред закрыть, без сажи не отписывать.
Аноним 13/04/17 Чтв 18:37:21 158819 188
>>158818
сдаётся мне что ты подментованый,кочуй отседа
Аноним 13/04/17 Чтв 20:46:13 158821 189
>>158818
>делать самому патроны - манямир и нереально.
Во дела, а я и сотни тысяч самокрутчиков по рашке-то и не знают.
Аноним 14/04/17 Птн 10:52:39 158827 190
>>158818
>делать самому патроны - манямир и нереально.
Ебать дебил. Не, ну если прямо с экстракцией селитры из навоза и добычей серы - то нереально.
Аноним 17/04/17 Пнд 09:21:14 158871 191
>>158827
на ютубе чувак из сена и собственной мочи делал компоненты пороха, так что не пизди
Аноним 17/04/17 Пнд 16:36:31 158888 192
>>158871
старые видосы коди, у него там и нитроглицирин был с приоксилином
Аноним 18/04/17 Втр 19:00:45 158940 193
>>158813
Требуется жить в стране с нормальными спичками, а не говно в капсуль пихать
/w/res/331708.html#335809
Аноним 21/04/17 Птн 14:16:33 159014 194
14889094114050.jpg 298Кб, 1280x948
1280x948
>>158940
>но от удара оно не воспламеняется
Тот (если это был не ты) вобще ёбу дал.
От удара у него спичечные головки не воспламеняются, вообще охуеть.
Аноним 21/04/17 Птн 19:21:54 159018 195
Короче делать самому пули не канает.В одной из книг Метро 2033 говорилось о таких "аферистах"
22/04/17 Суб 01:03:45 159030 196
>>159018
>пули
ой иди нахуй
Аноним 23/04/17 Вск 17:35:56 159087 197
>>158940
Да что ты говоришь
/w/res/299928.html#331789
Аноним 01/05/17 Пнд 03:22:18 159358 198
>>135024
>углерод технический
Он, кстати, горит. И в принципе представляет собой хуевый - из-за высокой серности и зольности - но рабочий заменитель каменного угля.
>>145149
>Лол, и как ты себе представляешь видеорелейтед, собранный одиноким кулибиным, в квартире, посреди города, охваченного войной?
>Должна быть уменьшенная версия этой хуйни.
Достаточно просто. Большая скороварка или стальной бидон (в деревнях такие в ходу), туда всерается труба-змеевик, которая идет во второй бидон. По ней поднимается, остывает и конденсируется во втором сосуде основная фракция. То бишь это вот мазутообразное топливо. Из второго бидона выходит другая труба - в третий бидон поменьше, с водой, типа гидрозатвор. По ней газ, получающийся в процессе, идет под первый бидон и там сгорает.
То есть всего-то нужны три герметичные емкости и несколько труб. Поделка на уровне самогонного аппарата. Вот тебе почти готовая установка
http://samogonoff.com/goods/Samogonnyj-apparat-slavyanka
>>145163
>Так какой же дурень будет менять два (два!) ружья на аккумулятор
Дваждую. Дается мне, он просто какому-то дедку-охотнику бошку проломил, а ружья подрезал.
Аноним 30/07/17 Вск 18:04:12 161621 199
>>134256 (OP)
даже если тебе и повезет заиметь и сохранить у себя огнестрел ты подумал что патронов на всех битардов не хватит? А то что патроны не бесконечны и различается под каждый из видов оружия?

Мне нравится в этом плане пневматика, особенно понравилась модель из метро луч надежды с подствольным насосом. Сам посуди Антош - патроны, их полная автономность от погодных условий и простота в изготовлении. Оружие работающее от воздуха по-сути + куча разных винтовок возможны в приобретении сейчас, если надо помощнее получаешь лицензию.. дискас

Аноним 26/08/17 Суб 05:11:00 162076 200
ДопустимоеИзобр[...].jpg 20Кб, 537x240
537x240
>Порох из селитры на говне и угля
Реально, но убойность будет как на пике

мимоанон из / /
Аноним 04/09/17 Пнд 19:54:04 162148 201
>>161621
Вот купи себе сейчас крюгерку 20к. за 23к сейчас на рыночке даже под 7.62 есть и насос Ну десятка, ну может быть треха. и поэксплуатриуй это чудо. Будешь знать какие у нее подводные камни в этом сценарии.
Аноним 06/09/17 Срд 11:43:12 162171 202
>>161621
>А то что патроны не бесконечны и различается под каждый из видов оружия? Балканские войны, сирийские войны, чеченская, ближневосточные разборки - это то что чисто держится на отстреле/реализации/направлении боеприпасов накопленных на складах за время холодной войны, у всех братьёв и нас, ну и янков канешна.
ТЕБЕ, НАХУЙ, НАКОПЛЕННОЕ НА ОГНЕСТРЕЛЬНОЕ 7,62 × 39 мм или 5,56 × 45 мм ТЕБЕ ПО ГЛАНДЫ НА 100 ЛЕТ ВОЙНЫ ХВАТИТ даже если все земные заводы и мастерские встанут после БП
Аноним 07/09/17 Чтв 20:14:27 162179 203
>>134256 (OP)
Очевидное электровоспламенение.
Аноним 09/09/17 Суб 11:45:56 162201 204
>>162179
>Очевидное электровоспламенение.
Эксперементировали - гауно.

Лучше дизел-эффект. Кстати, в 19 веке один оруженик запатентовал такую систему - в цилиндре поршень(пружиной) быстро сжимал воздух -тот нагревался и воспалменял порох.
Типа как современные воздушки.
Правда у меня вопрос - как совместить несовместимое - нужен патрон боль-менее устойчивый к влаге напрмиер и при этом сзади заряд может быть подпален.

Но я уже пидумал как - можно в том месте гле капсюль ставить алюминиевую или оловянную фольгу, а в систему воспламенения ввести узел для прокола этой фольги в момент наивысшей температуры.
Аноним 12/12/17 Втр 19:13:50 163479 205
>>134256 (OP)
есть на столько крупные партии что они даже заебутся их продавать со скидкой в 90% .ты им с 1 пулей патроном на х не нужен.
Аноним 20/01/18 Суб 02:22:03 164034 206
>>134256 (OP)
100 капсюлей стоят 200 деревянных, на 2000 ты купишь тысячу, на 20к ДЕСЯТЬ ТЫСЯЧ капсюлей, закрывайте тред
Аноним 21/01/18 Вск 23:08:22 164038 207
41.jpg 122Кб, 840x414
840x414
407117635.jpg 65Кб, 705x375
705x375
>>134256 (OP)
Тред живет так долго, что я уж забыл: отписывался в нем или нет, лол. Надо требовать, что бы обезьяна вернула выживач на законное место в список досок.

Короч.
>Можно отлить из попавшего под руку свинца пулю -- не вопрос, так делали солдаты и два века назад, причём даже на поле боя. Выдолбить гильзу -- допустим. Порох из селитры на говне и угля -- очень с натяжкой, но можно, допустим.
Из говна и палок делается аналог центробоя. Из листа латуни, который получается при помощи примитивного горна и ручного прокатного станка (такие ювелиры сейчас используют по типу как на пике) Вытачивается или даже выштамповывается ударником по типу клепочного пистолета колпачок, в который заполняется той же бертолетовой солью, гремучей ртутью, или что там было в ходу 150 лет назад.
Гильзы нахуй не нужны в случае кустарного производства. Брандтрубки и раздельное заряжание рулят. Для гражданских постапокалиптических задач более чем достаточно. Хотя при желании выточить гильзу с наковаленкой из той же латуни проблем нет. Только дорого выйдет.
В итоге имеем что-то типа капсюльных винтовок, возможно игольчатых, возможно револьверных и револьверов по типу ранних кольтов Уолкера там, Нэви и прочих.

Хотя я сильно сомневаюсь, что можно откатиться так далеко в прогрессе за обозримое время. Схуяли производству-то вставать? Станки остаются, химики не все поголовно вымрут, мастера - тоже. Вон, во всяких Филиппинах да Йеменах же клепают вполне себе современные копии оружия. В хибарах без освещения в условиях полного П.
ВНИМАНИЕ! ПАЛЮ ГОДНОТУ! Аноним 04/03/18 Вск 16:05:22 164345 208
Аноним 04/03/18 Вск 17:18:56 164346 209
>>164345
Мелкашка не нужна, да и таможня эту хуйню вряд ли пропустит, у нас релоадинг нарезного запрещен
Аноним 04/03/18 Вск 20:36:31 164347 210
>>164346
Релоад нарези в процессе разрешения и матрицы под основные калибры всегда были в продаже в рф. А вот по статье - купить вещество для капсюлей не получится, но вариант "powder from capgun ammo, strike anywhere matches, and acetone to make your primer" можно реализовать и у нас.

Боишься бп - купи ружо и закупайся порошком (нарезным и гладким) и капсюлями в огромных количествах, у нас нет ограничения на храниение порошка/патронов.
Аноним 04/03/18 Вск 21:22:02 164348 211
>>164347
Так и на хранение патронов нет ограничения, только на перевозку. Можно накупить пару тысяч всякого разного и этого тебе хватит, ты же воювати ни с кем не собираешься.
Аноним 04/03/18 Вск 21:31:06 164349 212
>>164348
Так-то да. Дома стабильно больше 2к патронов валяются. И это я еще до нарези не дорос :3
Аноним 05/03/18 Пнд 09:21:35 164350 213
>>134425
>бертолетка смешана с толчёным стеклом
Рекристаллизовать же.
Аноним 11/03/18 Вск 17:07:20 164391 214
>>134256 (OP)
>устройство капсюля, если судить по схемам широко распространенных, достаточно сложно
Ммм...чашка из латуни, закрытая куском фольги. Такая-то сложность.
Секрет в том, что надо смотреть не на самые распространенные, а на самые простые.
Гильзы делаются из меди/латуни/их сплавов. Все это плавится в любом горне, собранном на коленке.
Протяжка бесшовной трубы и ее конусование выполняется на ручном станке на горячую. Штамповка донца выполняется вручную на ебаной наковальне.
Если в поселении есть механик уровнем чуть повыше гаражного диайвайщика, то сборка технологической линии под протяжку бутылочных гильз тоже особого труда не составит.

Итого, для всего этого нужен 1 (один) рабочий токарный станок для изготовления пресс-форм и набор шестерней, валков, валов и чугунных болванок для крафта всего остального. Если в окрестностях поселения когда-то была гибочная мастерская (а они есть в любой мухосрани, и не по одной), то последний пункт отпадает.

Вы на пра-прадидов смотрите. Они безо всяких там елехтрических и высокотехнологичных чудес штамповали гильзы под берданки сотнями тысяч. Все на ручной тяге. Или, на край - с приводом на коня.
Аноним 11/03/18 Вск 17:08:52 164392 215
584481.jpg 181Кб, 987x424
987x424
tofjg.jpg 21Кб, 320x181
320x181
Аноним 11/02/19 Пнд 06:46:45 167666 216
патрон пуля.jpg 19Кб, 401x570
401x570
Чем вас не устраивает запал электрический на скорострельных авиационных пушках используют иногда, есть два типа запала спираль как в лампочке накаливания при пропускании тока нагревает порох в патроне и он загорается, и типа свечи зажигания в машине, два или более электрода через которые пропускается ток и образующаяся искра или искры поджигают порох,так же можно сделать без гильзовый патрон типа минометной мины или ракеты или типа как на скриншоте с сгорающ капсулем в котором могут быть и спираль и электрод или просто чувствительный состав в бумажной гильзе.
Аноним 11/02/19 Пнд 08:18:53 167667 217
>>167666
Тем, что эту залупу надо внедрить в уже имеющийся огнестрел, а это хуй сотворишь
Аноним 12/02/19 Втр 01:09:11 167679 218
>>167667
Ну можно сделать что то типа револьвера например с таким патронам
а закрайну сделать из прессованной смеси бумаги 70% и 30% пороха и при выстреле она будет сгорать
Аноним 12/02/19 Втр 01:10:56 167680 219
>>167667
И такое есть на некоторых скорострельных авиационных пушках
Есть безгильзовые варианты как в примере есть с гильзой но суть в том что это ускоряет хорошо скорострельность и уменьшает вес орудия ведь тока на самолете предостаточно.А еще упращяет оружие
Аноним 12/02/19 Втр 07:41:43 167682 220
>>167679
Сделай, чо. Фантазар ебаный.
Аноним 03/04/19 Срд 16:46:04 167908 221
Вот чувак делает рабочие капсюли под черняшку при помощи вальцевательно-формовочной приблуды и формочки от пирога.
https://www.youtube.com/watch?v=mqDu86exvaE

Капсюли под бездымный, и капсюли со встроенной наковальней, конечно, труднее сделать будет, но не намного. Нужно только выбрать наиболее технологичный способ делать сами наковальни или способ завальцовывать "усики" как у Боксера, не заминая их.
Аноним 10/08/19 Суб 15:51:41 168335 222
>>134499
Такая нитроцеллюлоза очень пористая ибо это тряпка. В патроне она не сгорит а взорвётся. Надо превратить её во что-то пластмассообразное. Вроде это делают с помощью эфира, этот процесс называют желатинизация. Но в кустарных условиях и тем более при БП проще и безопаснее сделать дымный порох или его суррогат.
Аноним 10/08/19 Суб 15:55:06 168336 223
>>134772
>после сотни экспериментов у вас не получится обеспечить одинаковый навес порхоа в каждом патроне
Но ведь это изветно. На 12 калибр надо что-то в районе 6 грамм дымного или 2,3 сокола.
Аноним 11/08/19 Вск 08:04:28 168340 224
>>168336
Зис. На гладкое и на дымаре вообще похуй как крутить, это только ебнутые колхозники орут, что у них отвественный выстрел и идеальные рецепты с 15ю прокладками и дробью пересыпаной крахмалом.

>>134772
4 года посту на отвечу. Вместо того, чтоб купить мосинку сейчас и без стажа нынче есть 9.6/53, ты будешь ИСКАТЬ и хуй чо найдешь.
Аноним 12/08/19 Пнд 23:15:22 168347 225
>>168340
>нынче есть 9.6/53
Кстати, она даже лучше. Что-то вроде Бердановских патронов и подобных поздних унитаров на черном порохе. Были бы деньги на подобную штуку - взял бы чисто попробовать.
Аноним 15/08/19 Чтв 11:08:38 168349 226
>>134488
>Пример Хиросимы со сраными 10 килотоннами

Я читал доклад по Хиросиме (В переводе) там город не бомбуэ разнесло, а пожары, которые спалили всё к черту. Нагасаки вполне себе норм пережило ядерный удар.
Аноним 22/08/19 Чтв 00:26:47 168379 227
>>134256 (OP)
Азид свинца или бертолетова соль. Но тут надо небольшую лабораторию и генератор (источник тока) иметь. А так, если руки не из жопы и знаешь школьный курс химии то вообще изи.
Аноним 09/09/19 Пнд 20:15:18 168454 228
>>168347
43 кусмана за уже полуавтомат же. Не так уж много если бы не было больше моих трат на гладкое+нарезное не считая патронов, лол
Аноним 09/03/22 Срд 03:58:14 181062 229
bump
Аноним 24/10/22 Пнд 22:54:04 181915 230
IMG202210242235[...].jpg 856Кб, 1080x2113
1080x2113
IMG202210242235[...].jpg 870Кб, 1080x2095
1080x2095
IMG202210242236[...].jpg 435Кб, 1080x1112
1080x1112
IMG202210242236[...].jpg 393Кб, 1080x791
1080x791
Без слез на это не взглянуть и так материалы анонам. Одно основный бездымный порох 90% пироксилин 0.5% спирто-эфирная смесь 2% дифениламин 2% вода 2 % камфора 0.4% графит 4% канифоль
Так же юзабельны смеси нитрата аммония уголь 85/15 или нитрат аммония нитрат калия уголь 75/10/15 если не хотите что бы ваш порох превратился в говно при сдвигах температуры. Да а ещё он едкий любимым латунным гильзам пизда. Есть пикратный порох 54% пикрата аммония 46% нитрата калия.
Прилагаю рецепты капсульных составов и получение азида и гремучки.
Аноним 24/10/22 Пнд 23:00:14 181917 231
IMG202210242237[...].jpg 381Кб, 1080x968
1080x968
IMG202210242237[...].jpg 455Кб, 1080x1147
1080x1147
IMG202210242231[...].jpg 829Кб, 1080x2127
1080x2127
IMG202210242232[...].jpg 773Кб, 1080x1947
1080x1947
Для дохуя продвинутых получение тринитрорезорцина и свинцовой соли а так же больше про получение азида. Азид натрия получается аналогично калию можно использовать другие нитриты (изопропил амил пропил все на что хватит идей)
Аноним 24/10/22 Пнд 23:08:09 181918 232
IMG202210242232[...].jpg 630Кб, 1080x2115
1080x2115
IMG202210242233[...].jpg 900Кб, 1080x2086
1080x2086
IMG202210242233[...].jpg 853Кб, 1080x2112
1080x2112
Для совсем дохуя умных азиды можно гнать через амид рецептуру амида прилагаю.
Аноним 24/10/22 Пнд 23:19:39 181919 233
IMG202210242308[...].jpg 819Кб, 1080x1642
1080x1642
IMG202210242313[...].jpg 101Кб, 1080x234
1080x234
IMG202210242312[...].jpg 248Кб, 1080x891
1080x891
Для вуга буга прилагаю получение нитроцеллюлозы а также нитрокрахмала что бы использовать крахмал вашей бабки на что то полезное только помните это только добавка к нитроцеллюлозе порох из нитрокрахмала нихуя не выйдет. Ну и табличка для подумать
Аноним 17/12/22 Суб 12:35:56 182081 234
Нахуй вы все эти азиды обсуждаете? Смесь серной и азотной залил в колбу с хлопком и медленно греешь МЕДЛЕННО БЛЯДЬ. Всё. Если натырить электролиту из магазинов и селитры то всё обе кислоты можно легко производить.
Аноним 18/04/23 Втр 16:53:13 182285 235
>>182081
>Смесь серной и азотной залил в колбу с хлопком и медленно греешь
Ну ты и торч нужно охлаждать а не греть окислится у тебя все и будешь хату от NO2 проветривать если не полыхнет. Ты ещё погрей при нитрации эритрита пентаэритрита а загрузку бери в пару кило что б гарантированно если пизданет всю квартиру расхуярило. Если не производить нитроцеллюлозу с высоким содержанием азота (13.3-13.5%) то можно вообще использовать просто смесь серки ~90% (после того как электролит выпаришь) и сушёной селитры (калиевой или натриевой) аммиачка даст много воды будет хуево. Но нахуй оно тебе? Капсюль ты из нитроцеллюлозы не сделаешь про промывку нихуя не сказал стабилизаторов нет нихуя нет. Будешь хранить в сухом виде пизданет как в порту в тяньцзине только пасштаб будет меньше.
Аноним 18/08/24 Вск 04:30:40 183182 236
Аноним 20/08/24 Втр 21:34:16 183202 237
>>137124
Сурьма играет роль стабилизатора, поэтому капсюль не будет сверхчувствительным.
Аноним 26/09/24 Чтв 20:23:56 183427 238
>>134256 (OP)
>Неужели можно только покупать заранее уже готовые капсюли и ждать того черного дня, когда их запас иссякнет?
Да. Аналог КВ 209 в гараже ты не сделаешь. Патроны, которые стреляют 50/50- не патроны. Патроны, у тороых каждый 4 выстрел затяжной - это не патроны. Патроны, которые перестают работать в -20 - это не патроны.
Аноним 09/11/24 Суб 17:31:53 183605 239
>>134256 (OP)
Серебро спирт и азотная кислота.
Серебро хранить проще ртути,
Спирт делается ректификацией из ягод злаков меда фруктов.
Азотная кислота запасается в форме нитрата калия.

Вообще можно даже из золота сделать фульминат.
Аноним 09/11/24 Суб 21:46:21 183608 240
>>134256 (OP)
Кремневое оружие, фитильное...Плюс кто то производство наладит, в первом фолаче, в бониярде - кузнец и химик тандемно переснаряжают патроны...Да это игра, но такой тандем ожидаем и реалистичен. Просто боеприпасы будут сильно в цене, не до пострелушек будет( как сейчас лол)
Аноним 22/11/24 Птн 10:16:50 183643 241
>>134256 (OP)
Пацаны, м.б. объясните мне нахуа? Чтоб в ответственный момент осечка произошла? У меня кончились капсюля и пыж-контейнеры для 12шки, я пошёл и купил пакет того и другого. Сейчас по зайцу сезон, настрел большой. Капсюли копейки стоят. Можно с получки сразу ведро купить их. Центробоя у меня чуть ли не мешок в сейфе валялся, избавился как на нормальные гильзы перешёл.
Аноним 24/11/24 Вск 17:22:34 183646 242
>>183643
Ты абсолютно не понимаешь сути выживача, если бы понимал, то такого бы не писал.
Аноним 01/12/24 Вск 15:31:11 183677 243
>>183643
>Капсюли копейки стоят. Можно с получки сразу ведро купить их.
Так умные и делают. Но все запасы рано или поздно кончаются...
Аноним 13/02/25 Чтв 15:14:30 184072 244
IMG202501192259[...].jpg 3059Кб, 3264x2448
3264x2448
Капсюли сотнями тысяч выбрасываются вместе с гильзами на стрельбищах. Особо упоротые могут наковырять их и поытаться сделать снова работающими.
Практического смысла ноль, работоспособность под вопросом, надёжность рандомная. При этом капсюли есть в магазинах и стоят недорого. Вопрос - нафига козе баян?
Аноним 04/03/25 Втр 00:36:36 184103 245
ни одна наука н[...].jpg 25Кб, 500x339
500x339
>>184072
>Практического смысла ноль, работоспособность под вопросом, надёжность рандомная. При этом капсюли есть в магазинах и стоят недорого. Вопрос - нафига козе баян?
Хорошей козе любая свистулька в кассу.
Сегодня капсюли есть, а завтра в Муром прилетит украинский или китайский томогавк и их не станет. Договорничек договорничком, трампнаш-трампнашем, но после трех лет проклятого таймлайна ЛЮБАЯ зрада более чем ожидаема.
Самоделки дешевле ВСЕГДА. В цену каждой кнопочки входит прокорм хуевой толпы паразитов-антибулочников и кабанов-нахлебников. Примерно почувствовать это можно сравнивая последнюю цену Мексиканца в ормаге и цену калийки в хозмаге.
Если ты осилишь химию для одного изделия, и останешься на свободе, да с полным комплектом пальцев, то завтра сможешь применить ее в другом изделии, например номер восемь. Которое тебе не продадут.
А еще это открывает путь к релоаду 22lr, которые стоят дороже промежуточных.
Аноним 04/03/25 Втр 08:41:27 184106 246
>>184103
В выборе между надёжным и ненадёжным я выберу надёжное. К тому же гремучее серебро будет явно дороже чем заводской капсюль.
С гремучей ртутью и начинать не буду. Азиды свинца тоже такое себе... А насчёт кабанов могу сказать только что массовые партии могут стоить дешевле самоделок именно за счёт постоянного производства. И сейчас, после подорожания, капсюль типа КВ 209 стоит 13-16р. Пачка 100 шт - 1300-1600р. Держи запас пороха и капсюлей примерно такой, чтобы был баланс. Но разумнее всего запасти сразу патроны, готовые.
Аноним 26/02/26 Чтв 19:01:29 185643 247
>>134355
>Бездымного просто не будет, а на кухне его сварить не получится.
А вот и нет. Нитрующая смесь, целлюлозная вата и вперёд. Thoisoi можете посмотреть. Его ещё смешивают с нитроглицерином, чтобы получился гремучий студень. Так убили александра II. Если не прогуливал химию в школе, можно всё сварить.
Аноним 26/02/26 Чтв 19:12:57 185644 248
>>185643
И как ты в патроны гремучий студень пихать будешь, умник?
Аноним 26/02/26 Чтв 19:40:23 185645 249
>>134726
А поч нет?

мимо спустя 12 лет
Аноним 01/03/26 Вск 11:32:49 185653 250
Интересно, йодистый азот можно для кнопоу использовать?
Аноним 31/03/26 Втр 09:18:21 185962 251
>>183605
Гремучее серебро хуита. Более чувствительное чем гремучая ртуть и дает меньше газов. Серебро как и ртуть нахуй не нужно хранить. Хранится нитрат серебра или ртути абсолютно одинаково. Азотная кислота хранится в виде азотной кислоты без долбоебизма. А вот с другими солями хуй там плавал напрямую образуется только соли ртути и серебра. Гремучее золото нихуя не соль гремучей кислоты а аммиачный комплекс. И этому говну место у параши как и аналогичному комплексу серебра. Ещё блять предложите NCl3 или NI3.
>>184106
Тем у кого даже стандартные гремучертутные капсюли работают 50/50 могу только посочувствовать. Это называется фатальное рукожопие. Там противопоказано не то что пороха и капсюли самому делать но и переснаряжать. А то ещё навеску дохуя насыпешь и ислам примешь.
Капсюли переснаряженные прямыми руками на гремучей ртути не отличаются качеством от заводских примерно никак(хотя можно и не на ртути а например на тнрс). Иногда могут быть осечки но это редкость как и с заводскими и зависит от аккуратности сборки а не от самодельной начинки. Осечек заметно много у самых элементарных на хлорате но и то их дай боже 10% но никак не 50%.
>>185643
Только большинство таких видео показывают неправильные модули нитрования и кислотные смеси. А так можно хоть трехосновный порох сделать. Нет ничего невозможного долго просто возни много. А двухосновный порох и гремучий студень это все же разные вещи. Гремучий студень детонирует (хотя со временем и хуже) а двухосновный порох нет ввиду своих физ свойств и банально распространения дет волны в такой среде. Что б не наполнять патроны взрывчаткой надо положить нитроцеллюлозы побольше. Ну и неплохо бы мешать такой порох не на сухую а в растворителе и в конце добавить стабилизатор хотя бы соды например но это плохой вариант. Лучше дифениламина.
Аноним 31/03/26 Втр 11:27:01 185963 252
Единственное с чем 146% можно согласиться это с целесообразностью такого дроча. Не знаю возможно это еба секрет жидомасонов но кустарно можно сделать очень многие "нереальные" для обывателя вещи такие как порох пули капсюли термобарические (не путать с зарядами объёмного взрыва хотя можно и их но оно того точно не стоит) и кумулятивные заряды. И все это можно сделать с качеством и надёжностью не уступающим и даже превышающим заводское. Но в этом празднике есть ведро говна. Для этого нужны знания ресурсы и очень желательно опыт (хотя можно и без). Кустарное единичное или мелкосерийное производство 100% проиграет по человеко-часам и себестоимости. При увеличении количества операций (а это весьма вероятно) шансы обосраться возрастают очень нелинейно. Будет больше выбраковки и меньше готового продукта. По конечной цене для потребителя (для самого себя в т.ч.) не все так очевидно. Может быть и дешевле ибо покупатель получает продукт не с заводской наценкой а после 100500 перекупов различной степени охуения. В целом человек без знаний нихуя не сможет результат будет говно. Тот у кого есть и знания и опыт уже наразвлекался с таким говном и не будет тратить время. В среднем оба пойдут за заводским решением даже если оно будет несколько хуже менее надежно и дороже. Пока заводские решения доступны прямо сейчас пошел и купил конвейер рулит. А когда будет дефицит с охувшими перекупами (банка пороха по 6-10к) или полный ноль там уже есть возможность и для всякого самоделия
Аноним 31/03/26 Втр 12:00:08 185966 253
>>185963
>(хотя можно и без)
Ага, только желательно заранее научиться дрочить ногами, и исключительно по памяти. Руки и глаза без опыта потерять очень легко, особенно ища рецепты в интернетах.
Аноним 07/04/26 Втр 15:00:10 186010 254
>>185966
Руки потерять очень тяжело. Для этого нужно быть долбаебом забить на первое дело на изучение тб перед началом работ. Далее нужно обращаться с неадекватным количеством максимально ебанутыми методами тогда может быть. А ну и конечно же нужно смотреть ебаные инструкции в интернете желательно без фото а так же не смотреть видео не общаться с более опытными коллегами и не в коем случае не читать проф литературу в библиотеке. Тогда шанс потерять хотя бы палец(ы) неплохой. В противном случае это настолько маловероятно что близко к невозможному. С глазами чуть проще но опять же тб очки поликарбонатный щиток и все будет нормально даже если кд настоящий ебнет. Для изготовления 30 цбо уходит 0.165 г гремучей ртути на 20 жевело-М 0.35 г. Гремучая ртуть в таких количествах не прессованная не детонирует можно ещё увлажнить слегка если ссыкатно. Ручками шаловливыми непосредственно состав не трогать основную массу держать в стороне. Это основа. Хотя даже если принципиально снарядить кд в мягкой оболочке 1 г прессованной гемучей ртути без непосредственного контакта с пальцами в случае самоподрыва единственное что ждет это ушибы мягких тканей. Простым языком синяки. Ну ногти посинеют и могут сойти. На этом все. В капсюлях не чистая гремучая ртуть и общее количество состава не велико так что это безопасно. Разве что если сухой состав сильно прессовать и хлопнет можно испугаться и сдохнуть от инфаркта
Аноним 07/04/26 Втр 15:52:17 186011 255
Пы сы забыл сказать относительно травм. Есть дохуилион составов без гремучки и без ивв (есть даже без псевдо ивв). Они вообще не детонируют и причинить себе травмы нужно специально постараться. Ранее я выкладывал самую базу на деле их конечно больше но настолько глубоко оно нахуй не надо. В зависимости от наличия/отсутствия опыта и знаний а так же требований к надёжности выбирается состав и далее используется. Просто не нужно делать килограммами и набивать чугуниевую трубу а потом засовывать туда хуй с привязанным паяльником и все будет норм
Аноним 07/04/26 Втр 20:47:07 186012 256
IMG202404130909[...].jpg 3840Кб, 3264x2448
3264x2448
IMG202405252035[...].jpg 3172Кб, 3264x2448
3264x2448
Моё скромное мнение таково: нефиг городить хз что, когда пошёл и купил, пока есть. З-запасы.
Аноним 08/04/26 Срд 07:46:44 186017 257
Все запасы имеют свойство тухнуть и заканчиваться. Что порох что капсюли что пули или гильзы. А навыки вечные. Мое мнение таково что городить хз что будут те кто сейчас крутит пальцем у виска и говорит что можно же купить. Будущие уважаемые пользователи фитильных аркебуз и арбалетов
Аноним 08/04/26 Срд 08:19:29 186018 258
>>186017
Химические вещества тоже тухнут. Срок годности капсюля - это больше, чем твоя жизнь, если он нормальный, герметичный.
Сомневаюсь, что после прихода БП будет шанс заняться зельеварением. Хотя всё может быть.
Аноним 08/04/26 Срд 09:07:09 186019 259
>>186018
Срок хранения жевело по ГОСТу в герметичной таре 6 лет со дня изготовления. В не герметичной 2 года. Для цбо 3 года со дня изготовления. Дальше фантазии воля божья и все такое. Учитывая что соблюдение ГОСТ сейчас сугубо по желанию я бы и на это не надеялся. Спасибо конечно но я собираюсь прожить дольше 6 лет. А химия вечна. Пока она стухнет сдохну не только я но и мои дети. Использовал реактивы 50х годов и никакой разницы с партиями 2025 г не заметил. Для аналитики может быть критично наличие 0.01% примесей это да а для варки вв ивв и прочих грубых реакций и 5% примесей совершенно не критично. При острой пиздец необходимости (или приступе перфекционизма) можно очистить что сами химикаты что конечный продукт. Это стандартные операции в них нет ничего страшного и сложного. Хотя обычно это и не требуется. А вот протухшие капсюли и пороха очистить уже нельзя только выкинуть. Пороха можно попробовать переработать ещё. А так в целом фарш обратно уже не провернуть.

Пы сы я бы был осторожнее с стрельбой просроченными капюлями и порохами в т.ч. ибо это может весело закончится. Затяжные выстрелы дутые стволы нашпигованные осколками ебальники это далеко не полный список того что может случиться. Поучительных историй полно что на ганзе что на том же ютубчике например. Свежесваренные компоненты залог целого ебальника.
Ах да исчо кое что. Я бы рекомендовал учиться зельеварению сейчас а не когда уже наступит выбор между пиками точеными или хуями дрочеными. В спокойных условиях пока есть ютубчик связь с более опытными коллегами и возможность сходить в библиотеку так же легко как подтереть жопу
Аноним 08/04/26 Срд 09:13:33 186020 260
IMG202501192258[...].jpg 3213Кб, 3264x2448
3264x2448
IMG202501192259[...].jpg 3059Кб, 3264x2448
3264x2448
>>186019
>просроченными капюлями
Я ж не орочьи имел ввиду. Посмотри на Шеддит. Они залиты лаком и с атмосферой никак не контактируют непосредственно веществом. Тридцатилетние работают без сбоев, как буржуи пишут.
Про наши не скажу, не видел статистики, но бумажка, зкрывающая дырку или фольга поверх состава и без лака - это явно не долгожители. К тому же среди наших капсюлей могут попасться бронированные, а буржуи такого себе не позволяют. На пикчах 209 кв времён гойды. Сравни накол с Шеддитом.
Да, а как ты собрался делать корпуса капсюлей?
Аноним 08/04/26 Срд 12:57:35 186024 261
>>186020
Капсюли (как и пороха) портятся не только от атмосферы или влаги влияет и температура хранения и просто время. Все говно что ты набьёшь туда так или иначе деградирует даже в идеальных условиях в сферическом вакууме. Со временем это выливается в то что могут быть осечки а даже если их нет падают характеристики в т.ч. например пиковое давление и температура вспышки что для чп похуй а для нитры нет (хотя нитра через 6 лет уже просрочится так что можно не переживать). Кв-209 с тнрс как и тот же жевело-Н там главный выигрыш дает состав все остальное уже не так важно. Шеддиты к слову скорее всего тоже на тнрс. Очень многие капсюли сейчас на нем. По срокам могу точно сказать что 6 лет составы на тнрс 100% живут (особо осечек и прочего быть не должно разве что брак) а вот дальше как получится. Через 10 лет были и осечки и успешные выстрелы. А 30 годиков это уже точно мимо всех сроков хранения прям 146%. То что стреляет это хорошо но это уже не является нормой. Вообще стреляют и столетние патроны. А кому то вместо выстрела всю башку нашпиговывает осколками. Тут дело вкуса готов ли в рулетку играть.
Бронированность же зависит от конструкции и толщины металла посмотришь на тот же жевело и с ним все понятно. Что б накол был заебись надо пользовать уже раздроченый ствол и не пихать тот же жевело при слабой/ослабшей пружине.
Как делать корпуса? Вырубкой из проката с последующей вытяжкой и подрезкой как собственно и гильзы с оболочками для пуль. Только капсюль маленький необходимое усилие создать проще. Были опыты с листовой медью и не скажу что это очень приятное занятие. Поэтому основным считаю не производство с нуля а переснаржение (о чем писал). Переснаряжал как просто полежалые так и стреляные и не поверишь даже копаные на берегу в песке которым уже хер знает сколько лет. Гильзы там обычно гниляк уже как и пули а вот капсюли ещё ничего. Обычно успешны первые 2-3 цикла переснаряда дальше как повезёт ибо усталость металла все дела. Бывало что пробивало. У составных капсюлей можно менять только дно а с цельнотянутыми так не выйдет. Хотя опять же цельные проще переснаряжать они потрошатся буквально пальцем на коленке. Вообще если интересно читай буржуев у них это относительно популярное занятие (даже можно купить готовые капсюльные составы) а у нас это удел отдельных деятелей и наверное ещё какого нибудь криминала когда нет доступа к готовому
Аноним 08/04/26 Срд 13:25:16 186025 262
IMG202304201430[...].jpg 793Кб, 2448x3264
2448x3264
IMG202304201530[...].jpg 3934Кб, 3264x2448
3264x2448
>>186024
>А 30 годиков это уже точно мимо всех сроков хранения прям 146%.
Старый центробой - да, говорит "пук", ни один не сработал. Внезапно дымарь из этих патронов будучи переснаряжен в пластиковой гильзе и с КВ 209 с теми же пулями сказал "БАХ" как молодой.
В принципе у меня есть помпа, можно бахать с неё дымарём... Но покупка 500г за 11к - это безумие. Но тот факт, что нарезные патроны хранятся очень-очень долго и стреляют - это утешение.
А гладь, она такая: срок хренения хорошего капсюля намного превышает срок годности нитропороха, хотя Нобель за 10 лет в герметичной таре свойств не теряет. Про Драго не знаю точно. Поэтому хочу в дальнюю перспективу запасти Стерлинг, он на Нобеле как раз.
Но вообще стоит сделать ставку на минимализацию конфликтов и всякие другие средства, такие как въетнамские ловушки или арбалеты. Нет бабаха - нет ненужного интереса.
Аноним 08/04/26 Срд 13:50:38 186026 263
>>186025
>Внезапно дымарь из этих патронов будучи переснаряжен в пластиковой гильзе и с КВ 209 с теми же пулями сказал "БАХ"
Что в целом не удивительно. Если не приябываться к незначительным реакциям в дымаре нечему портиться. Главное не мочить. Тут он обойдёт любые нитропороха. Покупка... ну не покупай что тут сказать делай. Сделать хороший дымарь намного проще чем кухонный аналог сокола. Не скажу что очень просто но достаточно. Делаешь мокрым методом потом шаровуха на 48 ч прессование сушка дробление сортировка и по вкусу обкатка.
Насчет нарезных патронов гарантия на них примерно такая же как и на гладкие. Все потому что большинство гражданских порохов вращаются вокруг цифры в 5 лет на полочке. А после гарантийного никто за шкурку пользователя не отвечает даже в теории. Я знал человека который успешно отстрелял банку сокола которой было 30 годиков. Но если б ему при одном из выстрелов оторвало пол башки или просто испортило ствол он бы был виноват сам. Так что дело вкуса честно.
Про конфликты это правда сущая подпишусь под каждым словом. Готовится конечно большинство как на войну (это особенно про любителей запасать патроны тысячами) но на деле будешь много стрелять очень быстро закончишься. Ловушки тема можно даже с бабахом. Просроченные одноосновные пороха ОЧЕНЬ хорошо взрываются. Впрочем свежие тоже. Не тротил но жить можно. Двухосновные вот не детонируют так что на них можно не смотреть. Арбалеты тема интересная но там свой головняк есть. Добавлю ещё что можно применять ов и разные злоебучие эрзацы. Думал вообще отдельный тред создать (вроде ещё не было) но чет лень
Аноним 08/04/26 Срд 15:06:18 186027 264
159014256819083[...].png 401Кб, 700x393
700x393
>>186026
> Добавлю ещё что можно применять ов и разные злоебучие эрзацы.
Может это лучше в темносети, а не тут?
>>186026
>Насчет нарезных патронов гарантия на них примерно такая же как и на гладкие.
При этом винтовочные 7,62х54R 1967 года нормально отработали 24 из 27. Два пукнули как-то не так, Тигр перезарядился, но в картоне дырки не было. Третий пукнул как-то тихо и невыброс.
Всё дело, как думаю, в хранении. Прохлада, тень и минимум влаги - будет норм.
7,62х39 90 года не отличаются от новых по баллистике. Это знакомый затеял ротацию в 23 году, типа освежить запасы, и наскоро 100 штук отстрелял. Взамен купил 1000. Молодец, всё верно. хотя мало на мой взгляд
Гладь 2000 года, Азот, в 23 году славно отбабахала. Не помню уже что за дробь, какая-то то ли 1, то ли 00, не мелкая в общем.
А вот про современный порох времён гойды уже есть репорты. что стухает за 3 года. Тип был норм когда релодили, через 3 года пукает как старый дед с печёной фасоли. Сука, спохабили...
Знал бы - запасался бы Вектаном, хотелки бы урезал, но Шеддит и Вектан бы имел полный второй сейф. Но хули теперь...
Аноним 08/04/26 Срд 15:25:13 186028 265
image.png 437Кб, 740x416
740x416
>>186026
>и разные злоебучие эрзацы
Как-то я выкладывал рицебд хорошей штуки, от которой всё живое бежит, выпрыгивая из тапок. 50/50 состав с бенгальских огней и простая серная шашка, помолотая не очень мелко. Смешиваешь тщательно, засыпаешь в картонный цилиндр, хоть даже в бахнутую хлопушку. Поджигается обычной спичкой, и горит со спецэффектами, распыляя вокруг себя искры и полный пиздец, там не только слизни с улитками подохнут и долбоносики с колорадом, там вообще невозможно дышать и смотреть. Зато на следующий день уже можно там ходить, главное пыль не поднимать. Сера - это вам не это! Пик - штатное горение, от вредителей, а с бенгальским составом это будет вулканирующий пиздец, который не потушить. Проверено - работает так как надо!
Аноним 08/04/26 Срд 16:27:04 186029 266
>>186027
>Может это лучше в темносети, а не тут?
Так я не через клир сижу))) но на темной скучно печеньки протухли. На том же рунионе тема про яды стухла а последние сообщения от каких то фриков не в теме. Скучно пиздец я уже всех коллег темой ов заебал.

>Всё дело, как думаю, в хранении
Соболезную все дело в том что они просрочены как и патроны 90х годов. Химию невозможно наебать нитроэфиры портятся с выделением свободной азотной кислоты и окислов азота (это самая большая проблема из списка). И этот процесс самокатализирующийся. Его можно замедлить можно сгладить последствия но остановить никак. Зная химию на уровне школы не трудно понять что критичные моменты в этом процессе температура влажность и контакт с воздухом. Именно по этой причине порох может пролежать 10 лет условно "нормально" а после вскрытия протухнуть буквально на глазах за несколько часов. Если интересно в сферическом вакууме предел хранения порохов лет 25 это как было раньше сугубо не для гражданского рынка с конской дозой стабилизаторов флегматизаторов и на труднолетучем растворителе. При соблюдении условий хранения естественно. Далее только утилизация (сжиганием) или переработка. А на гражданском рынке такого никогда не было и не будет по определению. Делают более хуево дешево так что смело можно 25 делить минимум в два с лишним раза + защита от долбаеба косяков и брака на 100%. По этой причине скажем срок хранения (фактический) превращается с 8 лет в 5-6 на банке.
И да я рад что ни вам ни знакомому ничего не оторвало но это не гарантия что так будет всегда. Собственно я свое сказал как химик если не верится то я умываю руки. Наличие всех пальцев глаз и отсутствие осколков в тушке дело каждого. У меня был свой неприятный опыт правда без осколочного так что не рекомендую если есть выбор тем более сейчас пока не пиздец.
А так конечно работоспособны и патроны пмв как я уже говорил но это рулетка. Один сработает "нормально" второй а третий ебанет.

>времён гойды уже есть репорты. что стухает за 3 года
Стухает потому что нормальная нц закончилась используют какую придётся. Варят ускоренными темпами без полной нейтрализации. Возможно ещё в случае двухосновных нг заменяют на эрзац каловые смеси например эгдн с дгтн. Ну и полируют это экономией стабилизаторов естественно. А для гражданки есть ещё и каловые смеси на основе переработанного. Я же говорил что фарш нельзя провернуть обратно? Из просравшегося пороха нельзя сделать нормальный. Можно только как старому деду хер поднять виагрой но ненадолго.
Аноним 08/04/26 Срд 16:40:04 186030 267
>>186029
>На том же рунионе
Он же подментован хз сколько лет назад...
>А на гражданском рынке такого никогда не было и не будет
В этой федерации - да, я почему-то думаю что Вихта и Сокiл в этом плане ведут себя чуток по-разному.
>>186029
>И да я рад что ни вам ни знакомому ничего не оторвало
Ну патрон 90 года и не должен, а те, что старше меня, проверили стрельнув двумя с верёвочкой. Сработало штатно, мы осмелели. Тигра не жалко, он удрочен уже совсем, получен по наследству и только потому не сдан в утилизацию. Но ещё стреляет, хотя хром и нарезы давно говорят "я больше не могу". Старый Тигр, ещё с военным твистом.
>>186029
>Стухает потому что нормальная нц закончилась используют какую придётся.
Тут игла (Ростех) якобы на это взялся, блохеры уже отстреливали 32 иглу, всё норм. навески 1,7 хватает. баночная 1,8 с советом начать с меньших доз. И официяльнейшие лица пятками себя в грудь бьют и мамой клянутся что это сварено как надо.
Может и правда, недавно Рекорд модернизировали, и совсем свежие их патроны уже не рекорд из анекдотов. И опять там Ростех покопался со своей Иглой, например пули Стрела (они годные, просто их рекорд снаряжал как... рекорд. То есть ногами в темноте и обе ноги левые. Сейчас отстреливают и хвалят, типа годнота. Но это только время покажет.
>>186029
>Из просравшегося пороха нельзя сделать нормальный.
Т-техкрим. С порохом конца тридцатых. Зато недорого.
Аноним 08/04/26 Срд 16:50:26 186031 268
>>186028
>рицебд хорошей штуки
SO2 действительно хорошая штука тяжелее воздуха затекает в разные места. Его рассматривали как ов ещё очень давно. Подойдет для выкуривания различных сидунов но вот для других целей уже не очень. Его надо или очень много или держать окуриваемого долго. По леману при экспозиции 30-60 мин и средней концентрации 1.55 мг/л наступает успокоение человеков. Но не сразу и не через час естественно. Сразу возможно только в случае рефлекторного спазма и чисто физического удушения как и в случае с хлором например.
50/50 на мой взгляд многовато т.к. в серной шашке есть а) свой окислитель б) балласт в виде мела в) избыток окислителя провоцирует образование SO3 что хорошо для дымов и не очень для удушения ибо он менее токсичен как и серная кислота которая будет образовываться при контакте с влагой воздуха.
Пы сы могу подсказать более интересные варианты если нужно
Аноним 08/04/26 Срд 16:50:47 186032 269
Аноним 08/04/26 Срд 16:53:43 186033 270
>>186031
>SO2
Там ещё до кучи фунгициды в серной шашке, и в смеси с пиросоставом железосодержащим образуются не только серные ангидриды, но что-то ещё, сходу не вспомню. В общем открыть дверь в погреб через 12 часов было ошибкой. Даже в респираторе охуел и побежал сморкаться и мыть глаза. Как-то совсем негуманно получается.
>>186031
>могу подсказать более интересные варианты если нужно
Нужно!!!
Аноним 08/04/26 Срд 17:18:39 186034 271
>>186030
>Он же подментован хз сколько лет назад...
Хз мне лично не докладывали все что могу сказать несколько лет назад она падал с полным зашкваром всего содержимого. Сейчас от него один огрызок в формате общения и статей о всякой хуйне ну и реклама разной параши. Рпг 26 да и что пожиже уже не продают)) А так в целом если мусорнулись не удивлюсь этим сейчас многие болеют.

>В этой федерации
Раньше тоже просто по причине что военке все а на гражданке можно сэкономить и спихнуть неликвид который не пройдёт отк. И это далеко не только с порохами что думаю понятно.

>Ну патрон 90 года и не должен
Не знаю должен ли но может как и пернуть затяжным или пернуть с забиванием пули в ствол. Почему я уже объяснял. А может и нормально. Я для себя решил перестать рисковать пока есть другой выбор чего рекомендую и другим. Я не говорю выкидывать патроны но относиться к тем что старше 5 л как минимум как к ненадежным. Просто людей с головой которые умеют делать что то руками жалко а долбаебов нет))) даю мыслю неликвид в случае бп если есть запас годного можно обменять по оверпрайсу (прям как вспоминал автор в шапке)

>мамой клянутся что это сварено как надо
Ну маму то можно не жалеть сколько угодно... а один хрен сырья нет. Уже и целлюлозу какую угодно в ход пускают тут была гойда сначала с нц из льна что ли (тема старая результат такой себе) а потом ещё большая с нц из древесной целлюлозы. Вот уж "нанотехнологии" освоили по второму кругу. Еще самые первые полудымные были на древесной нц а потом это рассматривали в начале прошлого века ибо война. Ну изобрели короче чо я докопался то. Есть ещё закупная нц но её не так много как хотелось бы и что там по качеству точно не скажу
Аноним 08/04/26 Срд 17:27:52 186036 272
итог.jpg 62Кб, 640x426
640x426
>>186034
>старше 5 л как минимум как к ненадежным.
Да никто не спорит. Я вот всю картечь, что припас на БП. сбабахал в картон. Около 700 штоле штук, ибо на Соколе и вообще под 65МПа, и все они плюс-минус начало гойды. Теперь буду действовать без оглядки на давление (все ружья магнум), и запасусь туретчиной. А то раздухарился и остался с минимумом в закромах. Но думал что с порохом будет получше, а с ним только хуже. И деньги были. а пороха на новые патроны не было Не надо так... Лучше потратиться посильнее и съездить в соседний регион, как только туда порох подвезут. Телегу всё равно не привяжешь к гробу.
Аноним 08/04/26 Срд 18:15:03 186037 273
IMG202604081742[...].jpg 976Кб, 1080x2023
1080x2023
>>186033
>Там ещё до кучи фунгициды в серной шашке
Ну если они там и есть мне это неизвестно а так SO2 сам себе неплохой такой фунгицид

>но что-то ещё
Сульфиды алюминия и железа разве что. В кислой влажной среде будет сероводород он немного более токсичен. Вонять будет. Что то ещё хз если там какая-то другая органика я без понятия.

>Даже в респираторе охуел и побежал сморкаться и мыть глаза
Если глаза это скорее всего серная кислота. Единственное что приходит в голову. По опыту выпаривания электролита неприятно конечно но даже туман из кислоты не смертелен обои отклеиваются это да можно приболеть бронхитом. Помереть навряд ли. Гоняет хорошо это да терпеть тяжело.

>Нужно!!!
Ну первое это металлохлоридные дымы. "безопасная" штука которая образует при горении фосген (COCl2) хотя там и другие продукты горения очень неполезны для здоровья. Экспозиции не долгие 5-10 мин достаточно что б хлебнуть потом болячек по самое не балуйся с выбыванием из строя надолго. Более долгие легко могут закончиться тем что станешь совсем совсем мёртвым. Пруфы от буржуев прилагаю. Единственное что замечу неправославный и не очень доступный гексахлорэтан можно заменить на четырёххлористый углерод с тем же результатом. Ну и набивать пастообразную смесь удобнее на мой вкус. Противогаз от этой байды защищает надёжно.

Второе уже придумано кустарно совместно с коллегами. Многие полимеры дают токсичный дым при неполном сгорании при низких температурах. Подойдет замешать в состав полистирол (желательно огнестойкий там хлор/бром органика) что добавит мякотки а ещё лучше тефлон. Тефлон при достаточно сильном нагреве (если не изменяет маразм около 700) отщепляет перфторизобутилен. Это очень веселая штука я гарантирую. Фосген курит в сторонке. От пфиб противогаз надежно не защищает лучше короче где нибудь подальше находится. Ещё можно использовать пвх аэрозоль из хлороводорода и хлорорганики дело неприятное. Ну и по вкусу можно добавить для связки в эту полимерную помойку какого нибудь совола совтола и тд если есть в наличии. Это если хочется принципиально землю отравить. В вьетнаме похожая картина в свое время была а разгребают все ещё
Аноним 08/04/26 Срд 18:31:35 186038 274
IMG202604081830[...].jpg 349Кб, 1080x847
1080x847
>>186036
>Но думал что с порохом будет получше, а с ним только хуже. И деньги были. а пороха на новые патроны не было Не надо так...
Вроде где то был тред про самодельный порох я не уверен кажется раньше видел. Может утонул как и антибиотики. Не говорю что надо но делать самому выход и довольно дешевый. По надёжности все зависит только от исполнения. Но с тем же чп довольно сложно проебаться классический состав работает хорошо. Максимум что будет загадит все и чистить потом долго придётся. Сложнее сделать аналог сокола ибо там от формы много чего зависит но это реально. Не знаю можно ли таким эрзацем заряжать винтовочные хотя на ганзе некоторые отчаянные и потрошеными строительными/холостыми обходились... Но не пробовал не говорю.
Пы сы рецепт чп можно подобрать даже на ощупь если есть хронограф и он будет недалеко от классики
Аноним 08/04/26 Срд 18:42:43 186039 275
>>186037
>Гоняет хорошо
Так это и требуется. Плохиши, которым повоняли в пятак чем-то подобным, лучше поищут другую еду. Я например в подпол полез через 4 дня в полиэтиленовом костюме и с лейкой, чтобы полить пол. Ну и в противогазе конечно. Слизней там живых не было, как и прочих сраконожек, коих я потом подмёл и выбросил что-то около литра в объёме. Сдохло всё. И из любого помещения где это горит, хочется телепортироваться очень-очень быстро.
Остальное твоё тоже интересно. Но как хранить аэрозоли-самоделки? Небезопасно звучит...
Аноним 08/04/26 Срд 18:55:35 186040 276
>>186038
>самодельный порох
Дорого, сложно, ненадёжно. Если нет обычного, то есть такой вариант:
https://forum.guns.ru/forummessage/11/2968736.html

подходит порох из холостых 5,45 и 7,62х39, там П-125, его надо 1,5-1,6 грамма на 32 грамма дроби, не больше. В холостых 7,62х54 порох типа сокола, Х называется, его почти 2 грамма, снаряжать можно 2-2,1х32
Монтажные патроны: наши или Yibin Yili Science and Technology Co.Ltd., иногда пишут еще Yili Group, Д-3, синие.
Sichuan Nanshan Powder Actuated Fastening System Co.Ltd.
Далее будем называть Gefest-Sichuan. Патроны Д-2 и Д-3. Эти самые подходящие. Сычуань горит хорошо и не капризничает.

Порох Сычуань
1.Гильза Феттер, СХ1000, 1,5 Сычуань, 30г.#7, ПК Гуаланди VZero Н25, скорость 417м/с
2.Гильза Рекорд, КВ209, 1,45 Сычуань, 32г.#7, ПК Гуаланди VZero Н25, скорость 404м/с
3.Гильза Феттер, КВ209, 0,7г. Сычуань + 1г. Сунар42, 32г.#7, ПК ГП Н21, скорость 352м/с, 371м/с
4. Гильза главпатрон, кв 209, пк пистонскит, сычуань 1,4, дробь 7 32г.
скорость 383, 380, 382, 386, 381

Порох СпСН
Гильза ИГЛА 68 мм, КВ-22, ПК Феттер Н-28, дробь номер 7.5 28.0 - 28.1 грамм. Звезда.
Порох из мелких советских/российских монтажных, обозначаю как "СпСН" но на самом деле это смесь СпСН и МСН, преобладающая доля - СпСН.
СпСН 2.0 грамм - средняя 401.4 м/с
СпСН 2.1 грамм - средняя 408.2 м/с


Микс:
- гильза Азот, кв209, 1.98 СпСН, 32г. #7, ПК Азот Н24, скорость 338,7м/с
- гильза Азот, кв209, 1 Сокол + 1.07 СпСН, 32г. #7, ПК Азот Н24, скорость 403м/с
- гильза Азот, кв209, 0.827 Сычуань + 0.942 СпСН, 32г. #7, ПК Азот Н24, скорость 407,7м/с
- гильза Азот, кв209, 1.6 Yibin Yili D5, 32г. #7, ПК Gual VZero Н25, скорость 408,8м/с

Давления пороха Сычуань:
Баллистический ствол L = 700
Гильза 12х70
- дробь номер 7 26 г
- пыж 12Н28 Феттер
- кв-209
- порох Сычуань 1,4 г
- звезда
при +20С
(1) - 530 бар / 415 м/с
(2) - 576 бар / 421 м/с
Можно увеличивать вес сняряда до 30г.

Порох Ируида:
1.Гильза Азот, КВ209, 1,35 Yiruida, 28г.#5, ПК Азот Н28 скорость 376,2;390,7 средняя 383,4
2.Гильза Азот, КВ209, 1,45 Yiruida, 28г.#5, ПК Азот Н28 скорость 389,3;388,4 средняя 388,8
3.Гильза Азот, КВ209, 1,55 Yili, 28г.#7, ПК Азот Н28 скорость 384.9
4.Гильза Азот, КВ209, 1,6 Yili, 30г.#7, ПК Азот Н28 скорость 391,3
5.Гильза Igla(67mm), CX2000, 1,2 Sichuan, 24г.#5, ПК Азот Н28 скорость 391,3
6.Гильза Феттер, CX2000, 1,45 Sichuan, 28г.#7, ПК PistonSkeet Н25 скорость 422,5
7.Гильза Азот обрезана до 54мм, СХ2000, 1,35 Yiruida, 28г.#5, ПК ГП Н15, закрутка скорость 401,4
8.Гильза Азот, КВ209, 0,7г. Yiruida + 1г. Сокол, 30г.#5, ПК ГП Н21 скорость 394,3
9.Гильза Азот, КВ209, 0,15 капсюльного состава + 1,9г. Сокол, 32г.#5, ПК ГП Н21 скорость 391,3

Мой личный опыт гласит, что синеогия Салют-4 и СпСН грамм на грамм даёт отличный заряд под 27-30г, без фаерболов и копоти.
Аноним 08/04/26 Срд 19:12:12 186041 277
>>186038
>Так это и требуется
В целом да но тогда проще обойтись дымами на обычном перце а так же скажем пиротехникой на хлорацетофеноне. Если распылять те же баллоны можно зарядить хлорацетоном. Если взять огнетушитель то получается очень весело... Впрочем веселее всего на мой вкус когда судороги обосрался обоссался и сдох а не чихать и пердеть)) а это уже другие вещества и сложнее.

>Но как хранить аэрозоли-самоделки
Как как спокойно. Если достать гексахлорэтан то это просто насыпом в картонной упаковке дело. С четырёххлористым углеродом это паста готовую или надёжно запаивать например в пластик или держать сухой состав с ампулой чху внутри. Перед употреблением отпиздить немного подождать и поджигать. Смеси с пластиками сухие если добавить полихлорорганики совол совтол и тд то это паста. Но особых условий хранения не требуется эта байда почти не летучая. Раньше использовалась в промке для охлаждения (ибо не горит). Главное эту поебень руками не трогать а то потом может хуйня случится
Аноним 08/04/26 Срд 19:14:02 186042 278
>>186039
Блять обхуярился на одну цифру.
Ну короче пон
Аноним 08/04/26 Срд 19:30:11 186043 279
>>186041
А меркаптаны?
Вонючую бомбу можно изготовить в домашних условиях, поджигая алюминиевую пудру с серой. Получается сульфид алюминия, который под действием влажного воздуха источает сероводород, а под действием спирта — этилмеркаптан. В больших количествах сероводород убивает. Сначала вызывая, ВНЕЗАПНО, паралич обоняния.
Аноним 08/04/26 Срд 20:20:44 186045 280
>>186040
>Дорого, сложно, ненадёжно
Да я б не сказал. Когда цена за банку выше 10к очень даже заебись. Сложно ну относительно. Возможно я по себе сужу? Хз. Мне не сложно. По надежности скажу честно с чп никогда никаких проблем не было с одноосновными единственное что тяжело делать одинаковые по геометрии партии что сказывается на давлении и скоростях. Но у нас вроде и любители мамой клясться этим не блещут так что дело такое.

>Мой личный опыт гласит
Могу сказать по опыту что в 9х19 с пулей 125 gr и зарядом 0.26-0.27 г той мочи что в Д2 пуля преодолевает (по видимому незначительно) скорость звука. Ну и по ручкам стукает неприятно. Не знаю не нравятся мне эти пороха резкие они очень как удар по яйцам. Самодельный пластинчатый порох с 35% нг при тех же навесках ощущается мягче и дает эквивалентные скорости (может немного выше ибо все на глаз). Хотя пиковое давление по видимому больше т.к. при повышении навески до 0.3 г и чуть более начинает дуть капсюли. Тогда как моча из д2 имеет к этому меньшую тенденцию даже при применении более тяжёлых пуль в 147 gr. В длинный я откровенно сыканул сыпать строяк так что ничего сказать не могу
Аноним 08/04/26 Срд 20:57:00 186046 281
сыроежки.jpg 68Кб, 419x604
419x604
>>186045
>чп
Оставим его для двудул на самый чёрный день. И латунь туда же.
>>186045
>дуть капсюли
Недалеко до проблем, а то и до кабума.
Сычуань и смесь СпСН с нитропорохом норм в гладком, нарезь требует стабильности, потому как на 300м разница в энергетике уже даёт заметную разницу. Эх, ну где же Вихта по разумным ценам...
Аноним 08/04/26 Срд 21:17:40 186047 282
>>186043
Меркаптаны воняют но блюют от запаха не все кто то и кайфануть может. Ну и нюх так же отбивает в целом. Упороться ими насмерть возможно но не так просто.

>а под действием спирта — этилмеркаптан
Не. Тут под действием спирта будет осадок сульфида в этаноле. Даже реакция между H2S и этанолом при н.у. не идет. Можно получить меркаптаны пропуская спирт с H2S над окисью алюминия с осажденным торием при 400 С. Можно получить из абсолютированного 99.9% спирта с H2S и олеумом (тоже не очень кухонно). В промышленности меркаптаны получают реакцией алкилгалогенидов с гидросульфидом натрия. Обычно в качестве алкилгалогенида в случае этила выступает хлорэтил. В лаборатории это может быть этилбромид/йодид дабы не ебаться с газообразным состоянием хлорэтила. Гидросульфид можно заменить на тиомочевину с последующим разложением комплекса.
Токсичность H2S чуть меньше чем в два раза превышает таковую для SO2. Хаггард и леман сходятся на том что экспозиция ок 0.85мг/л в течение 30-60 мин вызывает в итоге смерть двуногих. Резкое падение чувствительности к запаху при этом наблюдается уже при концентрации 0.3-0.4 мг/л. В меньших количествах запах более злоебучий
Аноним 08/04/26 Срд 21:44:13 186048 283
>>186046
Да не сказал бы что только для двудул. 5.45 себя чувствует нормально как раз под банку самое то и дозвук выходит и банка перезаряд дает обратным пердежом. Единственное чистить потом песдес... Латунь дорогая но переснаряжается хорошо. Сталюка долго не живет хотя если сочетать с переснарядом капсюлей как раз раза на 2 потянет а потом выкинуть. А вот без банки и в мелочи типо 9х19 придется ручками дрочить ибо перезаряда нет. Что в целом не удивительно учитывая насыпную плотность и газообразование чп. Тут конечно лучше полудымный использовать. А в случае 7.62х54 можно и амидный например.

>Недалеко до проблем, а то и до кабума
Не проблем там максимум битый капсюль. А так навеска для такого количества пороха ещё и с нг просто дохуя вот и все. Ну и как я уже говорил пожилые капсюли устают поэтому могут быть приколы. Я тогда тестил именно с переснарядом на стандартной гремучертутной смеси.

>на 300м разница в энергетике уже даёт заметную разницу
Дико звиняюсь но я таки уже на 100 м вижу примерно нихуа 120-150 где то теоретический предел по попаданиям если повезёт. На такие расстояния разве что по групповым целям стрелять когда патронов жопой жуй но это уже армия а никак не бп. Принципиально не рассматриваю такие расстояния по причине того что нихуа не видно + на сотнях м влияет все не то что энергетика и мои подрагивающие руки но и если ветер пукнет с 7 м/с до 10 тоже будет разница. Как по мне весь движ будет если не в упор то близко к этому. Ближе 100 м. А если ожидается что будут щемить шакалы с сотен м лучше уж придумать другие варианты обороны. Но это мое мнение лично. Допускаю что не прав
Аноним 08/04/26 Срд 21:45:24 186049 284
>>186047
То есть не стоит оно того... ОК.
Аноним 08/04/26 Срд 21:55:39 186050 285
image.png 2913Кб, 3060x2520
3060x2520
>>186048
>на 100 м вижу примерно нихуа
ПИК же! На дворе 2026 год.
>>186048
>Допускаю что не прав
С банальнейшей Сайги МК семёрой накидать на 200-250м - без проблем в ростовую мишень, с упором можно накидать и в грудную. И это с простецким загонником х4.
С хорошего винтаря вполе можно уверенно работать на 500-600м.
Прям вот уверенно. Но калибры от 308 и больше, промежуток с лёгкими пулями хорош метров до 300-400, и то желательно не калашоид, а арочка субминутная.
А с банальнейшего Тигра с ПСО лично я уверенно стреляю до 400 примерно метров, дальше - хуже. мог бы напиздеть, но не буду Хотя кто-то с тюненых Тигров и на 700-800 стреляет.
Аноним 08/04/26 Срд 22:28:15 186051 286
>>186050
Можно конечно и теплак купить по цене хаты базару ноль сидя на заваленке заебись а потом когда по говнам в ебенях упал очнулся г̶и̶п̶с̶ разъебал уже. Поэтому готовимся к худшему на халяву не рассчитываем. Да и как уже говорил вся эта хрень это удел армии и каких то альтернативных миров из книг. Мне лично тяжело представить безальтернативную необходимость стрелять на расстояния в сотни м вне войскового боя. Я какую нибудь гражданку или очередную мировую/спец что нибудь за бп не считаю. А вот что б сидеть в городе на хате попердывать или сычевать загородом и вдруг необходимость стрелять м на 200-400 это я хз)) а вот в каких нибудь цыган охуевших за забором это да в это могу поверить легко. Оставлю стрельбу на дальние дистанции анонам которые закупают патроны тысячами и готовятся пулеметить по полной программе как пишут трутъ выживуны в книгах. Без обид ес чо. Я лучше буду зельеварением заниматься. Функция накормить кого то свинцовыми плюхами для меня опциональная а не основная

P.s. то что пуля летит далеко и достаточно кучно хоть из самопала это и ежику понятно. Обычно главная проблема это глаза и руки которые имеют неприятное свойство подводить в стрессовых ситуациях
Аноним 08/04/26 Срд 22:37:13 186052 287
В крайнем случае если очень надо будет я с таким пулемётчиком коопнусь. Тем более несколько знакомых разной степени отбитости есть. А вот зельеваров будет маловато. Я знаю только нескольких и большинство находятся совершенно в других городах. А трезвых там ещё меньше нем эти несколько
Аноним 08/04/26 Срд 22:51:23 186053 288
>>186051
>Мне лично тяжело представить безальтернативную необходимость стрелять на расстояния в сотни м вне войскового боя.
Сосед через улицу Ублюд Залупов обкурился комариных хоботков и решил что ты Сотона. До него ровно 350м. И он постреливает по твоему дому из окна чердака, периодически показывая из него жопу и крича "изыди нечисть треклятая".
1) В твоих руках арочка с оптикой. Ты стреляешь ему в очко, попадаешь между полужопий, сосед считает что он теперь выебан Сатаной и умирает в корчах.
2) Ты перебираешься в подвал под звуки битых стёкол и треска дерева, ожидая что сосед подойдёт поближе и думаешь, как будешь чинить дом.
Выбери.
Аноним 08/04/26 Срд 22:53:09 186054 289
>>186049
Из совсем простого можно попробовать получить фосфин или его аналоги селан стибин арсин станнан. Все это довольно злоебуче ядовито. Фосфин и арсин в свое время серьёзно рассматривали как ов.
Если чуть сложнее можно получить дициан он легче снижается и с ним все ж проще обращаться чем с фосфином. Ну и с ним не может образоваться примесей которые пыхнут
Аноним 08/04/26 Срд 22:56:09 186055 290
>>186051
>как пишут трутъ выживуны в книгах.
Обожаю эту фразу. Да, они часто расставляют столько роялей, что кустов за ними не видно, но здравая мысль одна у всех - оружие и патроны. Без этого ты будешь бродить и сипеть "мозгииии", покусанный и сине-зелёный, или станешь рабом. Или едой, что даже хуже.
Аноним 08/04/26 Срд 23:03:10 186056 291
>>186054
Помню любители задирать вверх руку планировали использовать трихлорид фтора, но даже для них это оказалось слишком.
А давай сейчас представим себя средними анонами, что только что купили двудулу, дрочат на цветных пони и срут в /b фотками повзрослевшей Маши Бабко. Что им нужно? Простота!
Шаг 1) пошёл в магазин феерверков, гдже распродажа новогодних остатков, купил бенгальских огней.
Шаг 2) на обратном пути зашёл в магазин "сад и садовод" и купил за гроши шашку от паразитов.
Шаг 3) на балконе всё растёр на картонке и высыпал в трубку из-под феерверка.
Это омжет даже анон с IQ60, и с 1 раза. А химия - её знать надо. И такой вот анон или устроит дома ёбаный ад с пожаром, или брызнет себе в глаз химикатом.
С такогоьракурса предлагаю на проблему посмотреть.
Аноним 08/04/26 Срд 23:18:41 186057 292
>>186053
>До него ровно 350м
Проблематично будет у меня найти такое расстояние по прямой учитывая кучное расположение домов и достаточно ровную местность. А до ближайших не то что доплюнуть но близко. Меньше 100 м. Но допустим. Дом кирпичный стены не в один кирпич в целом мне похуй. Но на всякий уйду в противоположную комнату что б рикошетом не цепануло. Если долбаеб достаточно активный я даже пытаться не буду понять где он там и тем более гасить. Я ж не в игре верно? Проникающее ранение в мягкие ткани винтовочной пулей даже на вылет без кв мед помощи (без хирургии тобишь причем не просто дырочку заштопать) в бп это гарантированная смерть просто не сразу. Стрелять буду только при уверенности в своей безопасности или когда иных вариантов не будет
Аноним 08/04/26 Срд 23:27:15 186058 293
>>186055
>Обожаю эту фразу
Я тоже пиздец как её люблю. Периодически просто почитываю всякую хуйню что б покекать какие все охуеть рембы шо пиздец. Половина книг чуть больше чем полностью состоит из расстрела кого-нибудь/чего-нибудь/очередного нех с перерывами на спермотоксикоз и обтекание с того какие охуенные новые стволы были добыты (не забыть передернуть на ттх). Так то кншн мысля здравая но надо не перегибать и помнить что не одними пукалками едины хотя я и сам к железкам не равнодушен. А то потом пошел выживать промок и загнулся нахер от какой нибудь спидозы потому что антибиотиков не было)) а антибиоту как обсуждали в утонувшем треде сделать ох как тяжело. Организовать стрелялку пулялку намного проще
Аноним 08/04/26 Срд 23:45:50 186060 294
hqdefault.jpg 29Кб, 480x360
480x360
>>186057
>пытаться не буду понять где он там и тем более гасить.
Ты можешь заранее сделать себе перископ из 2 зеркал и какой-нибудь фигни, зная что угол отражения равен углу падения. А можешь сделать то же, но с диоптриями. Будешь видеть далеко. Это в календаре школьника за 84 год, вроде бы, было детально описано, то есть средний анон сможет. А можно купить готовую кочергу с кратностями до 40. Тут как хочешь.
>>186058
>все охуеть рембы шо пиздец
Это главкек просто. То дочка ГГ 10 лет херачит обидчиков папы из блять 12 вепря, действуя как матёрый спецназёр, то у мамы двух детей, в школе 1 раз разбиравшей АК, проявляется талант (сука, умора) снайпера и за 2 недели она начинает садить из СВД в башку с каких-то несусветных расстояний, то блин школотроны устраивают многоходовочку с захватом полицейского околотка, имея 2 пневматических пиштоля... Иногда это так плохо, что даже хорошо. Трэш уровня гейхукеровского Говнотауна. Блин, вспомнил и кекаю сижу. Гейхукер! Алёша, как ты там, уже накопил на ружьё? Или жопа треснула?
Аноним 08/04/26 Срд 23:48:31 186061 295
>>186056
Наоборот только не FCl3 а ClF3.
Перебор оказался потому что производить дорого и хранить заебно. Газообразный фтор для синтеза даже сейчас дорогой а тогда тем более. А так это газ очень реакционный газ к тому же сильно летучий с большим давлением паров. Нормально хранить его можно только в меди. Но я ж такое не предлагаю. И зарин не предлагаю хотя тема годная.

>А давай сейчас представим себя средними анонами, что только что купили двудулу, дрочат на цветных пони
Ну тоды проще будет сходить только в садоводческий купить там относительно чистую коллоидную серу. А ещё лучше купить онлайн сразу дохуя чистой это будет даже дешевле. Думаю если с двудулой был успех и это можно осилить. Далее покупается нитрат калия (калийная селитра) и вся эта радость смешивается и пакуется хоть в втулку от туалетной бумаги. Вот собственно и профит. А в целом химия хуйня. У кого хватает IQ сварить борща по инструкции хватит и сварить того ж дициана. Если не будет лень мб завтра лаб методичку перепишу а сегодня уже точно лень. Вообще многие переоценивают химию и другие "сложные" вещи. При наличии годных методичек которые палятся в библиотеке или у коллег это все намного проще. Можно даже не разбираться в всех этих формулах и прочей залупе главное что б хватало мозгов правильно прочитать и сделать что написано
Аноним 08/04/26 Срд 23:57:16 186062 296
Homyapotsreot.jpg 75Кб, 600x580
600x580
>>186061
Я б написал про свои успехи в химии, но сорм и тспу не спят. Поэтому напишу что предпочитаю простые решения, и вредных штук для защиты от зомби у меня совсем-совсем нет. И делать не умею и вообще у меня в школе по химии четвёрка была, и иприт из уксуса и чеснока я не сделаю, не хватит знаний. А если придут зомби - вызову полицию.
Аноним 09/04/26 Чтв 00:03:50 186063 297
>>186060
>Ты можешь заранее сделать себе перископ
Желательно ещё прихуячить его сзади оптики все это организовать на станок или ещё как. Что б как минимум не светить своим ебалом и остальными частями тушки потом в попытке выстрелить. Короче уже ниибацца какой крафт сложнее борща)) да и не с ходу прям.

>матёрый спецназёр
Хуже когда "реальный" спецназер которого описывает аффтар ведёт себя как 5летний даун. Вот прям отсутствует все логика здравый смысл чувство самосохранения и тд. Хуже чем в кино. Хотя от части справедливости ради скажу что имел неудовольствие познакомиться с похожими товарищами правда не с спецназерами конкретно но все же. И в среднем там во всяком случае те господа которых видел не сильно были обременены думами (и я сейчас не про о великом а вообще). Сомневаюсь что все такие и тем более настолько пристукнутые как обычно выходит в писюльках
Аноним 09/04/26 Чтв 00:12:35 186064 298
>>186063
>Вот прям отсутствует все логика здравый смысл чувство самосохранения и тд.
Примерно каждая 3 аудиокнига от наших пейсателей в жанре постап.
Знавал я как разведчиков, так и деятелей, что дикими гусями зовутся. Они только хуями кроют всех этих пейсателей и сценаристов. Говорят "нет среди нас таких дебилов, не верь".
Особенно с фантастики угорают те, кто войной зарабатывает. Среди них дебилов просто нет, они мозгами на 50% воюют. А если дело в африке - то и на все 90, Но в аудиокнигах это или какие-то блохородные рыцари, вступающиеся за честь африканской девочки, обиженной бродячей бандой, или вообще дегенераты с синдромом берсерка и сверхспособностью не умирать от укусов кого угодно, от комаров до сука гиен. Гиен, бля...
Ну их нахуй короче. Круз, прости, но ты тоже не без греха. Земля те пухом, нахуй можешь не ходить
Аноним 09/04/26 Чтв 00:15:06 186065 299
>>186062
Да ладно какие там сорм. Всем похуй ты главное свои пикчи не кидай и тем более ролики. Если что всегда есть великая отговорка просто говоришь что ты пиздабол фантазер и тд. И расписываешься под этим. Если у тебя нет на хате пол кило тротила и ведра иприта грустным дядям нихуя не останется кроме как пойти нахуй. А так если принципиально им попадет палка в очко как показывает практика могут доебать даже за обсуждение игр ну потому что показалось блять что ты террорист ебаный.

>иприт из уксуса и чеснока
Эт чет на магическом все ж знают что иприт на самом деле варится из сероводорода
Аноним 09/04/26 Чтв 00:22:35 186066 300
Вот ещё не упомянул одну годную тян, и её мужа, "тяжёлого". Только не "нет ума-штурмуй дома", а он был из какого-то там отряда, который должен зачищать от террористов АЭС, гидроэлектростанции и всякую техногенку. Причём чел бросил институт, пошёл в пехотное училище, рвался в спецназ, абсолютно осознанно, и путь его был длинным. Причём в итоге попал куда и хотел, хоть и со 2 раза. Так вот среди них интеллектуал на интеллектуале сидит и эрудитом погоняет. Надо знать где можно стрелять а где нет, когда нужно съёбывать, а когда нужно просто лечь, и принять красивую позу, потому что пизда уже наступила. Ну и всё вот это вот. Так он очень не любил как книжки латыниных всех пород и мастей, так и фильмы про спецназ. А когда они поехали учить негров как не сразу умереть, воюя за ридну Кенийщину, он охуевал от черножопого начальства и солдат-дикарей. Но платили им очень щедро, посему терпел.
Аноним 09/04/26 Чтв 00:25:03 186067 301
>>186065
У меня дома даже капсюли и патроны в отдельном от ружей сейфе. Тащмайоры в восторге.
а кто зелья дома варит, тот пидорас и долбоёб
Аноним 09/04/26 Чтв 00:33:38 186068 302
>>186064
Насчёт воюющих могу сказать только что долбаебы быстро заканчиваются. Потому что естественный отбор оставляет только тех кто в состоянии приспособиться. У меня с моим друганом был общий приятель гойданутый так вот он там обладал дохуя моралью и прочими несовместимыми с выживаемостью вещами. Думаю уже понятно к чему я? В один чудный момент его с местными приятелями там крепко постукали сам он выжил но был по ранению списан (что удивительно) а вот часть тех кто с ним были задвухсотилась. Вообщем несмотря на все уговоры этот кадр как только более менее перестал напоминать овощ своим ходом поперся обратно хотя его никто не тянул. Как он заявил мстить короче. Вообщем второй раз удача его не посетила нашпиговало всю шею осколками. На этом и сказочке конец.
Насчёт круза мужик конечно был хороший но перечитывать его больше одного раза не могу глазам больно. Ну и к сожалению портал в ад он открыл тот ещё. Так сказать проторил дорожку благими намерениями
Аноним 09/04/26 Чтв 00:39:15 186069 303
>>186067
Можно и не дома)) загородом или в лесу или в гараже заебиззз. Дом желательно все ж жалеть а то обои осыпятся и говной вонять будет. А соседи потом будут спрашивать как в анекдоте хули тряпками жжеными воняет и какая то скотина постоянно ржет
Аноним 09/04/26 Чтв 00:47:36 186070 304
>>186068
>долбаебы быстро заканчиваются.
https://www.youtube.com/watch?v=L1ZxuIz0Q2U
Как мне Алёнка рассказывала, сомалийцы и кенийцы воевали так: они 2 толпами бегут друг другу навстречу и стреляют, иногда убивая своих, кто бежит перед ними. Кто быстрее кончился - тот и проиграл. Белые были в дичайшем ахуе от таких вот вояк.

>>186068
>портал в ад
Попаданцы. Это отдельный круг, там сам Тзинч ёбнется.
Аноним 09/04/26 Чтв 00:54:38 186071 305
https://ok.ru/video/5360863677065
Вадик, снайпер, писал что поначалу постоянно мазал по таким клоунам, потому что не мог перестать смеяться. Потом всё же привык. Его любимая фраза: "Пьяные пэтэушники могут захватить среднюю африканскую страну за двое суток, трезвые - за трое.".
Аноним 09/04/26 Чтв 01:01:03 186072 306
>>186070
>Попаданцы
Не я не про впопуданцев хотя и про них тоже. Но там действительно отдельный вагон приколов. А вот крузовским форматом описания ЗА сейчас болеют более 80% аффторов. Самое отвратительное что копируется надроч на стволы но только более мерзотно. Я сталкивался с индивидами которые чуть ли не в каждую главу пихали по несколько страниц тупо воды в виде обдрачивания ттх оружия патронов и прочей мочи ещё и с ошибками. И ладно б если вопрос был в языке так нет там бред чисто технический. Как говорится от создателей переключил аксу на авто а потом включил предохранитель
Аноним 09/04/26 Чтв 01:06:02 186073 307
>>186072
Знаешь, надо бы напейсать что-то с туркодрочерами. Ну вот он ЗА, а у стайки дебилушек рак армз cum butt, нестреляющие клоны Бени М4 и Итаки 37, у одного вообще барабанная леверка и тому подобные кралы. Ах да, и патроны у них сибирь и техкрим.
Спойлер: всех съели зомби.
Аноним 09/04/26 Чтв 01:11:23 186074 308
>>186072
>несколько страниц тупо воды в виде обдрачивания ттх оружия патроно
Самое смешное, что тем же муриканцам есть что обдрачивать, а у нас-то три с половиной калибра и видовое разнообразие стволов как в заполярье мандариновых лесов. Отдельным грехом ставлю дроч на Вал и Винторез. Когда-то они были хороши, но современные пушки их таки кроют. Тот же 300 блэкаут с одного и того же ствола летит и дозвук и сверхзвук одинаково хорошо. Вал же функционально заточен под дозвук... Эх.
Аноним 09/04/26 Чтв 01:21:52 186075 309
>>186073
Да да да да. А вместо картечи насыпали пользованых китайских шарикоподшипников. Точно и еще в к̶о̶л̶о̶к̶о̶л̶ подсумок насрали. Вообще б написал с удовольствием но чукча не писатель чукча кто угодно но только не писатель. Не идет у меня красивый слог. Максимум инструкции писать что б те кто читают 50/50 заснули или повесились нахуй от скуки. А так подкорректировать бы техническую часть что тех же ЗА что впопуданцев и было бы куда бодрее. А то я постоянно читаю и глаза режет до невозможности. Очередной гг мешает серебрянку в бензин а мне хочется размешать глаза в отбеливателе. Ну ещё б песка насыпал эффект был бы не хуже
Аноним 09/04/26 Чтв 05:59:06 186078 310
>>186071
>>186070
После того, как я посмотрел один стримчик про геноцид в Руанде, я реально зауважал Тутси. Для нас их уровень буквально недостижим. Мы рядом с ними реально какие-то северные нигерийцы.
Так что негр негру рознь...

Кстати про кулстори.
Однажды продаван в ормаге рассказал мне удивительную историю. Чел купил травмат, а потом принес обратно, с претензией "не стреляет". Разборка с целью поиска косяка закончилась на этапе извлечения магазина. Патроны были вставлены задом наперед.
Я тогда ему не поверил. Ну не бывает в природе таких долбоебов! А если бывают, то Товарищ Дарвин не позволяет им до 21го дожить. Ну а если все-таки эволюция отдохнет, Дарвин зевнет, то им умственная отсталость не позволит пакет бумаг для получения лицензии собрать.
Вечером пришел и специально попробовал - влезет ли патрон в патронник задом наперед. Влез. Выбивать пришлось шомполом...

Много лет я думал, что это вершина долбоебизма. Пока не услышал кулстори одного пиндоса, как он в Африке воевал. Короче, все видели ползунок на целике АК? Знаете зачем он нужен? Это оказывается регулятор мощности!!!
Местные сдвигали его до упора вперед, чтоб автомат сильнее бил.
Аноним 09/04/26 Чтв 07:49:07 186081 311
пневм.jpg 62Кб, 1200x800
1200x800
>>186078
>>186075
>мешает серебрянку в бензин
К-компетентность. Пик.
>>186078
>Местные сдвигали его до упора вперед, чтоб автомат сильнее бил.
А если снести автомат к колдуну, то он будет выпускать злой дух в сторону противника ещё сильнее.
Опять кулстори от Алёнки.
Саня, муж её, гонял негров в процессе обучения, пиздил их за косяки и пренебрежение правилами безопасности и отбирал из черножопой массы нормальных, остальных предлагал начальству отправить прямо нахуй. Из нормлаьных пытался сделать сержантов, чтобы те сами могли нести свет истины и просвещения в тёмные негритянские массы. Это черножопикам очень не нравилось, они же себя мнят великими воинами. Смотри, белый, вот как мы умееем визжать и морду красить! Ну подумаешь магазины набиваем по полчаса, зачем так переживать.
И задумали трое дебилов превратить Саню в жабу.Пошли к колдуну (они реально во всю эту мракобесную хуйню верят), сказали "преврати белого в жабу. он заебал". Колдун затребовал его волосы. А у Сани волос на голове самый минимум, а то и вообще бреет башку, там же жарко. В общем затея покосилась.
Тогда негры пришли к Алёнке, попросили у неё волосину. Она развеселилась, выдрала одну и им дала. Ну и забыла об этом вскоре.
Надо сказать, что на базе у них скважина, из которой наверх поступает весьма холодная вода, что алтайцам, купающимся в проруби зимой, очень нравится, и они поставили рядом со своим домиком бассейн, и лежали в нём после обеда, кайфовали. Негры же удивлялись, как они в такой холодной воде не умрут, ведь даже руку в ней долго держать нельзя.
Так вот однажды ночью послышался из бассейна шум. Саня караульных по рации вызвал, сам броник, трусы и каску надел, взял винтарь и вышел поглядеть. кто там плещется. Они бассейн сливают, как поплавают, чтобы туда не лезли насекомые да всякая херня, а тут бассейн полный, рядом лежит негр едва живой. и ещё 2 на дне. Бассейн-то каркасный и немаленький, Саня сам 2 метра ростом и поперёк себя шире, к слову.Тут караул прибежал, живого в столовую уволокли, горячим кофе отпаивать, и он поведал: колдун бабло взял, наколдовал чтобы Алёнка в жабу превратилась, а она не превращается. День, второй. неделю. Солдаты к колдуну по гарантии обращаются, типа ты пидор, ты нас обманул. Тот в отмазки, типа белая какой-то обряд совершает магический, поэтому колдовоство и не действует.
Эти дебилы подумали - а что она делает, чего не делаем мы? Ах да - они в холодной воде сидят, и их после этого заколдовать низя. Ночью они тихо набрали в бассейн и сели в него ждать иммунитета от колдовства. Двое заиммунились, у третьего хватило сил вылезти и про эту хуйню рассказать. Я лолировал рлтом пару дней с дебилов... Дикари. хули с них взять.
Аноним 09/04/26 Чтв 09:26:18 186082 312
IMG5732.jpeg 1171Кб, 1242x1839
1242x1839
Ушли от темы
Аноним 09/04/26 Чтв 10:06:38 186083 313
>>186082
Эти штуки не летят нормально.
Аноним 09/04/26 Чтв 11:04:17 186084 314
>>186083
Эти штуки для инициации того, что толкнет нормально, то, что должно летать нормально
Мы ведь тут из-за капсюлей же собрались и для поиска альтернативы ИВ для них
Аноним 09/04/26 Чтв 11:16:55 186085 315
>>186081
>К-компетентность. Пик
Ну вот блять к сожалению. Много знать таки в чем то вредно. Когда пытаюсь почитать какую нибудь хуйню даже что б покекать в итоге почти сразу цепляюсь за всякую залупу и если б только об нажатие курков дроч рожков и все такое. Это то похуй просто незнание матчасти. Но блять когда цепляешься каждую страницу за какой то бред который тупо с реальностью не стыкуется это пиздец. Так часто горел что считай перестал читать художку

>>186083
И не будут они нормально лететь. Физика ебаная не позволит. Даже если б это были ровные иглы и ты их запускал с нарезного ствола. Прикинь сколько диаметров там укладывается в длину и все станет понятно. А ещё в этой ебанине для стрельбы говном обычно стоит предохранитель от дохуя умных долбаебов и что б произошел выстрел необходимо непосредственно к чему то прижимать и дохуя плотно. Подойдёт как вариант застрелиться от полной безнадеги если даже мозги вышибить больше нечем
Аноним 09/04/26 Чтв 11:19:56 186086 316
В условиях БП, в красном колпачке гвоздя содержится вещества на десяток капсюлей
Если пойти в фантазиях дальше, то можно уже подумать и о самопальных гильзах, с проточкой в донце под гильзу от гвоздя. Достаточно выломать шляпку гвоздя из гильзы и просверлить по центру отверстие, сверлом на 1-2 мм
Красный стаканчик вынимается очень легко и ИВ из него не высыпается. Нужно зубочисткой ИВ ковырнуть
Потребуется модификация бойка под такие пластиковые капсюли. Он должен будет выглядеть как ударник от сигнала охотника, универсальным, как для накаливания привычных капсюлей, так и для пластикового, с повышенной поверхностью соприкасаеия
Состав вещества похож на пистоны к детским револьверам в смеси серы и пороха. Когда кропаль вещества насыпаешь на кувалду и бьешь молотком, то довольно таки резкий звук от инициации. Пахнет как хороший порох после срабатывания

Это всё в теории, которая вполне реализуема при жизненно важной необходимости
Аноним 09/04/26 Чтв 11:21:34 186087 317
>>186075
>насыпали пользованых китайских шарикоподшипников
А в чем проблема? чем это принципиально отличается от стальной дроби или стальной/латунной пули?
>>186078
>Патроны были вставлены задом наперед
Давным-давно, когда деревья были большими, мобильники маленькими, а я работал в одном московском райотделе, я с таким столкнулся и знатно охуел - моя начальница (вообще это нетипично, но для следствия и дознания нормально) запихала патроны в магазин донцами вперед. Правда, ей хватило ума понять. что получилась какая-то херня и прийти ко мне - мол, разберись и устрани.
Аноним 09/04/26 Чтв 11:23:04 186088 318
>>186085
Астанавись, не развивай
Я гвоздь предложил как ресурс, из которого можно извлечь вещество для релода капсюлей, а не для полета или метания гвоздей
Аноним 09/04/26 Чтв 11:37:02 186089 319
>>186084
там прям дофига капсюльного состава а не на донышке состава и остальное СпСН?
Аноним 09/04/26 Чтв 11:44:57 186090 320
IMG202509241539[...].jpg 2994Кб, 3264x2448
3264x2448
>>186086
>Пахнет как хороший порох после срабатывания
Поторопился про СпСН спросить. Видишь ли, если это китайские поделия, то там капсюльный состав таки на дне, а масса, пахнущая потом порохом, это и есть порох, только негранулированный. То же самое в гефестовском Д5 например, но они получатся дешевле, а выход пороха больше. Но лучше брать Д2 и 3, там порох сыпучий, а при сжатии донца гильзы (аккуратнее, блеять!) высыпается и само ИИ, жёлтое такое, яркое. Так что это не вся штукенция с капсюльным составом, нет. На пикче наши патроны с СпСН и тоже такой же жёлтый в них капсюльный состав. Сгорает хлопком, пахнет жжёными тряпками.
Аноним 09/04/26 Чтв 13:02:32 186091 321
>>186086
>красном колпачке гвоздя содержится вещества на десяток капсюлей
Пахнет пиздежом. Ты лично взвешивал? В стандартном мощном капсюле 50 мг +-3 мг в более слабых около 30 мг +-2мг. Пистолетные не дрочил во всяком случае новые так что увы. На десяток значит что в одной такой залупе должно быть от 0.3 до 0.5 г блять. Вдумайся в это цифру. Это много

>подумать и о самопальных гильзах
Подумать о том что у тебя как минимум есть калиберные трубы по размерам патронника листовой металл и возможность все это спаять. А лучше токарный станок и не распидореный 16к20 который старше тебя а хотя бы китайских аналог по проданным патентам который в силах попасть в 0.05 мм. Точить гильзы блять ну а там же и пули можно.

>пластиковые капсюли
И их распидарасит без жесткой фиксации в чем то. Пластик без охуенной толщины не держит.

>Состав вещества похож на пистоны к детским револьверам в смеси серы и пороха
Нет там блять никакого пороха и тем более серы. Состав в пистонах это смесь красного фосфора с хлоратом калия никакой серы там нет и никогда не было. Можешь сделать замену этого говна из толченых спичечных головок и подроченой намазки с коробка. И да можешь снаряжать этим капсюли это довольно надёжно даже но ронять ствол не рекомендую велик шанс случайно отстрелить хуй или что нибудь ещё ненужное

Пы сы да в петардах блять тоже нихуя не порох и то что пахнет "порохом" горелый металл и прочая залупа. С порохом бы это был унылый пук а там нужен бабах. Там обычно смесь перхлората калия с алюминием магнием или сплавом AlMg 70/30. Бывает ещё встречается хлорат калия но это скорее в паленых. Он опаснее зато дешевле. Ещё бывает смесь нитрата бария серы и алюминия но тоже не очень часто. Это все не порох бля это залупа. И да стрелять этим всем можно если ствол не жалко но с большой осторожностью. Желательно с короткого
Аноним 09/04/26 Чтв 13:05:56 186092 322
>>186090
>высыпается и само ИИ
Не ии а псевдо ивв тогда уж. Там смесь тетразена тнрс именно это говно желтое. Ну и есть ещё по мелочи но в целом похуй кому это интересно
Аноним 09/04/26 Чтв 13:14:07 186094 323
>>186092
>но в целом похуй кому это интересно
Есть этому применение, но не в капсюлях.
Можно накрутить патронов с этим составом пополам с быстрым порохом, сделав навеску грамма 4. Заряд весом 40+г позволит сделать в патроннике такой смачный кабум, что ебало стрелка мама родная не узнает. А кому эти патроны предложить - думайте сами.
Аноним 09/04/26 Чтв 13:16:29 186095 324
>>186094
>Заряд
Снаряд блять, снаряд. В моём случае это пуля Фостера, залитая свинцом по края. 41,8г В общем биг бада бум.
Аноним 09/04/26 Чтв 13:20:08 186096 325
177230810113508[...].mp4 2884Кб, 1024x1024, 00:00:05
1024x1024
>>186085
>Так часто горел что считай перестал читать художку
https://2ch.org/ew/res/185057.html#186093
Кратко, не очень интересно в виде текста, но такой сюжет был бы занимателен в формате короткометражки. Или может даже клипа блэкарей каих-нибудь. Или просто ИИ-шница.
Аноним 09/04/26 Чтв 14:00:09 186098 326
IMG5736.jpeg 936Кб, 2530x2256
2530x2256
IMG5735.jpeg 1227Кб, 4032x3024
4032x3024
Ебать, я конечно вашего экспертного мнения не умоляю, но нахой мне пиздеть или искажать
Рекомендую читать внимательно, а не по диагонали. А то напридумывали себе там маняфантазий, от моего имени
Нихуя там не разорвет и вещества дохуя
Состав я описал по ощущениям, где сера И ПОРОХ, по ощущениям. Про точный состав не скажу, бо спектральный анализ и сорта мне не доступены
Скажу одно, при изучении предмета, вполне реально зарелодить этой гремучкой капсюль, либо непосредственно использовать хендмейдные гильзы под патрон от гвоздя
На фото видно устройство и где сверлить дюзу

Рисовать конечно же я тут ничего не буду. У кого есть тридэ мышлении тот и сам осилит
Аноним 09/04/26 Чтв 14:08:20 186099 327
>>186094
>Можно накрутить патронов с этим составом пополам с быстрым порохом, сделав навеску грамма 4
Да заебешься ковырять 2 г этого капсюльного говна. Хочешь что б разорвало ебало положи даже обычный заряд 50/50 одноосновного пороха того же сокола с дымарем и все. Если он быстрый то ещё лучше. А хочешь наверняка то побольше чуть чем нормальная навеска. На ганзе было дохуя умников которые пытались стрелять смесью дымаря с нитропорохами по разным причинам. В т.ч. из за хуевых капсюлей. Последствия там разные от раздутия патронника до разворачивания ст коробки с попутным сносом ебала. Могу даже объяснить почему это происходит но опять же всем похуй

Пы сы если очень злой положи тот же заряд гмтд и все. Разрыв ебучки гарантирован. А предложить можно всяким пидарасам. Пиндосы в свое время пытались вьетнамцам предложить
Аноним 09/04/26 Чтв 14:16:23 186100 328
>>186091
> Подумать о том что у тебя
Подумал, о том, как пакистанские кустари или индусы из говна и палок льют, точат, лепят товары на экспорт и кекнул с твоих причин не делать самопальные гильзы
Им просто никто не сказал, что нужны станки с чпу
Из запруфаного примера- льют блоки для трактора беларус и мтз, в ямки в земле блять
Точат тормозные диски для известного бренда
Льют гильзы двс в каких-то сараях и много еще чего

Я к чему, срать захочешь- штаны снимешь
Бало бы желание, а уж самопальные гильзы это самое легкое. Капсюль! Капсуль, блять, вот где гемор
Токарный проф или школьный станок ненужен. Достаточно для гильз два токарных конуса упора, ножной привод, шкурки, лекало- копир примитивный и напильники. Само собой штангель. Копию патронника можно получить залив туда расплавленной серы. Само собой смазав патронник графитовой пылью от щеток. Точи себе на копире гильзы, как это делают столяры с балясинами
Надо просто быть внимательным к деталям и думать не шаблонно, а выходить за рамки реальностей
В конце концов, латунные гильзы можно отливать достаточно точно, а затем обрабатывать посадочное место разверткой, с наружи я выше описал как.
Кстати, с гвоздя красный колпачок вполне подойдет на шпилечный карамультук или револьвер. Обсадить его гильзой с мелкашки, он 5.9 мм примерно. Как вариант в саму гильзу порошок засыпать
Аноним 09/04/26 Чтв 14:22:59 186101 329
IMG5737.jpeg 1751Кб, 4032x3024
4032x3024
Пахнет прям царским порохом
По цене ниже трех рублей за гвоздь, вполне годный источник для релода
Горит очень быстро, резко
Аноним 09/04/26 Чтв 14:31:55 186102 330
>>186099
>Да заебешься ковырять 2 г этого капсюльного говна.
Я всё равно ковырял патроны на предмет СпСН, почему бы и капсюльный состав не забрать? Я его не ковырял, я пассатижами сжимал донце. Медленно. И тренировка (патроны твёрдые) и капсульный состав.
Аноним 09/04/26 Чтв 16:17:39 186103 331
>>186098
>но нахой мне пиздеть или искажать
Ну если нахой можно было взвесить состав чо. Чистый блять а не вместе с пластиком

>>186100
>кекнул с твоих причин не делать самопальные гильзы
>им просто никто не сказал
Ответно кекнул с идеи делать ебаный кал копируя чурок без проф образования. Может ещё будем делать нарезы в стволе скрученным шестигранником? Ну эти ж макаки могут значит это хорошая идея. Про чпу я к слову ничего не говорил это уже твои фантазии)) дроч на чпу и печать оставь обывашкам у которых нет знаний

>в ямки в земле блять
Ну и получают блять отвратительный результат. Вся отливка пористая с нарушенной геометрией и хуй знает какими ещё дефектами. Потом при серьёзной нагрузке а то и без пойдёт по пизде.
Вообще у меня таких криворуких пидарасов на работе хватает. Заебался уже за ними фиксить. Пидарасы из термички наверное как раз равняются на всяких абдулов учитывая что детали каленые похуй как на глаз и вечно кривые

>Я к чему, срать захочешь- штаны снимешь
Это действительно так базару ноль

>Бало бы желание, а уж самопальные гильзы это самое легкое. Капсюль! Капсуль, блять, вот где гемор
Пиздеж как есть. Все вопросы с капсюлем можно уложить в несколько минут разбора. Уже обсасывал при прямых руках ничего сложного. А гильзы это самый пиздец. По хорошему их делают вытяжкой а не тыком пальцем в жопу а это занятие очень веселое. Целый том есть посвященный этому говну и там больше формул чем средний анон видел за свою жизнь. Ну короче долбаебы для долбаебов писали потому что им нехуй делать

>Само собой штангель
Ахуеть ты молодец родной там размеры микронами закрыты а ты предлагаешь пользоваться штангенциркулем у которого погрешность не меньше 20 микрон а у самого обычного блядского все 50. Для справки допуск на патронник птрд закрыт 5 сотками и это военное время нахуй и середина прошлого века. А ты предлагаешь легкую стрелковку штангелем... Микрометр и плитки без варика.

>Копию патронника можно получить залив туда расплавленной серы. Само собой смазав патронник графитовой пылью от щеток
Получить копию неведомой ебы в том случае если вся эта поебота будет успешно вытащена. Погрешность изготовленного патронника + износ если он не новый + усадка серы ты знаешь хоть какая усадка у серы? А я тебе скажу 15% блять. Ну и сверху ещё смазка для очка добавит погрешности. Дам охуенный совет лей свинец у него хотя бы усадка ниже в 4.5 раза. А вообще варик говно проще уж шлифнуть набор калибров если очень хочется
Аноним 09/04/26 Чтв 16:36:51 186104 332
>>186087
>А в чем проблема? чем это принципиально отличается от стальной дроби или стальной/латунной пули?
Стальная дробь такое же говно так что отличий то не очень много. А если со свинцом то это одна большая проблема. Слыхал зачем супермагнум родили? Плотность стали проигрывает свинцу на 31% в среднем если не изменяет маразм латуни на 26%. Если сыпать дробь то у тебя нихуя не влезет нужный вес. С латунными пулями ещё можно попробовать. Пороха рассчитанные на свинцовую пилюлю делают или пук среньк или не достигают паспортных давлений и сгорают не полностью. Можно ещё доебаться до того что сталь это дырокол но это уже мелочи
Аноним 09/04/26 Чтв 17:11:28 186105 333
Вообще не понимаю логики как сочетается дроч на кривую хуйню и то что можно сделать на отъебись главное что б хоть как то работало с тем что капсюли это дохуя сложно. Ну сделай так же на отъебись и будет охуенно ж. Ебани вырубкой с одновременным прессованием из алюминиевого листа просто колпачок с надрывами задирами со всем остальным как есть похуй. Набей толчеными спичечными головками в смеси с фосфором с обмазки коробка и охуенно. Если не будет лезть в гильзу просто распидоривай посадочное отверстие сверлом. Ну пизданет немного порвет этот капсюль ебаный и не страшно. Даже после изобретения унитарного патрона с закрытым затвором при выстреле сзади хуячило п/х газами потому что подгонки деталей было 0 и гильзу надрывало. Ну и тут ж ничего страшного не будет
Аноним 09/04/26 Чтв 17:22:41 186106 334
image.png 249Кб, 310x399
310x399
Аноним 09/04/26 Чтв 17:37:57 186107 335
Если хочется заняться дохуя говноделием тогда берешь нихуя не арочку не современные патроны и не пиздишь короче.
Делаешь страшные корявые гильзы похуй как (можешь даже шлангелем померить для приличия)
https://youtu.be/0o-VQgeyFv4?si=pLX_AM4-obDOD3JD
К ним потом делаешь уродские капсюли сажаешь на похуй абсолютно как влезет и получаешь примерно такой результат
https://youtube.com/shorts/8b55QTsjbf0?si=ekOvHuG-0uKEZjWa
Ну там малях гильзу рвёт в пизду а с таким капсюлем порвет ещё и его ибо допуски пошли нахуй но стреляет же. Ебало близко не подносить и нормально. Гоев гонять пойдёт
Аноним 09/04/26 Чтв 17:40:21 186108 336
>>186102
Слушай, ты слишком зашорен и слишком профессионально на это смотришь
Столетия назад твои микроны на хую вертели, а стволы нарезали на станках из дерева
Использовали тряпочки заместо пыжей и пули в нее заворачивали
Наша среда обитания в гипотетическом пиздеце- это подвалы, гаражи, землянки, где мы вернемся к малосерийным производствам на коленке
Большим плюсом будет то, что у нас будет более высокоточная инструментальная база, ручной инструмент как таковой и станочки, фрезеры
Гильзы латунные нихуя там в микронах не всрались
После выстрела гильза раздувается по размерам патроннике, чем они собсна и хороши. В дальнейшем гильза будет плотненько входить- прецизионно
Для нарезняка есть матрицы фулсайз- хуйсайз, но и гильзы делать хитровыебанве кустарно нуегонах
Аноним 09/04/26 Чтв 17:50:07 186109 337
>>186103
> вместе с пластиком
Весы кухонные, чо сразу плеваться то
Они вообще там от одного грамма с погрешностью в +-0.5 и без пластика не среагировали
В любом случае, порошка прилично
Горит бодро. От молотка норм ебошит
Гвоздь спокойно протыкает стенку морского контейнера
На десяток капсюлей, например боксер, вполне хватит
Для центробоя или жевело хз, мож на 3-4
Аноним 09/04/26 Чтв 18:11:36 186110 338
>>186108
>слишком профессионально на это смотришь
Соглашусь это так. Я уже заебался говорить если честно что дохуя информации особенно профильной имеет свои минусы.

>Столетия назад твои микроны на хую вертели, а стволы нарезали на станках из дерева
Столетия назад про ебаные микроны нахуй не слышали к сожалению. Точнее их не существовало как явления ибо достигнуть просто так не могли ну и нахуй надо как говорится. Без пневматики тоже вон жили.
А ещё перед тем как хуево нарезать ствол резцом потратив 100500 ч на протяжку их ковали блять. В ручную нахуй.

>Использовали тряпочки заместо пыжей и пули в нее заворачивали
Ну не совсем так но похуй)

>где мы вернемся к малосерийным производствам на коленке
Большим плюсом будет то, что у нас будет более высокоточная инструментальная база, ручной инструмент как таковой и станочки, фрезеры
Малосерийное производство не повод делать хуйню. Я вот периодически занимаюсь малосерийным высокоточным производством. Типичный допуск 9 микрон или меньше.

>Гильзы латунные нихуя там в микронах не всрались
Ну тогда и нормальное оружие не всралось. Нужно вспоминать как выглядит типичное капсюльное пуляло века 18-19. Тут или шашечки или ехать других вариков нет. Я так то не сильно зашорен и не очень против такой хуйни но тогда чо надо обсуждать карамультук какой а не современное оружие и современные патроны.

>После выстрела гильза раздувается по размерам патроннике, чем они собсна и хороши. В дальнейшем гильза будет плотненько входить- прецизионно
Раздувается это заебись но если сделана через жопу (а именно так и будет) прикинь то даже латунь сначала дает микротрещины а потом эти микротрещины превращаются в разрыв гильзы. Это в лучшем случае если ее не пидарасит сразу. К слову дуются они так прецензионно что могут даже привариться намертво и единственное что там войдет или выйдет это оторванная жопа гильзы. Ну или будет клин намертво если гильза прочнее. Могу сказать что в 9х18 для данного чудного эффекта достаточно разницы с патронником в одну десятку. Дяди которым нехуй делать придумали делать в патроннике проточки для того что б гильза намертво не приваривалась и ее было возможно извлечь. Ну а при соблюдении допусков это просто облегчает экстракцию.

И да дутые гильзы обычно хуево входят обратно. На полуавтомате особенно весело будет. В этих самых матрицах хуятрицах до конкретных размеров обжим идет не просто так. А если они живут не раз и не два так ещё и подрезать надо))

Пы сы в целом я не против говноделия просто не нужно его комбинировать с хорошими условиями. Говном заниматься в говне и не пытаться напихать говна в конфеты
Аноним 09/04/26 Чтв 19:21:30 186111 339
Вы на полном серьёзе обсуждаете хуёвое, корявое оружие, которое будет ХЗ как стрелять корявыми патронами? Попробуйте устроиться в турецкую компанию Сулун. Там вам будут рады.
Аноним 09/04/26 Чтв 19:21:35 186112 340
>>186109
>Весы кухонные, чо сразу плеваться то
Они вообще там от одного грамма с погрешностью в +-0.5 и без пластика не среагировали
И ты с такими весами чет переснаряжаешь? Нитруху меришь небось объёмами? Как чп чисто меркой. Если при этом все пальцы и глаза в комплектности то это круто. Бля если серьёзно чего не купить весы хотя б до 0.01 г? Они ж нихуя не стоят буквально чуть дороже пачки сигарет. Там конечно типичная погрешность 50 мг (целый жевело по начинке ебана) но все же

>Для центробоя или жевело хз, мож на 3-4
В жевело намного больше чем в цбо впрочем с жевело я б не возился
Аноним 09/04/26 Чтв 19:24:47 186113 341
image.png 711Кб, 1200x621
1200x621
Картинка отвалилась
Аноним 09/04/26 Чтв 19:26:31 186114 342
IMG202211191233[...].jpg 3293Кб, 3264x2448
3264x2448
>>186112
>Там конечно типичная погрешность 50 мг
Поэтому у меня Аосаи. Гирьку в 5,05г они показывают как 5,05
Мимо релодырь-кун.
Аноним 09/04/26 Чтв 19:31:33 186115 343
>>186110
По канону, хорошее оружие отнимут погоны
Вторые на очереди- группа лиц по предварительному сговору
Нам же останется выкапывать или крутить, как ты говоришь, шестигранник в дорн, а по поводу микронов и рисков порвать ебало, от некачественных боеприпасов, скажу, что это последнее, из того, что будет кого либо беспокоить
Романтика от бп быстро улетучится
Вернемся к примитиву в текнолоджи

Я сам в душе перфекционист, но я закрою на это глаза, даже если у меня начнутся позывы к ломке, от кривизны или от проебаных допусков
Аноним 09/04/26 Чтв 19:31:55 186116 344
>>186111
>Вы на полном серьёзе обсуждаете хуёвое, корявое оружие, которое будет ХЗ как стрелять корявыми патронами?
Ну предложил не я))) хотя деградач на мой взгляд дело вкуса. Единственное против чего я точно это пихать в нормальный ствол каловые патроны которые сделаны хуй пойми как. Жалко просто. В хуевом не страшно выстрелит то один хрен хуево. А так почему нет впринципе... Поверь особой половой разницы для анона не будет если в него попадут из 12к заводским патроном или же эквивалентным самокрутным патроном из трубы 3/4 или вообще с поджига опять же эквивалентным зарядом
Аноним 09/04/26 Чтв 19:38:45 186117 345
image.png 133Кб, 426x381
426x381
>>186116
Орочьи технологии, блеать!
Не, я правда постараюсь сделать так, чтобы до конца жизни не делать из унитаза печку а из водопроводной трубы - стреляло. Хотя могу.
Аноним 09/04/26 Чтв 19:45:53 186118 346
image.png 123Кб, 336x188
336x188
https://www.youtube.com/watch?v=IWgBAOAtM7E
Думаю всё же лучше что-то такое под заботливо сохранённые заводские гильзы (у меня за 1000 мытых, обжатых и расправленных под 12 калибр например).
Аноним 09/04/26 Чтв 19:52:48 186119 347
>>186114
>Поэтому у меня Аосаи. Гирьку в 5,05г они показывают как 5,05
И как оно? Норм? У меня были только не 168 а 188 100г/0.01 щя вот думаю чего взять ибо там где было уже хуй. Если не найду мелкого размера психану и возьму себе лаб до 0.0001 г надо короче герметик взвешивать
Аноним 09/04/26 Чтв 19:59:00 186120 348
>>186112
Это весы для шатунов брал двиг капиталил
Для релода у меня китайские, выживательские
Дядюшка Ляо калибровал

А мне в силу торжества ума, наоборот кайфовее было бы жевело переснарядить
Но это сейчас, а когда почнется, то само собой центробой или боксер в приоритетах
Оснастку можно и сейчас начать готовить, кто жаждет
Разврльцовку, прес, завальцовку. Печка нужна для отжига/ отпуска
Самое главное правило: глаза боятся- руки делают
Аноним 09/04/26 Чтв 19:59:55 186121 349
>>186119
>И как оно? Норм?
Да. Из минусов только батарейка 2032, они сейчас недешёвые. Но весы крошечные, их можно таскать с собой по надобностям просто в кармане, а отсек под ААА например сделал бы их больше.
Аноним 09/04/26 Чтв 20:06:58 186122 350
>>186118
це хуйня щя будет лучше
>>186117
>Орочьи технологии, блеать!
Если шмаляло тогда побольше и шо б патронов блеать! Даешь хардкорный магазин без блядских губок
https://www.youtube.com/watch?v=VdU-uOk9f8U&list=PLTouhkiv9FXQi-8pOFgj6Eee7a27-W7Cl
Записывайте рецепт епта. Одно видео с канала по этому убер гану уже снесли))
пы сы осечки и прочая ебала в наличии как и полагается
Аноним 09/04/26 Чтв 20:08:28 186123 351
>>186121
Ладно записал имею ввиду
Аноним 09/04/26 Чтв 20:20:43 186124 352
>>186120
>Это весы для шатунов брал двиг капиталил
Ну а нахуа тогда на них вешать если есть нормальные? Жирно же блеать.
>Дядюшка Ляо калибровал
По хорошему их надо каждый раз калибровать на ровной поверхности после суток при норм т и без наводок статики они от этого любят подпездывать. Ну и гирьки естесственна не комплектные пользовать желательно
>Разврльцовку, прес, завальцовку. Печка нужна для отжига/ отпуска
Да там рот ебись срезать разве что в пизду короче. Лучше кв распрессовывать по человечески и потом нормально собрать а не в жопу ебаться. А печь просто нахуй там и без этого нормально. Ты еще гильзы мля попусти если неча делать))
Аноним 09/04/26 Чтв 20:22:36 186125 353
>>186122
С такой дерготнёй прицельно не постреляешь.
Аноним 09/04/26 Чтв 20:26:47 186127 354
>>186125
Стрелял ради интереса с похожей залупы от бедра. Попасть реально м на 10-15 если постараться на 20. Не могу сказать насчет поебени с видео но однозарядку легко применить неожиданно (на ствол не похоже)
Аноним 09/04/26 Чтв 20:38:20 186129 355
>>186127
>Попасть реально м на 10-15
На это способны примитивнейшие образцы из 2 труб, палки и гвоздика. Если после БП у кого-то будет токарник и генератор, то наклепает таких вот орочьих пулял и озолотится.
Аноним 09/04/26 Чтв 20:48:56 186130 356
>>186129
А я и имел ввиду такой девайс только просто гвоздиком на деле обойтись все чуть сложнее и заглушки желательно не пользовать а так да 3/4 и дюймовка после некоторого пидоринга. Токарник для этого вобще не нужен. Все руками с труб из строительного Патрон правда люфтит на несколько десяток но в сравнении с гильзами на кухне это хуйня все. Кста из пластиковых гильз можно сделать "новые" бумажные. Правда их рвет но опять же похуй.

Лан пацаны заебись но пойду отдохну от обсасывания стволов патронов и прочей микронной и не очень ебалы. Про термобарический гуталин для гранат на гексогене как нибудь потом
Аноним 09/04/26 Чтв 21:11:34 186131 357
IMG5738.jpeg 771Кб, 1242x1403
1242x1403
7356BD93-3D9A-4[...].jpeg 2073Кб, 3840x2160
3840x2160
>>186124
Ну дак я не дома же был и ковырял гвоздь в гараже
Нахой мне релодить в гараже, на весах для шатунов
Калибрую, меркой с пикрила, само собой, она ведь статична
Печка для отжига проблемных или металлических гильз
Просто для опыта, откатать кримметку
Релодить 762 в планах нет, но расходку прикупил на всякий
Так же хочу греть для декапсюляции люгера ебучего бердана. Точнее для эксперимента с нагревом. В любом случае, индукционная печка ило на газу лишней в моем хозяйстве не будет
Аноним 10/04/26 Птн 08:41:22 186133 358
>>186131
Ну так взвесил бы позже епта зато точнее блэд. А так нихуя не пруфно получается. Есть а сколько есть хуй его знает. Плотность запрессовки никто не знает матан бессилен а вот это вот на глаз ну там дохуа лично не мой метод без обид.
Калибровать меркой эт кншн жоска ноу коммент.
Отжиг гильз проблемных... Ну это сильно не поможет точнее вообще блять не поможет ещё и геометрию может попортить. Да и жечь если так надо после матриц и прочей поеботы чисто напряжение снять больше там нехуй делать. И да надеюсь блять не стальные гильзы? И пизда будет. И да сталь там конечно не ст3 но она в большинстве случаев не калится нихуя ес чо. Отжиг максимум деф напряжения снять а микротрещины и прочие дефекты это не закроет. Что будет с биметаллом хуй знает но навряд ли что то очень хорошее. Люгер насиловать ради декапсюляции блять бедный люгер не завидую)) он и так нормально декапсюлируется если не пальцем. А печь лучше тогда уж газовую с нормальным объёмом и заделом чугуний лить эт всяко полезнее будет. Нальешь там корпусов под старый порох и заебись будет
Аноним 10/04/26 Птн 09:18:07 186134 359
11050844.jpg 36Кб, 640x335
640x335
>>186133
>это вот на глаз ну там дохуа
Можещб примерно так почувствовать? (цэ)
Аноним 10/04/26 Птн 09:29:30 186135 360
>>186133
Чем гирька из комплекта весов отличается от рандомной статичной хуйни типа мерки?
Тем что она блять ПОВЕРЕННАЯ?
Я сколько весов не пробовал, везде есть погрешность, электронных само собой
Возьми свою гирьку и проведи цикличный тест
Поставил- снял, раз 20 и если у тебя не еба весы из лабы, где чувствуется разница в атом, то весы выдадут разбег в 0.01-0.06
Потом проделац тоже самое с гильзой или пулей
А если между подходами будешь делать неодинаковые паузы по времени то и погрешность будет гулять разительно
Я перестал дрочить на палату мер и весов и купил несколько ляовайных весов за тыщу каждые
Задрачивать триклером до крупицы у меня нет времени, я слишком стар для этой хуйни и задачи не те
В случае бп тем более, заниматься этой хуйней времени не будет, если только ты не в составе группы лиц по предварительному сговору и у вас есть БАЗА

Повторюсь, ты слишком профессионально подходишь к этому
Я был таким, но жена охладила моё траханье. Она сказала: мне не нужен твой перфекционизм, мне нужен результат сегодня, сейчас, который приемлем и не его ожидание, когда ты вылизываешь поделие неделями, лишь бы все было по струночке, по госту
БП, он здесь и сейчас, а не: падажжди, не стреляй, щас я весы откалибрую в вакууме

Да вот с берданом беда в люгере, капсюль протыкается, и даже вторая попытка не дает результата, хочу замутить прогрев, если не прокатит, то перейду к крафту гидропреса- декапсюлятора
От классического дроча с капсюлями бердан я не в восторге. Накупил латуни под боксера, вот уж годнота. Но и стальных люгеров пару тыщ жалко списывать. Когда матрицы сотрутся, то будет не жалко и дальше удрачивать их. Кокраз и патронник подгуляет к тому времени под уплывший в матрице фуллсайз
Аноним 10/04/26 Птн 09:38:56 186136 361
Сегодня для наглядности сломаю шесть гвоздей
Оценим визуально объем
Его объем после уплотнения- от руки
Вес всей кучки, поделим на 6 и выясним, сколько же там веса
Без смс регистрации и мокрых писичек
Следственный эксперимент закончим сожжением

Скажу сразу, от работы этого гвоздя в ушах звенит и работать надо в очках, бо осколки бетона и мусор на нем ебошат жоска. На лице кожу пробило
Ставил опалубку и даже по ногам секло. Сапоги надел, поконтрил
Это к слову о силе заряда
Аноним 10/04/26 Птн 09:58:50 186137 362
>>186135
>Поставил- снял, раз 20
Аосаи могут так сделать, примерно на секунду показать +0,01 или +0,02. Просто на пустых весах жмёшь "Т" - всё, этот эффект уходит. А можно просто ждать 3-4 секунды, всё устаканивается.
Лабораторные весы и стоят не 1к рублей, но скажем для релоада глади это нафиг не надо. Даже с быстрым порохом разбежка в 0,01 субъективно не ощущается. Даже с ТП-3.
Другое дело снайперские .338 или какой-нибудь кридмур. Там до порошинки народ выдрачивает навески, но им и стрелять на километр.
Аноним 10/04/26 Птн 10:11:38 186138 363
>>186137
Ну собсна и я о чем

Тема нашего собрания- релод капсюля
Так сложилось, технически, что самые доступные для релода это жевело и бердчан, а как мы понимаем, в первую очередь они для глади, что подразумевает: да пох там на навеску до атома
Содержимое гвоздя в капсюль +- атом тож роли не сыграют. На крайняк можно пороха добавить в капсюль, чтоб наверняка струя продула всю навеску пороха и равномерно его подожгла в гильзе
Аноним 10/04/26 Птн 10:21:08 186139 364
>>186138
>На крайняк можно пороха добавить в капсюль
Дымаря? Раньше ж в латунную гильзу малясь дымаря подсыпали на капсюль, а сверху Сокiл. Зимой это работало лучше чем просто нитропорох с дохленьким центробоем.
Аноним 10/04/26 Птн 11:26:55 186140 365
Аноним 10/04/26 Птн 11:29:02 186141 366
IMG202604101039[...].jpg 575Кб, 1080x1121
1080x1121
IMG202604100819[...].jpg 340Кб, 1080x416
1080x416
IMG202604100819[...].jpg 839Кб, 1080x1710
1080x1710
IMG202604100820[...].jpg 807Кб, 1080x1696
1080x1696
>>186135
>Чем гирька из комплекта весов отличается от рандомной статичной хуйни типа мерки?
Тем что она блять ПОВЕРЕННАЯ?
Классом точности в первую очередь лол. Поверенностью уже вторично

>Я перестал дрочить на палату мер и весов
Хочешь сделать хорошо делай сам и так что б все охуели)) Делать как придётся не вставляет

>В случае бп тем более, заниматься этой хуйней времени не будет, если только ты не в составе группы лиц по предварительному сговору и у вас есть БАЗА
В наличии. И время будет более того уверен лично у меня после бп его будет больше чем дохуя. И мое не говноделие будет востребовано как минимум в моей компании а то и дальше скорее всего. Бомжевать под кустом не намерен

>когда ты вылизываешь поделие неделями, лишь бы все было по струночке, по ГОСТу
К счастью вылизываю когда что то делаю не неделями. Но с дуру можно и хуй сломать торопиться такое. А по струночке это заебись но с ГОСТами оно как когда

>Когда матрицы сотрутся
Купи или сделай карбидные. Скорее хуй и жизнь тоже сотрутся чем они.

Накидаю для угара по вопросам точности ещё так что если реально бомбит лучше расчехлить огнетушитель.

Пик 1 типовая чистота по сырой стали после обработки на совковом токарнике. Биение 1-2 десятки
Пик 2 полуготовая залупа обдроченная мной. Левая сторона сделана блядским токарем оттермичена отпескоструена но не отпидорена. Демонстрирует конусность на 60 микрон с завалом по середине до 70. Ну и чистоту поверхности. Биение после термички обычно 2-4 десятки. Бывает больше и меньше. Справа уже обдрочено класс чистоты 9 Ra0.32 или 0.2 короче. Допуск 9 микрон но в процессе обдрочки было попущено только на 5. Сталь у10 или у12 не помню. Твёрдость 60 HRC с копейками
Пик 3 тест входа куда то помимо очка собаки пройден успешно
Пик4 стоит как хуй если прижать на резиновом коврике. Тест на герметичность пройден
Аноним 10/04/26 Птн 11:32:21 186142 367
IMG202604101038[...].jpg 761Кб, 1080x1862
1080x1862
IMG202604101040[...].jpg 653Кб, 1080x1213
1080x1213
Не влезло поэтому добавка.
Пик 5 чисто прикол но при ровном поднятии с резинки поднимает ковер нах. Г-герметичность Т-точность
Пик 6 готовая пупа и лупа. Обдрочены полностью
Аноним 10/04/26 Птн 11:42:29 186143 368
>>186138
>На крайняк можно пороха добавить в капсюль, чтоб наверняка струя продула всю навеску пороха
Ну в капсюль хуй знает разве что это жевело он здоровый. Но можно и в гильзу главное немного и нормально зафиксировать все что б он не сыбался нахуй. А насчет поджига и продува похуй самое главное давление его для нитрухи может быть мало на слабом капсюле. Температура вторична. Не помню насчёт тех что на тнрс но на гремучке то точно горячие даже если давления мало
Аноним 10/04/26 Птн 12:21:40 186144 369
Проверил сейчас себя что б не пиздеть. При подъёме давления с 1 атм до +-1000 дымарь горит раз в 9-10 быстрее тогда как при этих же условиях одноосновный в 85-90 раз а двух отстает от него примерно на треть
Аноним 10/04/26 Птн 13:51:42 186147 370
>>186141
Ну дак, ты станочник и есть БАЗА
Зачем ты тут тратишь время зря, среди кузмичей, у которых из точного штангель из пластика, да часовые индикаторы у единиц, а заместо токарного, два конуса упорных, с ручным приводом а-ля лук
> карбидные
Ну такое
На гильзе остался кропаль корунда, от пескоструя видимо, и задрал стенку матрицы
Теперь на гильзе продольная царапина. Немного завальцевал задир, но все равно еле заметный след на гильзе остается
Матрицы лишные, карбид, ебать его в сраку
Хотелось бы с вибраниума, как минимум

Для себя решил, когда почнется, если закончатся мои припасы раньше БП, то спокойно освою модернизацию латунных гильз от гладкого, под инициатор от гвоздя
Донце гильзы, толщину увеличу тупо заливкой олова на травленую соляную кислоту. ПОС 40 вполне справится. Благо есть стаж медника и прочность паянных деталей известна
Отверстие посадочное сформирую спокойно

В детстве делали поджиги и в заглушеную трубу заливали свинец, чтоб камора была с ровным днищем. Рабочая схема
Аноним 10/04/26 Птн 13:52:03 186148 371
>>186141
Ну дак, ты станочник и есть БАЗА
Зачем ты тут тратишь время зря, среди кузмичей, у которых из точного штангель из пластика, да часовые индикаторы у единиц, а заместо токарного, два конуса упорных, с ручным приводом а-ля лук
> карбидные
Ну такое
На гильзе остался кропаль корунда, от пескоструя видимо, и задрал стенку матрицы
Теперь на гильзе продольная царапина. Немного завальцевал задир, но все равно еле заметный след на гильзе остается
Матрицы лишные, карбид, ебать его в сраку
Хотелось бы с вибраниума, как минимум

Для себя решил, когда почнется, если закончатся мои припасы раньше БП, то спокойно освою модернизацию латунных гильз от гладкого, под инициатор от гвоздя
Донце гильзы, толщину увеличу тупо заливкой олова на травленую соляную кислоту. ПОС 40 вполне справится. Благо есть стаж медника и прочность паянных деталей известна
Отверстие посадочное сформирую спокойно

В детстве делали поджиги и в заглушеную трубу заливали свинец, чтоб камора была с ровным днищем. Рабочая схема
Аноним 10/04/26 Птн 15:01:19 186149 372
>>186147
>Ну дак, ты станочник и есть БАЗА
Ну каждый может стать при желании. Так то вообще я по профилю недоинженер а не станочник)) станок на котором я развлекаюсь если интересно чехословацкий tos hostivar bua16a на вторичке если поискать стоит около 100к +- 20-50к. Возможно есть варик и бесплатно ебать забрать. Общался с одним счастливчиков которому токарный 16к20 обломился. Старый кншн побитый жизнью но эт лучше чем ничего.

>Зачем ты тут тратишь время зря, среди кузмичей, у которых из точного штангель из пластика, да часовые индикаторы у единиц, а заместо токарного, два конуса упорных, с ручным приводом а-ля лук
Пропагандирую б̶л̶я̶д̶с̶т̶в̶о̶ р̶а̶з̶в̶р̶а̶т̶ к̶о̶т̶и̶к̶о̶в̶ в̶ы̶с̶о̶к̶о̶т̶о̶ч̶н̶ы̶й̶ д̶р̶о̶ч̶ и наверное что нибудь ещё. Вдруг кому то захочется. Штангель ведь не запрещают покупать как и плитки или микрометры и все остальное.
А вообще не трачу мне просто скушна пиздец. Кузьмичам хоть интересен порох капсюли всякая ебала а среднему человеку которого я знаю нихуа. Пользоваться это одно а делать другое.

>Ну такое
Ну так акуратна ибать его у рот. Вся эта опрессовка штамповка дело вообще такое. А карбид мне нравится потому что он хуево истирается прост. В этом плане лучше кремния. Если его не бить сделать с ним что то тяжело. Матрицы из него заебись единственное если пуансон стальной то стирается)) С карбида вольфрама если есть прикол лучше сердечник заебенить. А вибраниума увы пока не завезли так шо шо есть

>Донце гильзы, толщину увеличу тупо заливкой олова на травленую соляную кислоту. ПОС 40 вполне справится
Там главное что б уже пластик слабины не дал. Он пидарас тот ещё. Я пробовал делать пластиковые донца для ГИЛЬЗ с эл запалом но это такое се по надёжности. Прогорает со временем и может лопнуть. Насчет гвоздей хз не пробовал. А ты не думал если уж ебаться то впаять нахуй сразу жопу строяка? Ну если уж думать про порно. Или просто сделать ствол под те же центробои строительные?
А да единственное нарощенный патрон нормально не войдёт в патронник. Или укорачивать надо или патронник раздрачивать

>В детстве делали поджиги и в заглушеную трубу заливали свинец, чтоб камора была с ровным днищем. Рабочая схема
Да и не только в детстве чо уж. Для аналога 12 нужна труба без шва с стенкой 3 мм или больше если шовная. Жопу заварить свинца малях и сверлить
Аноним 10/04/26 Птн 17:11:56 186152 373
IMG5739.jpeg 2408Кб, 4032x3024
4032x3024
IMG5740.jpeg 2343Кб, 4032x3024
4032x3024
IMG5741.jpeg 2567Кб, 4032x3024
4032x3024
IMG5742.jpeg 2083Кб, 4032x3024
4032x3024
Короче
Вместо тысячи слов
Аноним 10/04/26 Птн 17:14:20 186153 374
IMG5743.jpeg 1945Кб, 4032x3024
4032x3024
IMG5744.jpeg 2345Кб, 4032x3024
4032x3024
IMG5745.jpeg 2818Кб, 4032x3024
4032x3024
IMG5746.jpeg 2842Кб, 4032x3024
4032x3024
Аноним 10/04/26 Птн 17:15:07 186154 375
IMG5747.jpeg 1648Кб, 4032x3024
4032x3024
IMG5748.jpeg 2751Кб, 4032x3024
4032x3024
IMG5749.jpeg 3030Кб, 4032x3024
4032x3024
Аноним 10/04/26 Птн 17:29:17 186155 376
По существу следственного эксперимента установлено
Гвозди разной длинны имеют различный состав смеси
Прошлый гвоздь был с желтым оттенком, эти покороче с серым
Общая масса вещества 0.8 грамма. Немного рассыпал на весы. Грубо говоря 0.13 грамма на гвоздь
Этот замес сгорел так же резко но оставил шнифиля, как сраный и дешевый порох
По объему выходит с шести гвоздей примерно полторы гильзы люгера
Уплотнять я его не стал, ну его нахой
Ну и по ощущениям это смесь с порохом. Инициирующее и порох. Два в одном, удобно и без пердолинга с капсюлем гильзой порохом и само собой с гвоздем
На перспективу стоит запастись, кмк
Аноним 10/04/26 Птн 19:14:00 186157 377
>>186155
>Ну и по ощущениям это смесь с порохом. Инициирующее и порох.
В Гефестах некоторых так же, я вроде бы упоминал.
Аноним 10/04/26 Птн 20:11:18 186158 378
>>186155
>Грубо говоря 0.13 грамма на гвоздь
Ну 133 мг на один если более менее конкретно. Это на 2 жевело а третий уже будет на 2/3 только (актуально и для других мощных). Если делить на десять это 13.3 мг это пол спичечной головки по весу и чуть больше трети одного цбо хотя там навеска меньше намного. Хочешь сказать я зря сомневался? Я ж не с целью обоссать или принизить просто рил сомневался и по видимому далеко не зря.
Ну и да по виду если честно какая то залупа. Как будто помимо пороха смешали ещё с цементом блять. Похоже на хуевую серебрянку с которой аммонал не рвет. Вот желтое ещё было ничего думаю. На удар/накол эта залупа хоть реагирует вообще? Только без фанатизма не кувалдой и не десять раз подряд что б точность была
Аноним 10/04/26 Птн 20:56:29 186159 379
>>186158
>Вес инициирующего (ударного) состава в капсюле «Жевело» составляет от 0,035 до 0,038 грамма
Откуда у тебя данные по весу ИВ жевела?
Пиздить кувалдой не стал, бо в планах было все сжечь
Я думаю, что там селитра, порох и серебрянка. Очень плотно было спрессовано в красном обтюраторе. Предыдущий желтый кек просто высыпался. Полагаю там смесь была с содержанием селитры серы и пороха
За полный состав не скажу, я не знаю и даже не предполагаю
Аноним 10/04/26 Птн 21:02:16 186160 380
>>186158
>На удар/накол
Ну, в собранном состоянии, как я уже говорил, монтажный пистолет бахает
В снятом состоянии, красный колпачек с зарядом ебнет на ура, это как пить дать. Ессесно, если ебануть его кувалдой. Его принцип построен на сработке от давления, которое создает тупоконечный ударник, чеб ему не ебнуть от кувалды или молотка
Аноним 10/04/26 Птн 22:01:47 186161 381
>>185159 →
>Откуда у тебя данные по весу ИВ жевела?
Видел раньше ту когда трава была зеленее. Мне коллега много разной документации присылал

>Очень плотно было спрессовано в красном обтюраторе
Ну это понятно оно должно гореть а не ебануть так что не удивительно

>Полагаю там смесь была с содержанием селитры серы и пороха
Не не сера с селитрой точно. То что желтое похуй. Очко на это не поставлю но более чем уверен. Если заводится от резкого движения после прижима молотком (на шершавом например на кирпиче или бетоне) и от легкого тюка на твердой поверхности то это тнрс с тетразеном и скорее всего ещё с чем то. Серу с селитрой как и тот же чп заебешься пиздить чувствительность примерно как у тола

>>186160
Блэ ну без фанатизма ж. Понятно что там работает но говорю без фанатизма ж НЕ кувалдой. Просто интересно было ибо в капсюлях то накол слабее. Лан мне сейчас лень искать ролики правильных тестов настоящих ивв (пусть и не капсюльных составов) а тебе думаю похуй и нахуй не всралось ебаться с тестами ради какого там хуя в интернетах. Пойму да и это правильно)) я так вообще до очень интересной истории дотестировался один раз так что похуй. Да и время позднее. Не знаю мб сам потом этой залупы куплю поанонирую как оно там на деле. Благо это не мышьяк и не ртуть обращаться куда проще
Аноним 10/04/26 Птн 22:05:30 186162 382
Блять ну все короче ошибся цифрой опять. Пора спокойной ночи нахуй. Это уже не маразм к сожалению. Не забудьте пнуть завтра про методику на дициан а то опять забуду в пизду. Ну и если интересно про термобарический гуталин то тоже
Аноним 11/04/26 Суб 22:09:02 186184 383
177575188790900[...].png 208Кб, 592x293
592x293
121.jpg 60Кб, 815x277
815x277
>>186113
Не мог не отметить совпадения.
Аноним 11/04/26 Суб 23:28:22 186185 384
>>186184
Совпадение? Не думаю (цэ)
На капче петух
Аноним 12/04/26 Вск 07:39:52 186192 385
>>186162
>ошибся
Тебя запомнят не как великого строителя мостов
Настройки X
Ответить в тред X
15000
Добавить файл/ctrl-v
Стикеры X
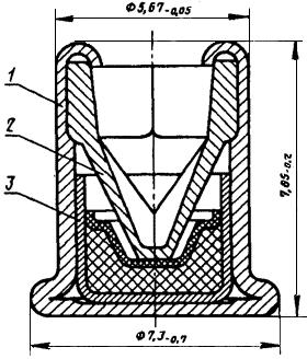
Избранное / Топ тредов